TOP
|
特許
|
意匠
|
商標
特許ウォッチ
Twitter
他の特許を見る
10個以上の画像は省略されています。
公開番号
2025164082
公報種別
公開特許公報(A)
公開日
2025-10-30
出願番号
2024067843
出願日
2024-04-18
発明の名称
車両
出願人
株式会社SUBARU
代理人
弁理士法人青海国際特許事務所
主分類
G06F
8/656 20180101AFI20251023BHJP(計算;計数)
要約
【課題】電子機器の使用を要する状況下でリプログラミングを実行する。
【解決手段】対象ユニットメモリは、対象ユニットを動作させるためのアプリケーションが記憶される第1記憶領域を有し、セントラルユニットメモリは、第1記憶領域に記憶されたアプリケーションの少なくとも一部を一時的に記憶するための第2記憶領域を有し、対象ユニットプロセッサは、第1記憶領域に記憶されたアプリケーションの少なくとも一部を、第2記憶領域に記憶させ、第1記憶領域に記憶されたアプリケーションの少なくとも一部を無効とし、通信ユニットから転送された更新用データに基づいて、第1記憶領域に更新後のアプリケーションを書き込む更新処理を実行し、セントラルユニットプロセッサは、少なくとも、更新処理の実行が開始してから終了するまでの期間において、第2記憶領域に記憶したアプリケーションにより、対象ユニットの機能の少なくとも一部を動作させる。
【選択図】図8
特許請求の範囲
【請求項1】
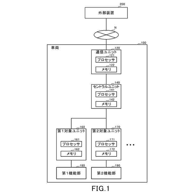
1つまたは複数の対象ユニットプロセッサと、前記対象ユニットプロセッサに接続される1つまたは複数の対象ユニットメモリと、を有し、車両に設けられる対象ユニットと、
1つまたは複数の通信ユニットプロセッサと、前記通信ユニットプロセッサに接続される1つまたは複数の通信ユニットメモリと、を有し、前記車両に設けられる通信ユニットと、
1つまたは複数のセントラルユニットプロセッサと、前記セントラルユニットプロセッサに接続される1つまたは複数のセントラルユニットメモリと、を有し、前記車両に設けられるセントラルユニットと、
を備え、
前記対象ユニットメモリは、
前記対象ユニットを動作させるためのアプリケーションが記憶される第1記憶領域を有し、
前記セントラルユニットメモリは、
前記第1記憶領域に記憶された前記アプリケーションの少なくとも一部を一時的に記憶するための第2記憶領域を有し、
前記通信ユニットプロセッサは、
前記車両の外部から無線通信により取得した更新用データを、前記セントラルユニットを介して、前記対象ユニットに転送すること、
を含む処理を実行し、
前記対象ユニットプロセッサは、
前記第1記憶領域に記憶された前記アプリケーションの少なくとも一部を、前記第2記憶領域に記憶させることと、
前記第1記憶領域に記憶された前記アプリケーションの少なくとも一部を無効とすることと、
前記通信ユニットから転送された前記更新用データに基づいて、前記第1記憶領域に更新後のアプリケーションを書き込む更新処理を実行することと、
を含む処理を実行し、
前記セントラルユニットプロセッサは、
少なくとも、前記更新処理の実行が開始してから終了するまでの期間において、前記第2記憶領域に記憶した前記アプリケーションにより、前記対象ユニットの機能の少なくとも一部を動作させること、
を含む処理を実行する車両。
続きを表示(約 450 文字)
【請求項2】
前記セントラルユニットプロセッサは、
前記第2記憶領域に記憶した前記アプリケーションにより、前記対象ユニットを介して、前記対象ユニットに接続される周辺機器を動作させることが可能であり、
前記対象ユニットプロセッサは、
前記第1記憶領域に記憶された前記アプリケーションの少なくとも一部を無効とする際に、前記対象ユニットに接続される前記周辺機器を動作させるための所定のソフトウェアを維持する、請求項1に記載の車両。
【請求項3】
1つまたは複数の検出ユニットプロセッサと、前記検出ユニットプロセッサに接続される1つまたは複数の検出ユニットメモリと、を有し、前記車両に設けられる検出ユニットを、
備え、
前記検出ユニットプロセッサは、
前記セントラルユニットプロセッサによって前記対象ユニットの機能の少なくとも一部が動作している場合に、前記対象ユニットの機能が正常に動作していると見做す、
請求項1または2に記載の車両。
発明の詳細な説明
【技術分野】
【0001】
本発明は、車両に関する。
続きを表示(約 2,000 文字)
【背景技術】
【0002】
近年、車両に設けられる各種電子機器のプログラムを更新する(以下、「リプログラミング」とも呼ぶ)技術が提案されている。
【0003】
例えば、特許文献1では、無線通信にて受信した更新用データを用いてリプログラミングを実施可能な車両が開示されている。
【先行技術文献】
【特許文献】
【0004】
特開2019-064424号公報
【発明の概要】
【発明が解決しようとする課題】
【0005】
従来、リプログラミングの実行中には、リプログラミングの対象となる電子機器を使用することができなくなるため、車両の走行中等、電子機器の使用を要する状況下で、車両の走行に関する各種電子機器のリプログラミングを実施することができないという問題があった。
【0006】
本発明は、電子機器の使用を要する状況下で当該電子機器のリプログラミングを実行可能とすることを目的としている。
【課題を解決するための手段】
【0007】
上記課題を解決するために、本発明の一実施形態に係る車両は、
1つまたは複数の対象ユニットプロセッサと、前記対象ユニットプロセッサに接続される1つまたは複数の対象ユニットメモリと、を有し、車両に設けられる対象ユニットと、
1つまたは複数の通信ユニットプロセッサと、前記通信ユニットプロセッサに接続される1つまたは複数の通信ユニットメモリと、を有し、前記車両に設けられる通信ユニットと、
1つまたは複数のセントラルユニットプロセッサと、前記セントラルユニットプロセッサに接続される1つまたは複数のセントラルユニットメモリと、を有し、前記車両に設けられるセントラルユニットと、
を備え、
前記対象ユニットメモリは、
前記対象ユニットを動作させるためのアプリケーションが記憶される第1記憶領域を有し、
前記セントラルユニットメモリは、
前記第1記憶領域に記憶された前記アプリケーションの少なくとも一部を一時的に記憶するための第2記憶領域を有し、
前記通信ユニットプロセッサは、
前記車両の外部から無線通信により取得した更新用データを、前記セントラルユニットを介して、前記対象ユニットに転送すること、
を含む処理を実行し、
前記対象ユニットプロセッサは、
前記第1記憶領域に記憶された前記アプリケーションの少なくとも一部を、前記第2記憶領域に記憶させることと、
前記第1記憶領域に記憶された前記アプリケーションの少なくとも一部を無効とすることと、
前記通信ユニットから転送された前記更新用データに基づいて、前記第1記憶領域に更新後のアプリケーションを書き込む更新処理を実行することと、
を含む処理を実行し、
前記セントラルユニットプロセッサは、
少なくとも、前記更新処理の実行が開始してから終了するまでの期間において、前記第2記憶領域に記憶した前記アプリケーションにより、前記対象ユニットの機能の少なくとも一部を動作させること、
を含む処理を実行する。
【発明の効果】
【0008】
本発明によれば、電子機器の使用を要する状況下で当該電子機器のリプログラミングを実行することが可能となる。
【図面の簡単な説明】
【0009】
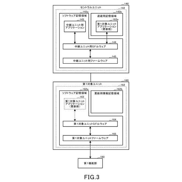
図1は、本発明の一実施形態に係る車両を説明するための機能ブロック図である。
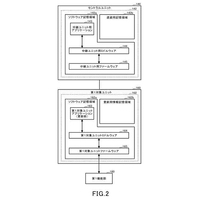
図2は、本発明の一実施形態に係る第1の概念図である。
図3は、本発明の一実施形態に係る第2の概念図である。
図4は、本発明の一実施形態に係る退避対象指定情報の一例を説明する図である。
図5は、本発明の一実施形態に係るアプリケーションにより実行される機能の一例を説明する図である。
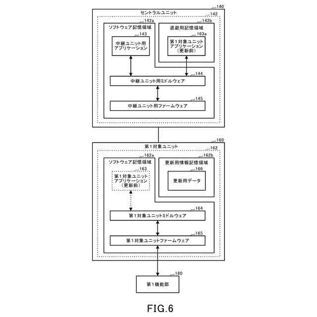
図6は、本発明の一実施形態に係る第3の概念図である。
図7は、本発明の一実施形態に係る第4の概念図である。
図8は、本発明の一実施形態に係る処理の流れを説明する第1のシーケンス図である。
図9は、本発明の一実施形態に係る処理の流れを説明する第2のシーケンス図である。
【発明を実施するための形態】
【0010】
以下に添付図面を参照しながら、本発明の実施形態について詳細に説明する。かかる実施形態に示す具体的な寸法、材料、数値等は、発明の理解を容易にするための例示に過ぎず、特に断る場合を除き、本発明を限定するものではない。なお、本明細書および図面において、実質的に同一の機能、構成を有する要素については、同一の符号を付することにより重複説明を省略し、また本発明に直接関係のない要素は図示を省略する。
(【0011】以降は省略されています)
この特許をJ-PlatPat(特許庁公式サイト)で参照する
関連特許
個人
詐欺保険
1か月前
個人
縁伊達ポイン
1か月前
個人
職業自動販売機
24日前
個人
RFタグシート
1か月前
個人
5掛けポイント
1か月前
個人
ペルソナ認証方式
1か月前
個人
QRコードの彩色
1か月前
個人
地球保全システム
2か月前
個人
自動調理装置
1か月前
個人
情報処理装置
1か月前
個人
立体グラフの利用方法
3日前
個人
残土処理システム
2か月前
個人
農作物用途分配システム
1か月前
個人
知的財産出願支援システム
2か月前
個人
サービス情報提供システム
26日前
個人
インターネットの利用構造
1か月前
個人
タッチパネル操作指代替具
1か月前
NISSHA株式会社
入力装置
4日前
個人
スケジュール調整プログラム
1か月前
個人
学習用データ生成装置
5日前
個人
携帯端末障害問合せシステム
1か月前
株式会社キーエンス
受発注システム
2か月前
個人
エリアガイドナビAIシステム
1か月前
株式会社キーエンス
受発注システム
2か月前
個人
食品レシピ生成システム
2か月前
株式会社キーエンス
受発注システム
2か月前
株式会社ワコム
電子ペン
1か月前
株式会社ワコム
電子ペン
1か月前
エッグス株式会社
情報処理装置
1か月前
キヤノン株式会社
情報処理装置
1か月前
キヤノン株式会社
表示システム
2か月前
トヨタ自動車株式会社
通知装置
1か月前
キラル株式会社
顧客体験提供システム
6日前
個人
音声・通知・再配達UX制御構造
2か月前
株式会社ケアコム
項目選択装置
1か月前
キヤノン株式会社
情報処理装置
18日前
続きを見る
他の特許を見る