TOP
|
特許
|
意匠
|
商標
特許ウォッチ
Twitter
他の特許を見る
10個以上の画像は省略されています。
公開番号
2025171294
公報種別
公開特許公報(A)
公開日
2025-11-20
出願番号
2024076477
出願日
2024-05-09
発明の名称
シフト制御装置
出願人
株式会社SUBARU
代理人
弁理士法人青海国際特許事務所
主分類
B60K
20/02 20060101AFI20251113BHJP(車両一般)
要約
【課題】シフトダウンにおける誤操作を防止しつつ、シフトレバーの操作性を向上させる。
【解決手段】シフト制御装置は、シフト操作を受け付ける操作部と、操作部が設けられた基台と、シフト操作を制限する操作制限部とを備え、変速段には、第1の変速段、第2の変速段、および第3の変速段が含まれ、基台には、第1の変速段、第2の変速段、および第3の変速段にそれぞれ対応する第1の領域、第2の領域、および第3の領域が設けられ、変速段は操作部がいずれの領域に操作されたかに応じて切り替えられ、操作制限部は、操作部が第1の領域にある場合、操作部の第2の領域および第3の領域への操作を制限せず、操作部が第2の領域にある場合、操作部の第1の領域および第3の領域への操作を制限せず、操作部が第3の領域にある場合、操作部の第2の領域への操作を制限せず、第1の領域への操作を制限する。
【選択図】図4
特許請求の範囲
【請求項1】
変速機の変速段を切り替えるドライバによるシフト操作を制御するシフト制御装置であって、
前記シフト操作を受け付ける操作部と、
前記操作部が設けられている基台と、
前記基台の面に対して平行に移動可能に設けられ、前記シフト操作を制限する操作制限部と、
を備え、
前記変速段には、第1の変速段、前記第1の変速段より変速比が小さい第2の変速段、および前記第2の変速段より変速比が小さい第3の変速段が含まれ、
前記基台には、前記第1の変速段に対応する第1の領域、前記第2の変速段に対応する第2の領域、前記第3の変速段に対応する第3の領域が設けられ、
前記変速段は、前記操作部が前記第1の領域、前記第2の領域、および前記第3の領域のいずれに操作されたかに応じて切り替えられ、
前記操作制限部は、前記操作部が前記第1の領域にある場合、前記操作部の前記第2の領域への操作、および、前記第3の領域への操作を制限せず、
前記操作制限部は、前記操作部が前記第2の領域にある場合、前記操作部の前記第1の領域への操作、および、前記第3の領域への操作を制限せず、
前記操作制限部は、前記操作部が前記第3の領域にある場合、前記操作部の前記第2の領域への操作を制限せず、前記第1の領域への操作を制限する、シフト制御装置。
続きを表示(約 610 文字)
【請求項2】
前記基台において前記第1の領域、前記第2の領域、および前記第3の領域は、車両の左右方向に各領域に対応する変速比順に設けられ、
前記操作制限部は、前記第1の領域、前記第2の領域、および前記第3の領域のうち隣り合う2つの領域に対応する第1の開口部を備える板状部材であり、
前記操作部は、前記第1の開口部を介して前記基台に挿通され、前記車両の前後方向、または、前記車両の左右方向に移動させることにより、前記操作制限部を移動可能であり、
前記操作部が前記第3の領域にある場合、前記操作制限部の移動を制限するロック機構が設けられている請求項1に記載のシフト制御装置。
【請求項3】
前記ロック機構は、
前記操作制限部に設けられ、前記車両の前後方向に窪む窪み部を有する第2の開口部と、
前記基台に設けられ、前記基台の面から前記第2の開口部に挿通可能な突出部と、
を備え、
前記操作部が前記第3の領域にある場合、前記窪み部に前記突出部が位置することによって前記操作制限部の左右方向の移動を制限する請求項2に記載のシフト制御装置。
【請求項4】
前記操作部が前記第3の領域から前記第2の領域に操作された場合、前記突出部が前記窪み部から外れることによって、前記操作制限部の左右方向の移動の制限を解除する請求項3に記載のシフト制御装置。
発明の詳細な説明
【技術分野】
【0001】
本発明は、車両に用いられるシフト制御装置に関する。
続きを表示(約 2,200 文字)
【背景技術】
【0002】
車両用の手動変速機は、変速比の異なる多段の変速段を有する。変速比の大きい方から順に1速~6速の変速段を有する手動変速機の場合、ドライバはエンジンの回転数や車速に応じて、例えば、1速から2速に切り替えるシフト操作(シフトアップ)、または、5速から4速に切り替えるシフト操作(シフトダウン)によって変速を行う。
【0003】
ところで、ドライバによるシフト操作は、車室内の配置されるシフトレバーを所望の速段に対応するシフト位置に移動させることによって行われる。例えば、1速から6速の各々に対応するシフト位置は、奇数速段が車両の左方向から右方向に向かって昇順で配置され、その奇数速段の車両の後方側に偶数速段が車両の左方向から右方向に向かって昇順で配置される、所謂、Hパターンとなる場合がある。そのため、5速から4速へのシフトダウンの際に誤って、同後方に配置された2速へシフトダウンしてしまう等の誤操作が生じることがある。ドライバの意図しない速段への変速は、エンジンに過大な負荷を与え、破損するおそれがある。
【0004】
そこで、特許文献1に記載の技術では、2速に対応するシフト位置にプレートを設けることによってシフトレバーが5速のシフト位置から2速のシフト位置に移動されないようにして、5速から2速への変速を防いでいる。
【先行技術文献】
【特許文献】
【0005】
特開2010-185536号公報
【発明の概要】
【発明が解決しようとする課題】
【0006】
上述した特許文献1に記載の技術では、ドライバは、シフトレバーが2速に対応するシフト位置のプレートに接触することでシフト操作の誤りに気付く。かかる技術では、プレートに接触した時点で、シフトレバーが4速のシフト位置を通過しているので、シフトレバーを5速のシフト位置方向に戻しつつ、再度4速のシフト位置に移動させる必要があり、ドライバはこのシフト操作に煩わしさを感じることがある。
【0007】
そこで、本発明は、シフトダウンにおける誤操作を防止しつつ、シフトレバーの操作性を向上させることが可能なシフト制御装置を提供することを目的とする。
【課題を解決するための手段】
【0008】
上記課題を解決するために、本発明の一実施形態に係るシフト制御装置は、変速機の変速段を切り替えるドライバによるシフト操作を制御する装置であって、
前記シフト操作を受け付ける操作部と、
前記操作部が設けられている基台と、
前記基台の面に対して平行に移動可能に設けられ、前記シフト操作を制限する操作制限部と、
を備え、
前記変速段には、第1の変速段、前記第1の変速段より変速比が小さい第2の変速段、および前記第2の変速段より変速比が小さい第3の変速段が含まれ、
前記基台には、前記第1の変速段に対応する第1の領域、前記第2の変速段に対応する第2の領域、前記第3の変速段に対応する第3の領域が設けられ、
前記変速段は、前記操作部が前記第1の領域、前記第2の領域、および前記第3の領域のいずれに操作されたかに応じて切り替えられ、
前記操作制限部は、前記操作部が前記第1の領域にある場合、前記操作部の前記第2の領域への操作、および、前記第3の領域への操作を制限せず、
前記操作制限部は、前記操作部が前記第2の領域にある場合、前記操作部の前記第1の領域への操作、および、前記第3の領域への操作を制限せず、
前記操作制限部は、前記操作部が前記第3の領域にある場合、前記操作部の前記第2の領域への操作を制限せず、前記第1の領域への操作を制限する。
【発明の効果】
【0009】
本発明によれば、シフトダウンにおける誤操作を防止しつつ、シフトレバーの操作性を向上させることが可能となる。
【図面の簡単な説明】
【0010】
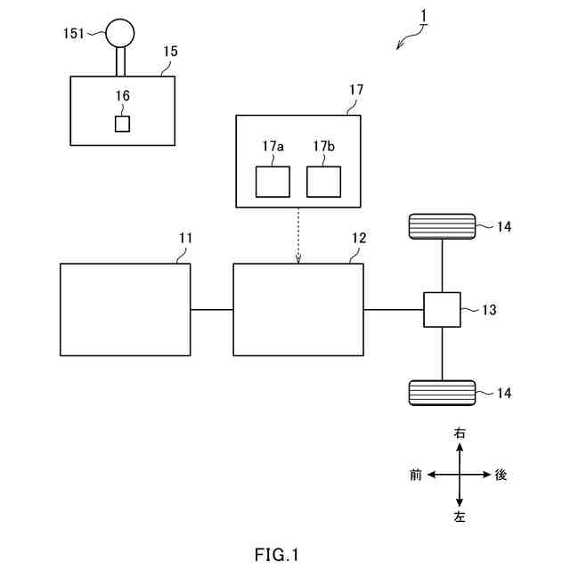
本発明の実施形態に係る車両の概略構成を示す模式図である。
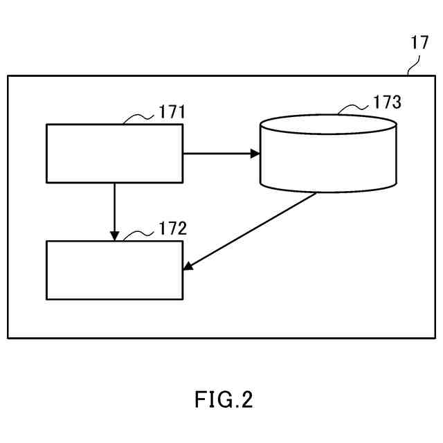
本発明の実施形態に係るECUの機能構成の一例を示すブロック図である。
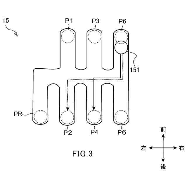
本発明の実施形態に係るシフト制御装置のシフトポジションの一例を示す模式図である。
本発明の実施形態に係るシフト制御装置の構成を示す模式図である。特に図4Aは、本実施形態に係るシフト制御装置の正面図である。図4Bは、本実施形態に係るシフト制御装置の平面図である。
本発明の実施形態に係るシフト制御装置における操作制限部の構成を示す模式図である。
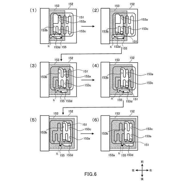
本発明の実施形態に係るシフト制御装置におけるシフトポジションおよび操作制限部の遷移を示す図である。
本発明の実施形態に係るシフト制御装置におけるシフトポジションおよび操作制限部の遷移を示す図である。
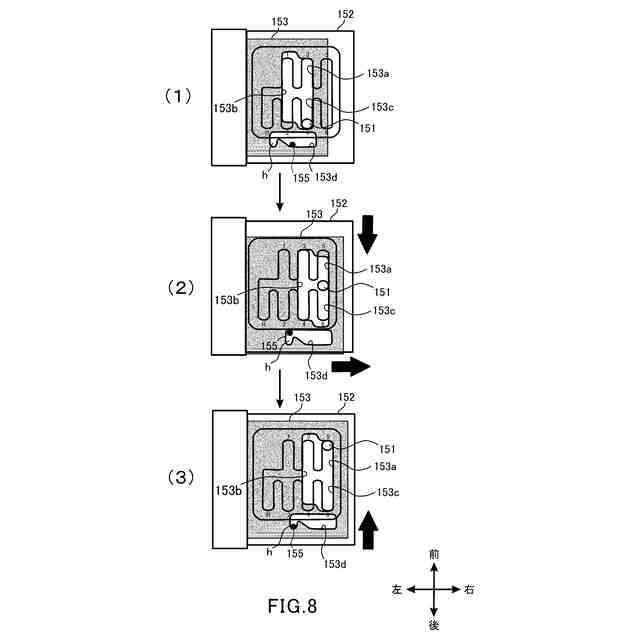
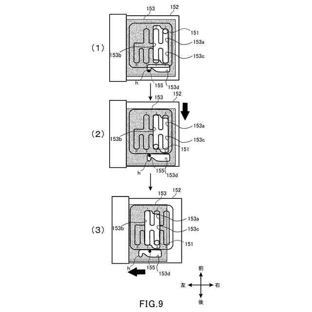
本発明の実施形態に係るシフト制御装置における操作制限部のロック機構を示す図である。
本発明の実施形態に係るシフト制御装置における操作制限部のロック機構を示す図である。
【発明を実施するための形態】
(【0011】以降は省略されています)
この特許をJ-PlatPat(特許庁公式サイト)で参照する
関連特許
個人
カーテント
5か月前
個人
タイヤレバー
3か月前
個人
前輪キャスター
3か月前
個人
上部一体型自動車
1か月前
個人
車輪清掃装置
6か月前
個人
タイヤ脱落防止構造
3か月前
個人
ルーフ付きトライク
3か月前
個人
空間形成装置
27日前
個人
ホイルのボルト締結
4か月前
個人
マスタシリンダ
2か月前
個人
車両通過構造物
4か月前
井関農機株式会社
作業車両
5か月前
日本精機株式会社
表示装置
3か月前
日本精機株式会社
照明装置
22日前
日本精機株式会社
表示装置
3か月前
井関農機株式会社
作業車両
5か月前
個人
キャンピングトライク
5か月前
日本精機株式会社
表示装置
3か月前
日本精機株式会社
表示装置
3か月前
個人
常設収納型サンバイザー
1か月前
個人
アクセルのソフトウェア
5か月前
個人
乗合路線バスの客室装置
4か月前
個人
キャンピングトレーラー
5か月前
個人
車両用スリップ防止装置
5か月前
株式会社豊田自動織機
産業車両
22日前
日本精機株式会社
車載表示装置
1か月前
個人
円湾曲ホイール及び球体輪
4か月前
日本精機株式会社
画像投映装置
1か月前
株式会社豊田自動織機
産業車両
3か月前
日本精機株式会社
車載表示装置
4か月前
日本精機株式会社
車載表示装置
28日前
株式会社ニフコ
収納装置
2か月前
日本精機株式会社
車載表示装置
2か月前
日本精機株式会社
車載表示装置
1か月前
日本精機株式会社
車室演出装置
3か月前
株式会社ニフコ
保持装置
4か月前
続きを見る
他の特許を見る