TOP
|
特許
|
意匠
|
商標
特許ウォッチ
Twitter
他の特許を見る
公開番号
2025171128
公報種別
公開特許公報(A)
公開日
2025-11-20
出願番号
2024076143
出願日
2024-05-08
発明の名称
車両用電池パック
出願人
株式会社SUBARU
代理人
インフォート弁理士法人
主分類
B60K
1/04 20190101AFI20251113BHJP(車両一般)
要約
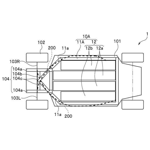
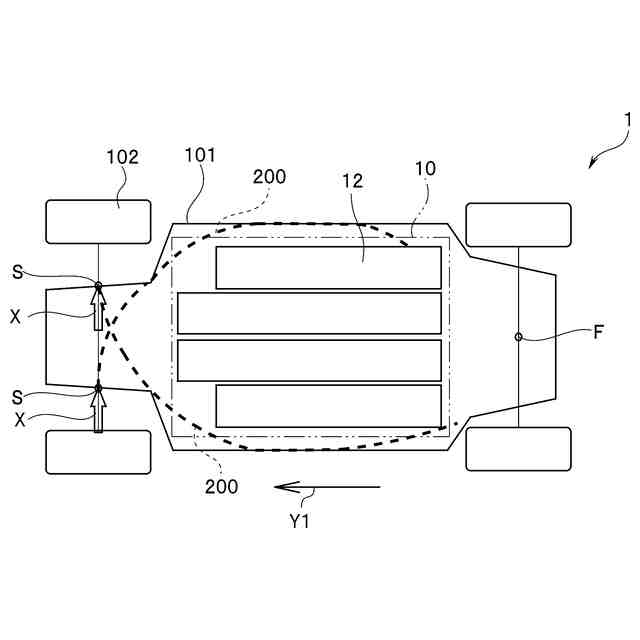
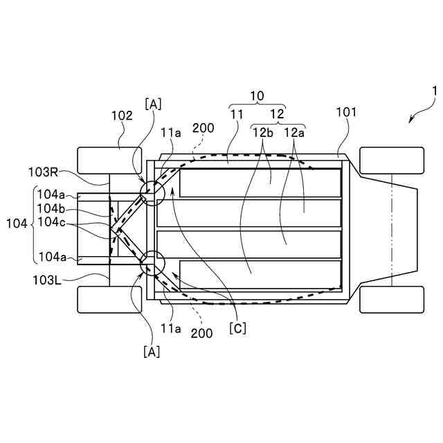
【課題】サスペンション等から入力される荷重伝達経路を考慮して電池パックの構造を工夫し車両の操縦安定性の向上に寄与し得る構造を備えた車両用電池パックを提供する。
【解決手段】内部に複数のバッテリを収納した状態で車載される車両用電池パックであって、車両のサブフレームの後方に接続される枠部材を含むバッテリケースと、剛性を有しバッテリケースの一部位に一体に接続される補剛部材とを備え、補剛部材はサブフレームと枠部材との接続部位から枠部材の後方かつ側方に向けて斜めに延出し、各端部が枠部材に接続されて配設されている。
【選択図】図3
特許請求の範囲
【請求項1】
内部に複数のバッテリを収納した状態で車載される車両用電池パックであって、
車両のサブフレームの後方に接続される枠部材を含むバッテリケースと、
剛性を有し前記バッテリケースの一部位に一体に接続される補剛部材と、
を備え、
前記補剛部材は、前記サブフレームと前記枠部材との接続部位から前記枠部材の後方かつ側方に向けて斜めに延出し、各端部が前記枠部材に接続されて配設されている
ことを特徴とする車両用電池パック。
続きを表示(約 530 文字)
【請求項2】
前記補剛部材は、閉断面形状を有することを特徴とする請求項1に記載の車両用電池パック。
【請求項3】
前記補剛部材を配設しない異なる仕様とした場合は、前記バッテリケースに大容量バッテリが収納されることを特徴とする請求項1に記載の車両用電池パック。
【請求項4】
前記補剛部材は、前記枠部材の一部を構成することを特徴とする請求項1に記載の車両用電池パック。
【請求項5】
前記複数のバッテリのそれぞれは、車両の前後方向に長辺を有する形状からなり、前記車両の中央領域に配置される第1バッテリは、前記車両の両サイドに配置される第2バッテリよりも長辺が長く形成されており、
前記複数のバッテリのそれぞれは、前記バッテリケースの内部において前記車両の横方向に並べて収納され、
前記補剛部材の基端から前記車両の横方向に延出し、前記第2バッテリの前側端に平行に配置される第2補剛部材と、
前記サブフレームと前記枠部材との接続部位から前記車両の後方に延出し、前記第1バッテリの長辺に沿って配置される第3補剛部材と、
をさらに具備することを特徴とする請求項1に記載の車両用電池パック。
発明の詳細な説明
【技術分野】
【0001】
この発明は、バッテリ式電気自動車等に用いられる車両用電池パックの構造に関する発明である。
続きを表示(約 1,400 文字)
【背景技術】
【0002】
近年、自動車等の車両に搭載される電動機を、電池パックに充電済みの電気エネルギーのみを用いて駆動して走行をおこなう電池式電気自動車(Battery Electric Vehicle;BEV)或いはバッテリ式電気自動車などと呼ばれる電気自動車(以下、単に電気自動車と略記する)が種々実用化されており、広く一般に普及しつつある。
【0003】
この種の電気自動車では、従来の車両における重量物である発動機(例えば内燃機関(Internal-combustion engine;ICE等))の搭載が不要となる代わりに、当該発動機よりもさらに2倍から3倍の重量を有する電池パックを搭載する必要がある。
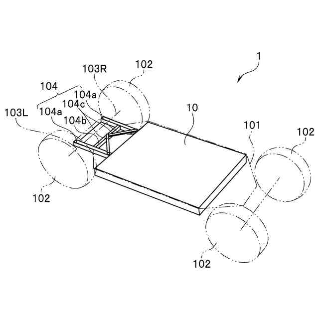
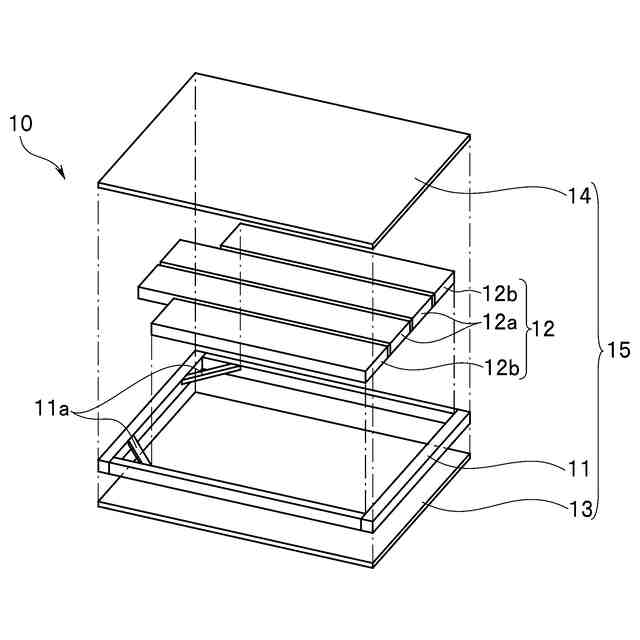
【0004】
従来の電気自動車に適用される電池パックは、例えば、複数の電池セルから成る電池ブロック(バッテリ)と、複数の電池ブロック(バッテリ)を並べて収納するバッテリケースとからなる。そして、この電池パックは、例えば、車両の車室床下部分に配置されているのが一般である。
【0005】
ところで、車両を走行させる際の良好な操縦安定性を確保するためには、例えば、車両に搭載されている重量物(発動機又は電動機等)が車両の挙動に迅速に追従することが好ましいことがわかっている。
【0006】
そこで、従来の電気自動車等においては、例えば、サスペンション等から入力される荷重が、車体における各種構造物等を通して電池パック或いはバッテリケースにまで伝達する経路を考慮して、車体或いは電池パック,バッテリケースの剛性を向上させる構成についての工夫が、例えば特許第7107139号公報,特許出願公表第2023-522474号公報等によって種々提案されている。しかしながら、サスペンション等から入力される荷重の伝達経路が長くなると、車両の挙動に対する重量物の追従は遅延する傾向がある。
【0007】
そこで、従来、例えば米国特許US10559795号公報等によって開示されているバッテリパックにおいては、クロスメンバとサイドレールとの間にブレースを設けて荷重伝達経路を形成することにより、サスペンション等から入力される荷重をバッテリケースへと直接伝達する構成が提案されている。
【先行技術文献】
【特許文献】
【0008】
特許第7107139号公報
特許出願公表第2023-522474号公報
米国特許US10559795号公報
【発明の概要】
【発明が解決しようとする課題】
【0009】
ところが、上記米国特許US10559795号公報等によって開示されている技術は、クロスメンバとバッテリパックとの間の衝撃を抑制することはできるが、充分ではなく、さらなる向上の余地があると考えられる。
【0010】
特に、電気自動車の場合、発動機に比べて2倍から3倍のバッテリ重量が床下に集中して配置されることが多い。この場合において、バッテリ重量は、車両全体重量の4分の1程度を占めるものが多くある。そのため、サスペンション等から入力される荷重伝達経路を適切に設定することは、車両の操縦安定性の向上に大きな影響を及ぼす可能性がある。
(【0011】以降は省略されています)
この特許をJ-PlatPat(特許庁公式サイト)で参照する
関連特許
株式会社SUBARU
車両
1か月前
株式会社SUBARU
車両
1か月前
株式会社SUBARU
車両
1か月前
株式会社SUBARU
車両
27日前
株式会社SUBARU
車両用シート
6日前
株式会社SUBARU
車両前部構造
21日前
株式会社SUBARU
車両用シート
6日前
株式会社SUBARU
車体前部構造
1か月前
株式会社SUBARU
車体前部構造
1か月前
株式会社SUBARU
車体前部構造
1か月前
株式会社SUBARU
整流システム
1か月前
株式会社SUBARU
車両用シート
6日前
株式会社SUBARU
運転支援装置
27日前
株式会社SUBARU
車両前部構造
21日前
株式会社SUBARU
車両前部構造
21日前
株式会社SUBARU
車体前部構造
1か月前
株式会社SUBARU
車両前部構造
21日前
株式会社SUBARU
操作システム
19日前
株式会社SUBARU
車体前部構造
20日前
株式会社SUBARU
車体前部構造
20日前
株式会社SUBARU
シフト制御装置
6日前
株式会社SUBARU
電動式全輪駆動車
1か月前
株式会社SUBARU
エンジン制御装置
19日前
株式会社SUBARU
車両用電池パック
6日前
株式会社SUBARU
事故情報収集装置
1か月前
株式会社SUBARU
姿勢推定システム
1か月前
株式会社SUBARU
車両用周辺監視装置
1か月前
株式会社SUBARU
ドアロック制御装置
20日前
株式会社SUBARU
車両の降車補助装置
1か月前
株式会社SUBARU
電波吸収体の製造方法
12日前
株式会社SUBARU
運転支援装置および車両
1か月前
株式会社SUBARU
インフレータブル構造体
6日前
株式会社SUBARU
運転支援装置および車両
1か月前
株式会社SUBARU
車体構造部材の結合構造
1か月前
株式会社SUBARU
運転支援装置および車両
1か月前
株式会社SUBARU
車両の車高自動調整装置
1か月前
続きを見る
他の特許を見る