TOP
|
特許
|
意匠
|
商標
特許ウォッチ
Twitter
他の特許を見る
公開番号
2025160837
公報種別
公開特許公報(A)
公開日
2025-10-23
出願番号
2024063664
出願日
2024-04-10
発明の名称
車体前部構造
出願人
株式会社SUBARU
代理人
個人
主分類
B60R
21/38 20110101AFI20251016BHJP(車両一般)
要約
【課題】車両前側から歩行者等との衝突が発生したときに、歩行者等への負担を軽減させる。
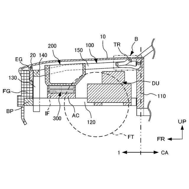
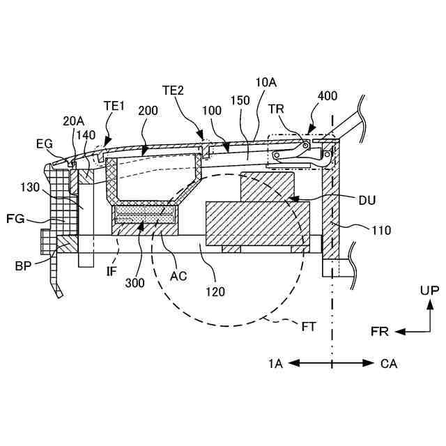
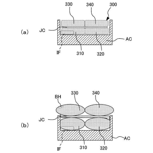
【解決手段】車両Vにおけるフロントフード部10と、フレーム部100と、フレーム部100に載置されているフロントトランク部200と、フロントトランク部200の車両下側に配設されているフロントエアバッグ300と、フロントエアバッグ300にガスを供給するインフレータIFと、フロントフード部10を車両上下方向に開閉させるとともに車両上下方向および車両前後方向に移動可能とするフロントフード開閉部400と、を備え、フロントエアバッグ300には、第1気室310と、第2気室320と、第2気室320と第3気室330とを連通させている接合気室JCと、ベントホールBHが設けられ、第1気室310の車両上側に配設されている第3気室330と、第2気室320の車両上側に配設されている第4気室340と、を含んで設けられている。
【選択図】図2
特許請求の範囲
【請求項1】
車両におけるキャビンの車両前側に車幅方向を向いた開閉軸が設けられているフロントフード部と、
車体前部構造の骨格をなし、前記フロントフード部の車両下側に設けられているフレーム部と、
前記フロントフード部の車両下側に設けられ、車両下側面が前記フレーム部に載置されているフロントトランク部と、
前記フロントトランク部の車両下側かつ前記フロントトランク部と前記フレーム部との間に配設され、前記車両に衝突が発生したときに、前記フロントトランク部の車両下側に膨張展開するフロントエアバッグと、
前記車両に衝突が発生したときに、前記フロントエアバッグにガスを供給するインフレータと、
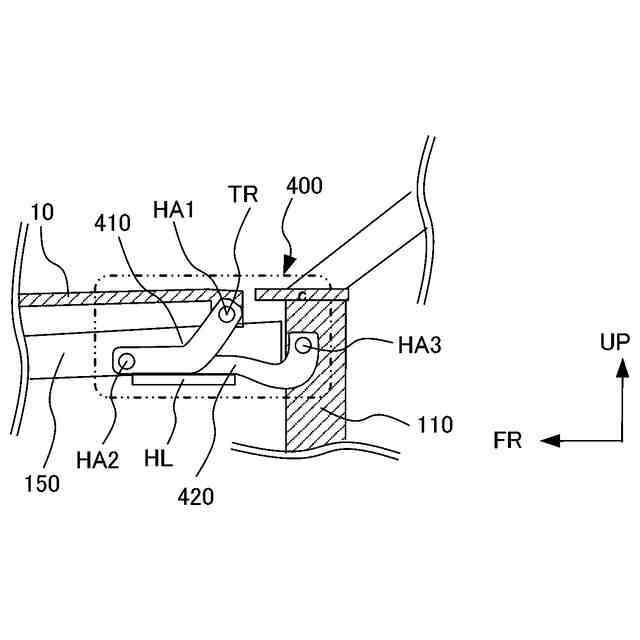
前記フロントフード部を車両上下方向に開閉させるとともに、前記フロントフード部を車両上下方向および車両前後方向に移動可能とするフロントフード開閉部と、
を備え、
前記フロントエアバッグには、少なくとも、
前記インフレータからガスが供給される第1の気室と、
前記第1の気室の車両後側に気室を連通させて結合している第2の気室と、
前記第2の気室の車両上部後側に気室を連通させて結合し、前記第1の気室と前記第2の気室の車両上側に車両後側から車両前側に向かって設けられている接合気室と、
前記接合気室の車両上部前側に気室を連通させて結合し、車両上側には内部のガスを外部へ放出するベントホールが設けられ、前記第1の気室の車両上側に配設されている第3の気室と、
前記第3の気室の車両後側に気室を連通させて結合し、前記第2の気室の車両上側に配設されている第4の気室と、
を含んで設けられていることを特徴とする車体前部構造。
続きを表示(約 260 文字)
【請求項2】
前記フロントフード部が閉じられているときには、前記フロントフード部に設けられたフロントフード固定部と係合され、前記フロントエアバッグが膨張展開したときには、前記フロントフード固定部との係合が解除されるロック部が設けられていることを特徴とする請求項1に記載の車体前部構造。
【請求項3】
前記フロントフード部の車両下側面に、前記フロントエアバッグが膨張展開したときに前記フロントトランク部の車両上側と係合するフロントトランク係合部が設けられていることを特徴とする請求項2に記載の車体前部構造。
発明の詳細な説明
【技術分野】
【0001】
本発明は、車体前部構造に関する。
続きを表示(約 1,900 文字)
【背景技術】
【0002】
近年、電気自動車の普及が進み、前輪を駆動するパワーユニットの小型化にともなって、車両前部におけるフロントフードの車両下側にフロントトランクが装着されている場合がある。このとき、フロントトランクは、フロントフードの車両前側において、フロントフードの直下に設けられる場合がある。
【0003】
一方、車両前側において歩行者あるいは自転車乗員(以下、歩行者等と記載)と衝突が発生したときに、歩行者等は、フロントフードの車両上側に倒れ込む場合がある。
そのため、フロントフードに歩行者等が倒れ込んだときに、フロントフードから歩行者等へ与える衝撃を緩和させる必要がある。
【0004】
上記に記載の課題に対応する技術として、フロントフードにおける後部移動機構は、車体前部に設けられたフロントフードの後端部がヒンジで車体側に開閉可能に支持され、フロントフードがアクチュエータによって持ち上げられる。ヒンジに備えるアッパーヒンジに回転可能にポップアップリンクの後端部が連結され、ポップアップリンクの前端部に回転可能にフードが連結され、アクチュエータは、アッパーヒンジとフードとに渡されているフードポップアップ構造に関する技術が開示されている(例えば、特許文献1参照)。
【先行技術文献】
【特許文献】
【0005】
特開2020-147074号公報
【発明の概要】
【発明が解決しようとする課題】
【0006】
特許文献1に記載の技術におけるフードポップアップ構造は、車両が歩行者等と衝突した際にフードの後端側を持ち上げて衝突体をフードで受け止めることによって、歩行者等への衝撃を緩和させている。
【0007】
しかしながら、上記技術においては、フロントフードの車両下側にフロントトランクが設けられている場合の考慮がされていないため、フロントフードの車両上側に歩行者等が倒れ込んだときに、歩行者等が、フロントフードを介してフロントトランクの影響を受ける虞がある。さらに、持ち上げられたフロントフードの車両前側端部が歩行者等に干渉する虞があるという課題があった。
【0008】
そこで、本発明は上述の課題に鑑みてなされたものであり、車両前側から歩行者等との衝突が発生したときに、歩行者等への負担を軽減させる車体前部構造を提供することを目的とする。
【課題を解決するための手段】
【0009】
本発明の1またはそれ以上の実施形態は、車両におけるキャビンの車両前側に車幅方向を向いた開閉軸が設けられているフロントフード部と、車体前部構造の骨格をなし、前記フロントフード部の車両下側に設けられているフレーム部と前記フロントフード部の車両下側に設けられ、車両下側面が前記フレーム部に載置されているフロントトランク部と、前記フロントトランク部の車両下側かつ前記フロントトランク部と前記フレーム部との間に配設され、前記車両に衝突が発生したときに、前記フロントトランク部の車両下側に膨張展開するフロントエアバッグと、前記車両に衝突が発生したときに、前記フロントエアバッグにガスを供給するインフレータと、前記フロントフード部を車両上下方向に開閉させるとともに、前記フロントフード部を車両上下方向および車両前後方向に移動可能とするフロントフード開閉部と、を備え、前記フロントエアバッグには、少なくとも、前記インフレータからガスが供給される第1の気室と、前記第1の気室の車両後側に気室を連通させて結合している第2の気室と、前記第2の気室の車両上部後側に気室を連通させて結合し、前記第1の気室と前記第2の気室の車両上側に車両後側から車両前側に向かって設けられている接合気室と、前記接合気室の車両上部前側に気室を連通させて結合し、車両上側には内部のガスを外部へ放出するベントホールが設けられ、前記第1の気室の車両上側に配設されている第3の気室と、前記第3の気室の車両後側に気室を連通させて結合し、前記第2の気室の車両上側に配設されている第4の気室と、を含んで設けられている車体前部構造を提案している。
【発明の効果】
【0010】
本発明の1またはそれ以上の実施形態によれば、車両前側から歩行者等との衝突が発生したときに、歩行者等への負担を軽減させることができる。
【図面の簡単な説明】
(【0011】以降は省略されています)
この特許をJ-PlatPat(特許庁公式サイト)で参照する
関連特許
株式会社SUBARU
車両
13日前
株式会社SUBARU
車両
12日前
株式会社SUBARU
車両
12日前
株式会社SUBARU
弁装置
5日前
株式会社SUBARU
排気浄化装置
12日前
株式会社SUBARU
車両用シート
20日前
株式会社SUBARU
車両用シート
20日前
株式会社SUBARU
操舵支援装置
13日前
株式会社SUBARU
加湿システム
12日前
株式会社SUBARU
車両用シート
20日前
株式会社SUBARU
車両前部構造
5日前
株式会社SUBARU
情報処理装置
5日前
株式会社SUBARU
操作システム
1か月前
株式会社SUBARU
車両前部構造
5日前
株式会社SUBARU
インシュレータ
5日前
株式会社SUBARU
シフト制御装置
20日前
株式会社SUBARU
エンジン制御装置
1か月前
株式会社SUBARU
車両用電池パック
20日前
株式会社SUBARU
エンジン制御装置
1日前
株式会社SUBARU
液体封入式マウント
6日前
株式会社SUBARU
ドアロックシステム
12日前
株式会社SUBARU
車両用空力制御装置
13日前
株式会社SUBARU
電極チップ導入用治具
12日前
株式会社SUBARU
スタビライザブッシュ
6日前
株式会社SUBARU
電波吸収体の製造方法
26日前
株式会社SUBARU
車両用エアバッグ装置
12日前
株式会社SUBARU
車両用高圧燃料配管装置
12日前
株式会社SUBARU
車両用高圧燃料配管構造
20日前
株式会社SUBARU
インフレータブル構造体
20日前
株式会社SUBARU
運転技能評価装置及び車両
5日前
株式会社SUBARU
異常特定支援装置、学習方法
今日
株式会社SUBARU
車両のフランク用のモジュール
5日前
株式会社SUBARU
フロントピラートリムの取付構造
26日前
株式会社SUBARU
車両用路面センサユニットの洗浄装置
12日前
株式会社SUBARU
燃料電池車および燃料電池劣化分析装置
13日前
株式会社SUBARU
トレーラヒッチを備えた車両の車体後部構造
5日前
続きを見る
他の特許を見る