TOP
|
特許
|
意匠
|
商標
特許ウォッチ
Twitter
他の特許を見る
公開番号
2025165788
公報種別
公開特許公報(A)
公開日
2025-11-05
出願番号
2024070120
出願日
2024-04-23
発明の名称
車両前部構造
出願人
株式会社SUBARU
代理人
個人
主分類
B62D
25/08 20060101AFI20251028BHJP(鉄道以外の路面車両)
要約
【課題】車両前部の剛性を高くしつつ衝突性能を確保する。
【解決手段】車両Vでは、車幅方向に延在された第1クロスメンバ30が、左右一対のフロントサイドフレーム10の上側に配置されると共に、ガセット51A、51Bを介してフロントサイドフレーム10に架け渡されている。これにより、車両Vの前部の剛性を高くすることができる。また、ガセット51A、51Bの前端部のフランジ部56が、第1クロスメンバ30よりも前側へ突出している。これにより、前面衝突時には、後側への衝突荷重がフランジ部56に入力されて、ガセット51A、51Bが、フロントサイドフレーム10に対して捲れるように変形して、ガセット51A、51Bとフロントサイドフレーム10との接合部が前側から順に破断する。よって、前面衝突時におけるフロントサイドフレーム10の圧縮変形を第1クロスメンバ30が阻害することを抑制できる。
【選択図】図1
特許請求の範囲
【請求項1】
車両の前部の車幅方向両側において車両前後方向に延在された一対のフロントサイドフレームと、
前記フロントサイドフレームの車両上側において車幅方向に延在されクロスメンバと、
前記フロントサイドフレームと前記クロスメンバとの間に設けられたガセットと、
を備え、
前記フロントサイドフレーム、前記クロスメンバ、及び前記ガセットを接合する複数の接合部が車両前後方向に並んで配置されており、
前記ガセットの前端部が、前記クロスメンバよりも車両前側へ突出している車両前部構造。
続きを表示(約 550 文字)
【請求項2】
前記ガセットは、
前記フロントサイドフレームと前記クロスメンバとの間に配置された上壁と、
前記フロントサイドフレームの側面に隣接配置された側壁と、
を有しており、
前記ガセットは、前記フロントサイドフレームの車両上側の角部に沿って車両前後方向に延在されている請求項1に記載の車両前部構造。
【請求項3】
前記ガセットの前端部には、フランジ部が形成されており、車両前側から見て、前記フランジ部が、前記上壁及び前記側壁の前端部において前記フロントサイドフレームとは反対側へ屈曲されている請求項2に記載の車両前部構造。
【請求項4】
前記クロスメンバの長手方向両端部には、内側連結部と外側連結部が設けられており、
前記内側連結部は、前記フロントサイドフレームの車幅方向内側において、前記クロスメンバから車両下側へ延出され、前記外側連結部は、前記フロントサイドフレームの車幅方向外側において、前記クロスメンバから車両下側に延出されており、
前記内側連結部の下端部及び前記外側連結部の下端部が、前記フロントサイドフレームの車両下側に配置されたサブフレームに連結されている請求項3に記載の車両前部構造。
発明の詳細な説明
【技術分野】
【0001】
本発明は、車両前部構造に関するものである。
続きを表示(約 1,900 文字)
【背景技術】
【0002】
下記特許文献1の車両前部構造では、車幅方向に延在されたクロスメンバが、左右一対のフロントサイドメンバの前端部に架け渡されている。これにより、車両前部の剛性をクロスメンバによって高くすることができる。また、クロスメンバは、フロントサイドメンバの車幅方向内側に位置しており、クロスメンバの長手方向両端部がフロントサイドメンバの側面に接合されている。このため、フロントサイドメンバの前端部がクロスメンバによって車幅方向内側から支持されている。これにより、衝突体がフロントサイドフレームの車幅方向外側に衝突するスモールラップ衝突では、クロスメンバがフロントサイドメンバを車幅方向内側から支持するため、フロントサイドメンバの折れ曲がりを抑制することができる。
【先行技術文献】
【特許文献】
【0003】
特開2020-44911号公報
【発明の概要】
【発明が解決しようとする課題】
【0004】
しかしながら、上記車両用前部構造では、以下に示す点において改善の余地がある。すなわち、上記車両前部構造では、上述のように、クロスメンバがフロントサイドメンバの前端部に結合されている。このため、車両の前面衝突時におけるフロントサイドメンバの前端部の圧縮変形をクロスメンバが阻害する可能性がある。換言すると、車両の正面衝突時に、フロントサイドメンバにおけるクロスメンバと結合された部分が、良好に圧縮変形しない可能性がある。この場合には、フロントサイドメンバによる衝突エネルギー吸収性能が低下する虞がある。
【0005】
本発明は、上記事実を考慮して、車両前部の剛性を高くしつつ衝突性能を確保することができる車両前部構造を提供することを目的とする。
【課題を解決するための手段】
【0006】
本発明の1又はそれ以上の実施形態は、車両の前部の車幅方向両側において車両前後方向に延在された一対のフロントサイドフレームと、前記フロントサイドフレームの車両上側において車幅方向に延在されクロスメンバと、前記フロントサイドフレームと前記クロスメンバとの間に設けられたガセットと、を備え、前記フロントサイドフレーム、前記クロスメンバ、及び前記ガセットを接合する複数の接合部が車両前後方向に並んで配置されており、前記ガセットの前端部が、前記クロスメンバよりも車両前側へ突出している車両前部構造である。
【発明の効果】
【0007】
本発明の1又はそれ以上の実施形態によれば、車両前部の剛性を高くしつつ衝突性能を確保することができる。
【図面の簡単な説明】
【0008】
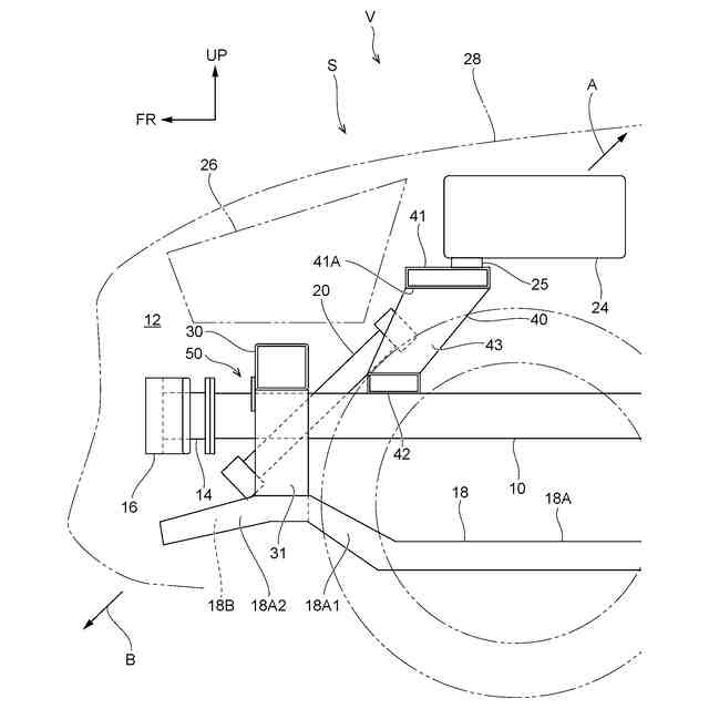
本実施の形態に係る車両前部構造が適用された車両の前部を模式的に示す上側から見た平面図である。
図1に示される車両の前部の車両左側から見た側面図である。
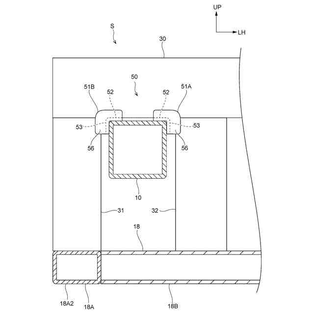
図1に示される右側のフロントサイドフレームと第1クロスメンバとの連結状態を示す前側から見た断面図(図1の3-3線断面図)である。
図3に示されるガセット機構を示す左斜め前方から見た斜視図である。
車両の前面衝突時におけるラジエータコアの挙動を説明するための側面図である。
図5に示される衝突体がさらに後方側に侵入したときのラジエータコアの挙動を説明するための側面図である。
【発明を実施するための形態】
【0009】
以下、図面を用いて、本実施の形態に係る車両前部構造Sが適用された車両(自動車)Vについて説明する。なお、図面では、車両Vの車両前側を矢印FRで示し、車両上側を矢印UPで示し、車両上側から見たときの車両左側(車幅方向一方側)を矢印LHで示している。また、以下の説明において、上下、前後、左右の方向を用いて説明するときには、特に断りのない限り、車両上下方向、車両前後方向、車両左右方向を示すものとする。
【0010】
図1及び図2に示されるように、車両前部構造Sは、車両Vの前部に適用されている。車両前部構造Sは、左右一対のフロントサイドフレーム10と、バンパビーム16と、サブフレーム18と、ラジエータコア20と、を含んで構成されている。また、車両前部構造Sは、クロスメンバとしての第1クロスメンバ30と、第2クロスメンバ40と、を有している。さらに、車両前部構造Sは、ガセット機構50を有しており、ガセット機構50を用いてフロントサイドフレーム10及び第1クロスメンバ30が連結されている。以下、車両前部構造Sの各構成について説明する。
(【0011】以降は省略されています)
この特許をJ-PlatPat(特許庁公式サイト)で参照する
関連特許
株式会社SUBARU
車両用エアバッグ装置
2日前
個人
カート
4か月前
個人
走行装置
5か月前
個人
台車
10日前
個人
三輪バイク
1か月前
個人
電動走行車両
5か月前
個人
乗り物
6か月前
個人
電動モビリティ
9か月前
個人
閂式ハンドル錠
5か月前
個人
発音装置
8か月前
個人
折り畳み自転車
12か月前
個人
駐輪設備
2か月前
個人
自転車用歩数計
1か月前
個人
ボギー・フレーム
3か月前
個人
ルーフ付きトライク
4か月前
個人
ルーフ付きトライク
3か月前
個人
“zen-go.”
4か月前
個人
三輪電動車両
1か月前
個人
自由方向乗車自転車
9か月前
個人
パワーアシスト自転車
3か月前
個人
車の室内高温防止屋根
24日前
井関農機株式会社
作業車両
1か月前
個人
キャンピングトライク
10か月前
個人
ステアリングの操向部材
10か月前
株式会社三五
リアサブフレーム
12か月前
個人
電動式ルーフ付きトライク
2日前
個人
電動式ルーフ付きトライク
2日前
個人
電動式ルーフ付きトライク
2日前
個人
フロントフットブレーキ。
5か月前
株式会社豊田自動織機
産業車両
6か月前
豊田鉄工株式会社
小型車両
4か月前
学校法人千葉工業大学
車両
11か月前
学校法人千葉工業大学
車両
11か月前
個人
ホイールハブ駆動構造
5か月前
学校法人千葉工業大学
車両
11か月前
個人
乗用自動車のディフューザー
2か月前
続きを見る
他の特許を見る