TOP
|
特許
|
意匠
|
商標
特許ウォッチ
Twitter
他の特許を見る
公開番号
2025167482
公報種別
公開特許公報(A)
公開日
2025-11-07
出願番号
2024072123
出願日
2024-04-26
発明の名称
操作システム
出願人
株式会社SUBARU
代理人
個人
,
個人
主分類
G06F
3/0487 20130101AFI20251030BHJP(計算;計数)
要約
【課題】操作訓練の忠実度を高める。
【解決手段】操作システムは、操作者が操作する操作部と、操作者が装着する装着デバイスと、操作者が前記装着デバイスを装着した状態で前記操作部を操作することにより、当該操作に応じた動作を実行する動作制御部と、を備える。
【選択図】図1
特許請求の範囲
【請求項1】
操作者が操作する操作部と、
操作者が装着する装着デバイスと、
操作者が前記装着デバイスを装着した状態で前記操作部を操作することにより、当該操作に応じた動作を実行する動作制御部と、
を備える操作システム。
続きを表示(約 640 文字)
【請求項2】
前記操作部は、操作に応じて音を発し、
前記装着デバイスは、マイクを有し、
前記動作制御部は、前記装着デバイスが集音した前記操作部の音に基づいて、前記操作部の操作量を検出する、
請求項1に記載の操作システム。
【請求項3】
前記操作部は、前記動作制御部として内蔵されたマイコンを有し、
前記装着デバイスは、前記マイコンに電力を供給する電源を有し、
前記マイコンは、
操作者が前記装着デバイスを装着した状態で前記操作部に接触することで前記電源から電力が供給され、
前記操作部の操作に応じて、音声出力、無線通信及び発光のうち少なくとも1つの動作を行う、
請求項1に記載の操作システム。
【請求項4】
複数の前記操作部を備え、
前記複数の操作部は、異なる電気抵抗値の抵抗を個別に内蔵し、
操作者が前記装着デバイスを装着した状態で前記操作部に接触したときに、前記操作部の前記抵抗の電気抵抗値を計測する計測部と、
前記計測部で計測した前記抵抗の電気抵抗値に基づいて前記操作部を識別する識別部と、
をさらに備える、
請求項1に記載の操作システム。
【請求項5】
前記操作部は、回転式のスイッチであり、
前記装着デバイスは、前記操作部を操作する操作者の手首又は手指に装着される、
請求項1に記載の操作システム。
発明の詳細な説明
【技術分野】
【0001】
本発明は、操作システムに関する。
続きを表示(約 1,600 文字)
【背景技術】
【0002】
従来、訓練等に利用されるシミュレータ装置が知られている(例えば、特許文献1参照)。この種のシミュレータ装置では、コスト削減のために操作部がタッチパネル(タッチスクリーン)で構成される場合がある。この場合、操作者は操作時の触感を得ることができない。そのため、操作者が操作量を把握しにくい、操作部を視認せずに操作することが難しい等して、訓練の忠実度(再現度)に改善の余地があった。
【先行技術文献】
【特許文献】
【0003】
特開2002-123166号公報
【発明の概要】
【発明が解決しようとする課題】
【0004】
本発明は、上記事情に鑑みてなされたもので、操作訓練の忠実度を高めることを目的とする。
【課題を解決するための手段】
【0005】
上記目的を達成するために、本発明の一実施の形態は、操作システムであって、
操作者が操作する操作部と、
操作者が装着する装着デバイスと、
操作者が前記装着デバイスを装着した状態で前記操作部を操作することにより、当該操作に応じた動作を実行する動作制御部と、
を備える。
【発明の効果】
【0006】
本発明によれば、操作者が装着デバイスを装着した状態で操作部を操作することにより、当該操作に応じた動作が実行される。これにより、操作部にタッチパネルを用いる場合に比べ、操作者は実機に近い操作感で訓練を行うことができる。したがって、操作訓練の忠実度を高めることができる。
【図面の簡単な説明】
【0007】
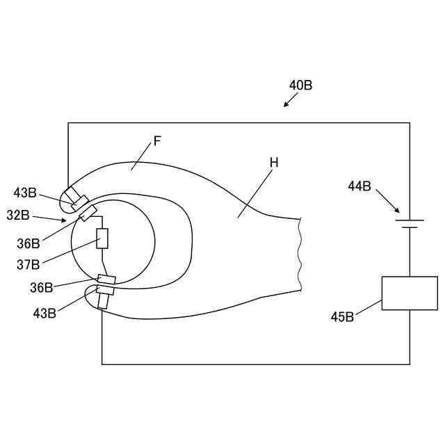
第1実施形態に係る訓練シミュレータの概略の制御構成を示すブロック図である。
第1実施形態に係る装着デバイスを装着した訓練者が操作スイッチを把持した状態を示す模式図である。
第2実施形態に係る訓練シミュレータの概略の制御構成を示すブロック図である。
第2実施形態に係る装着デバイスを装着した訓練者が操作スイッチを把持した状態を示す模式図である。
実施形態の変形例に係る装着デバイスを装着した訓練者が操作スイッチを把持した状態を示す模式図である。
【発明を実施するための形態】
【0008】
以下、本発明の実施形態について、図面を参照して説明する。
【0009】
[第1実施形態]
図1は、第1実施形態に係る訓練シミュレータ100の概略の制御構成を示すブロック図である。
本実施形態に係る訓練シミュレータ100は、本発明に係る操作システムの一例であり、航空機の操縦訓練を行うフライトシミュレータ、フライトトレーナ又はプロシージャトレーナである。訓練シミュレータ100は、図1に示すように、シミュレータ本体20と、操縦装置30と、装着デバイス40とを備える。
【0010】
シミュレータ本体20は、訓練シミュレータ100全体の動作を制御して、各種の飛行状況を模擬する。シミュレータ本体20は、表示部21、通信部23、記憶部24、本体制御部25を備える。
表示部21は、例えば液晶ディスプレイ、有機エレクトロルミネッセンスディスプレイその他のディスプレイにより構成される。表示部21は、本体制御部25から入力される表示信号に基づいて各種情報や映像等を表示する。また、表示部21は、高度、位置(緯度、経度)、速度、昇降率、旋回率、姿勢、方位角、加速度、エンジン計器、燃料計器、電源電圧計器、通信航法計器、警報・注意灯等に係る各種計器を含んでもよい。
通信部23は、装着デバイス40等との間で各種情報を送受信可能な通信デバイスである。
(【0011】以降は省略されています)
この特許をJ-PlatPat(特許庁公式サイト)で参照する
関連特許
株式会社SUBARU
車両
1か月前
株式会社SUBARU
車両
2日前
株式会社SUBARU
車両
1か月前
株式会社SUBARU
車両
1日前
株式会社SUBARU
車両
1日前
株式会社SUBARU
車両前部構造
24日前
株式会社SUBARU
車両前部構造
24日前
株式会社SUBARU
車両前部構造
24日前
株式会社SUBARU
車両前部構造
24日前
株式会社SUBARU
車体前部構造
1か月前
株式会社SUBARU
運転支援装置
1か月前
株式会社SUBARU
操作システム
22日前
株式会社SUBARU
整流システム
1か月前
株式会社SUBARU
車体前部構造
1か月前
株式会社SUBARU
車体前部構造
1か月前
株式会社SUBARU
車体前部構造
1か月前
株式会社SUBARU
車体前部構造
23日前
株式会社SUBARU
車体前部構造
23日前
株式会社SUBARU
車両用シート
9日前
株式会社SUBARU
車両用シート
9日前
株式会社SUBARU
車両用シート
9日前
株式会社SUBARU
操舵支援装置
2日前
株式会社SUBARU
排気浄化装置
1日前
株式会社SUBARU
加湿システム
1日前
株式会社SUBARU
シフト制御装置
9日前
株式会社SUBARU
車両用電池パック
9日前
株式会社SUBARU
エンジン制御装置
22日前
株式会社SUBARU
電動式全輪駆動車
1か月前
株式会社SUBARU
車両用空力制御装置
2日前
株式会社SUBARU
ドアロックシステム
1日前
株式会社SUBARU
車両の降車補助装置
1か月前
株式会社SUBARU
車両用周辺監視装置
1か月前
株式会社SUBARU
ドアロック制御装置
23日前
株式会社SUBARU
電極チップ導入用治具
1日前
株式会社SUBARU
車両用エアバッグ装置
1日前
株式会社SUBARU
電波吸収体の製造方法
15日前
続きを見る
他の特許を見る