TOP
|
特許
|
意匠
|
商標
特許ウォッチ
Twitter
他の特許を見る
公開番号
2025166754
公報種別
公開特許公報(A)
公開日
2025-11-06
出願番号
2024070976
出願日
2024-04-24
発明の名称
車体前部構造
出願人
株式会社SUBARU
代理人
個人
主分類
B62D
25/08 20060101AFI20251029BHJP(鉄道以外の路面車両)
要約
【課題】フロントトランクの利便性を向上するとともに、車両前側からの衝突が発生した場合に車両装置への干渉を低減させる。
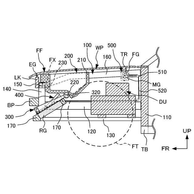
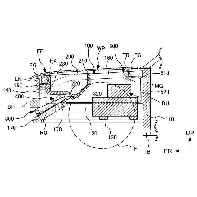
【解決手段】車幅方向を向いた開閉軸TRが設けられているフロントフード部FFと、車両上部前側におけるフロントエンドクロスメンバ150と、車両下部前側から車両上部後側に向かう傾斜SL1および傾斜SL2を成し、車両下部前側には空気を取り込む吸入口AIを有し、車幅方向に向かって延在している導風ガイドクロスメンバ320が設けられている導風ガイド部300と、車両下側面が導風ガイドクロスメンバ320と回動可能に係合しているフロントトランク部200と、導風ガイド部300を摺動可能に係合させているスライド部400と、導風ガイド部300とフロントフード部FFとを連動可能に連結させているフロントフード連結部500と、を備えている。
【選択図】図2
特許請求の範囲
【請求項1】
車両におけるキャビンの車両前側に車幅方向を向いた開閉軸が設けられているフロントフード部と、
車両上部前側において車幅方向に向かって延在しているフロントエンドクロスメンバと、
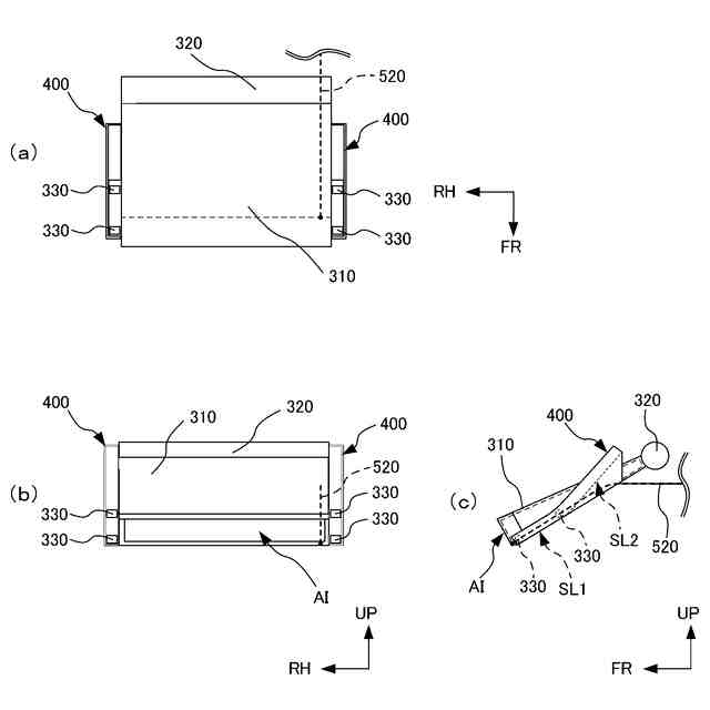
車両下部前側に設けられ、車両下部前側から車両上部後側に向かう傾斜を成し、車両下部前側には空気を取り込む吸入口を有し、車両上部後側には車幅方向に向かって延在している導風ガイドクロスメンバが設けられている導風ガイド部と、
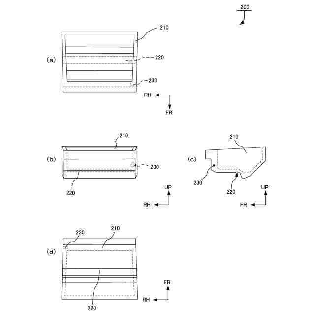
前記フロントエンドクロスメンバの車両後側かつ前記導風ガイド部の車両上側に載置され、車両下側面が前記導風ガイドクロスメンバと回動可能に係合しているフロントトランク部と、
車両前後方向に延在し前記導風ガイド部を摺動可能に係合させているスライド部と、
前記導風ガイド部と前記フロントフード部とを連動可能に連結させているフロントフード連結部と、
を備えていることを特徴とする車体前部構造。
続きを表示(約 100 文字)
【請求項2】
前記フロントエンドクロスメンバには、前記フロントトランク部における車幅方向外側に設けられている凹部と係合するロック機構部が備えられていることを特徴とする請求項1に記載の車体前部構造。
発明の詳細な説明
【技術分野】
【0001】
本発明は、車体前部構造に関する。
続きを表示(約 1,500 文字)
【背景技術】
【0002】
近年、電気自動車の普及が進み、前輪を駆動するパワーユニットの小型化にともなって、車両前部におけるフロントフードの下側にフロントトランクが装着されている場合がある。
【0003】
フロントトランクは、車両前部において、バンパーあるいは空気取り入れ口あるいは冷却装置の車両後側に配設される。このとき、フロントトランクは、車両前端部から奥まった位置に配設されている。そのため、ユーザがフロントトランクにおいて荷物の出し入れを行うときには、フロントバンパーフェイスに体の一部が接触し、フロントトランクの底部に置かれた荷物の出し入れが困難になる場合がある。
【0004】
上記に記載の課題に対応する技術として、トランクルームの開口寸法を確保するためにトランクフロア高さまで開くトランクリッドが設置された車両において、トランクフロアおよびトランクサイドインナパネルのガイド溝にコロをもってガイド摺動されるスライド式移動フロアと、該スライド式移動フロアの摺動をトランクリッドの開閉に連動させるワイヤとで構成されるトランクルームのスライド式二重フロアに関する技術が開示されている(例えば、特許文献1参照)。
【0005】
また、電気自動車において車両前側からの衝突が発生した場合には、車体前部構造において衝撃を吸収させることによって、前輪を駆動するパワーユニットあるいはインバータ等の高電圧装置への影響を低減させる必要がある。
【0006】
上記に記載の課題に対応する技術として、エンジンフード(フロントフード)のエンジンフードインナパネルには、第1脆弱部と第2脆弱部とが車幅方向に沿って形成されている。第1脆弱部はエンジンフードの前後長を略三等分した車両前側の分割部に設けられており、車両上方へ向けて凸形状とされている。第2脆弱部はエンジンフードの前後長を略三等分した車両後側の分割部に設けられており、車両上方へ向けて凸形状とされている。第1脆弱部、第2脆弱部の車幅方向から見た断面形状は、開口部を下方へ向けた半円状とされており、第1脆弱部の深さが第2脆弱部の深さより浅くなっている技術が開示されている(例えば、特許文献2参照)。
【先行技術文献】
【特許文献】
【0007】
実開平2-113536号公報
特開平9-226629号公報
【発明の概要】
【発明が解決しようとする課題】
【0008】
特許文献1に記載の技術においては、トランクフードを開くときにトランクを車両前後方向に向かって移動させている。
しかしながら、特許文献1に記載の技術においては、トランクフードを開くときに、トランクにおける車両上下方向に向かう移動に関する考慮がされていないため、トランクの底部に置かれた荷物の出し入れが困難になる虞があるという課題があった。
【0009】
また、特許文献2に記載の技術においては、車両前側から衝突が発生したときに、第1脆弱部と第2脆弱部とを起点にして車両用エンジンフード(車両用フロントフード)が折れ曲がることによって、最大変形時の車両用フロントフードの前後長を短くしている。
【0010】
しかしながら、特許文献2に記載の技術においては、例えば、電気自動車における車両用フロントフードの車両下側にフロントトランクが設けられた場合には、車両前側からの衝突が発生したときのフロントトランクの挙動に関する考慮がされていないことによって、フロントトランクが高電圧装置に干渉してしまう虞があるという課題があった。
(【0011】以降は省略されています)
この特許をJ-PlatPat(特許庁公式サイト)で参照する
関連特許
個人
カート
5か月前
個人
走行装置
5か月前
個人
三輪バイク
1か月前
個人
台車
18日前
個人
乗り物
7か月前
個人
電動走行車両
5か月前
個人
閂式ハンドル錠
5か月前
個人
電動モビリティ
9か月前
個人
駐輪設備
3か月前
個人
自転車用歩数計
1か月前
個人
発音装置
9か月前
個人
ボギー・フレーム
3か月前
個人
“zen-go.”
4か月前
個人
ルーフ付きトライク
4か月前
個人
三輪電動車両
1か月前
個人
ルーフ付きトライク
3か月前
個人
自由方向乗車自転車
9か月前
個人
車の室内高温防止屋根
1か月前
個人
パワーアシスト自転車
3か月前
井関農機株式会社
作業車両
1か月前
個人
キャンピングトライク
10か月前
個人
ステアリングの操向部材
10か月前
個人
電動式ルーフ付きトライク
10日前
個人
電動式ルーフ付きトライク
10日前
個人
フロントフットブレーキ。
5か月前
個人
電動式ルーフ付きトライク
10日前
井関農機株式会社
収穫作業車両
4日前
株式会社豊田自動織機
産業車両
6か月前
個人
乗用自動車のディフューザー
2か月前
豊田鉄工株式会社
小型車両
5か月前
個人
ホイールハブ駆動構造
6か月前
学校法人千葉工業大学
車両
11か月前
学校法人千葉工業大学
車両
11か月前
学校法人千葉工業大学
車両
11か月前
ヤマハ発動機株式会社
自転車
5か月前
船井電機株式会社
車両
3か月前
続きを見る
他の特許を見る