TOP
|
特許
|
意匠
|
商標
特許ウォッチ
Twitter
他の特許を見る
10個以上の画像は省略されています。
公開番号
2025173372
公報種別
公開特許公報(A)
公開日
2025-11-27
出願番号
2024078929
出願日
2024-05-14
発明の名称
車両用空力制御装置
出願人
株式会社SUBARU
代理人
個人
,
個人
,
個人
,
個人
主分類
B62D
37/02 20060101AFI20251119BHJP(鉄道以外の路面車両)
要約
【課題】アクティブグリルシャッタ等の空力部が作動した際におけるタイヤの接地圧の変動を抑制できる車両用空力制御装置を提供する。
【解決手段】車両10は、通風量調節部13と、空力部14と、演算制御部15と、を主要に有する。通風量調節部13は、車体12の内部への通風量を調節するように構成される。空力部14は、変位することで空力効果が変化するように構成される。演算制御部15は、通風量調節部13および空力部14の動作を制御する。演算制御部15は、通風量調節部13の通風量を変化させると共に、空力効果が大きくなるように空力部14を変位させる。
【選択図】図5A
特許請求の範囲
【請求項1】
車体の内部への通風量を調節する通風量調節部と、
変位することで空力効果が変化する空力部と、
前記通風量調節部および前記空力部の動作を制御する演算制御部と、を具備し、
前記演算制御部は、前記通風量調節部の前記通風量を変化させると共に、前記空力効果が大きくなるように前記空力部を変位させることを特徴とする車両用空力制御装置。
続きを表示(約 840 文字)
【請求項2】
前記通風量調節部は、アクティブグリルシャッタであり、
前記空力部は、車体下面に取り付けられた可動式フラップであり、
前記演算制御部は、前記アクティブグリルシャッタが閉状態となれば、前記可動式フラップが起立する角度を大きくすることを特徴とする請求項1に記載の車両用空力制御装置。
【請求項3】
前記可動式フラップは、その前端部が前記車体下面に対して回転可能に接続された略板状の部材であることを特徴とする請求項2に記載の車両用空力制御装置。
【請求項4】
前記可動式フラップは、フロントタイヤの前方側に配設されることを特徴とする請求項2または請求項3に記載の車両用空力制御装置。
【請求項5】
前記通風量調節部は、アクティブグリルシャッタであり、
前記空力部は、可動式フラップと、可動式リア機構と、を含むことを特徴とする請求項1に記載の車両用空力制御装置。
【請求項6】
前記演算制御部は、前記可動式フラップの作動度を、前記アクティブグリルシャッタおよび前記可動式リア機構の作動度よりも大きくすることを特徴とする請求項5に記載の車両用空力制御装置。
【請求項7】
前記演算制御部は、前記可動式フラップおよび前記可動式リア機構の作動度を、前記アクティブグリルシャッタの作動度よりも大きくすることを特徴とする請求項5に記載の車両用空力制御装置。
【請求項8】
前記演算制御部は、前記アクティブグリルシャッタおよび前記可動式リア機構の作動度を、前記可動式フラップの作動度よりも大きくすることを特徴とする請求項5に記載の車両用空力制御装置。
【請求項9】
前記演算制御部は、前記アクティブグリルシャッタの作動度を、前記可動式フラップおよび前記可動式リア機構の作動度よりも大きくすることを特徴とする請求項5に記載の車両用空力制御装置。
発明の詳細な説明
【技術分野】
【0001】
本発明は、車両用空力制御装置に関する。
続きを表示(約 2,400 文字)
【背景技術】
【0002】
近年、空力装置としてのアクティブグリルシャッタを備えた車両が登場している。アクティブグリルシャッタは、外気温等に応じて、グリル開口を開閉するように構成される。例えば、冬期のエンジン始動時において、アクティブグリルシャッタによりグリル開口を閉鎖することで、熱交換器の効率を向上できる。アクティブグリルシャッタの一例は、特許文献1等に記載されている。
【0003】
また、エンジン冷却状態を調整する車両用冷却装置が、特許文献2に記載されている。ここでは、ラジエタを収容するエンジンルームの下部を、アンダーカバーで覆う。また、ラジエタの後方の開口を覆う可動カバーおよび可動スポイラと、可動カバーおよび可動スポイラを連動させるリンク機構とを、更に有する。これにより、エンジンルームから排出される空気の量を容易に調整できる。
【先行技術文献】
【特許文献】
【0004】
特開平6-298132号公報
特開2018-95104号公報
【発明の概要】
【発明が解決しようとする課題】
【0005】
しかしながら、前述した各特許文献に記載された発明では、アクティブグリルシャッタ等の空力部を作動させた際の、揚力制御の観点から改善の余地があった。
【0006】
具体的には、アクティブグリルシャッタを閉状態にすると、開状態においてはエンジンルームに進入していた走行風の一部が、車体下面の下方に回り込むことになることから、フロントタイヤの接地圧が増加する。そのようになると、車両運転時のハンドリングが不必要に変化する課題があった。
【0007】
本発明は、このような問題点を鑑みてなされたものであり、本発明の目的は、アクティブグリルシャッタ等の空力部が作動した際におけるタイヤの接地圧の変動を抑制できる車両用空力制御装置を提供することにある。
【課題を解決するための手段】
【0008】
本発明の一実施形態に係る車両用空力制御装置は、車体の内部への通風量を調節する通風量調節部と、変位することで空力効果が変化する空力部と、前記通風量調節部および前記空力部の動作を制御する演算制御部と、を具備し、前記演算制御部は、前記通風量調節部の前記通風量を変化させると共に、前記空力効果が大きくなるように前記空力部を変位させることを特徴とする。
【発明の効果】
【0009】
本発明の車両用空力制御装置によれば、通風量の増加と共に、空力効果を大きくすることで車両の荷重バランスを適正に保ち、各タイヤの接地圧を所定のものにできることから、ハンドリング性能を確保できる。
【図面の簡単な説明】
【0010】
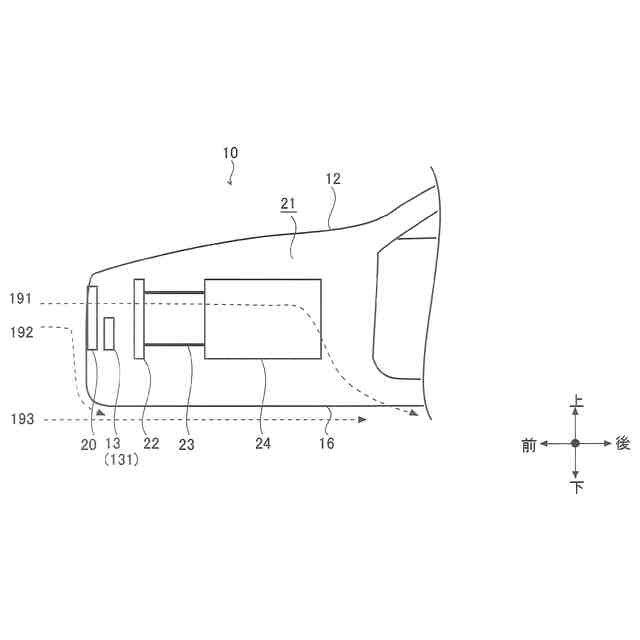
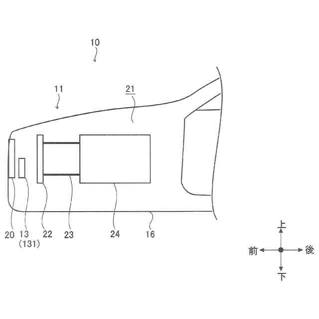
本発明の実施形態に係る車両用空力制御装置を備えた車両の前部を示す斜視図である。
本発明の実施形態に係る車両用空力制御装置を備えた車両の前部を示す断面図である。
本発明の実施形態に係る車両用空力制御装置を備えた車両において、アクティブグリルシャッタが開状態の場合の走行風の流れを示す断面図である。
本発明の実施形態に係る車両用空力制御装置を備えた車両において、アクティブグリルシャッタが閉状態の場合の走行風の流れを示す断面図である。
本発明の実施形態に係る車両用空力制御装置を備えた車両を下方から見た斜視図である。
本発明の実施形態に係る車両用空力制御装置を備えた車両の前部を示す側面図である。
本発明の実施形態に係る車両の接続構成を示す接続図である。
本発明の実施形態に係る車両用空力制御装置を備えた車両において、アクティブグリルシャッタが閉状態の場合の、接地圧の変動を示す側面図である。
本発明の実施形態に係る車両用空力制御装置を備えた車両において、可動式フラップを起立させた場合の、接地圧の変動を示す側面図である。
本発明の実施形態に係る車両用空力制御装置を備えた車両において、車体の後端部に配設される可動式リア機構を示す側面図である。
本発明の実施形態に係る車両用空力制御装置を備えた車両において、車速一定時のアクティブグリルシャッタの作動度とフロント揚力との関係を示すグラフである。
本発明の実施形態に係る車両用空力制御装置を備えた車両において、車速一定時の可動式フラップの作動度とフロント揚力との関係を示すグラフである。
本発明の実施形態に係る車両用空力制御装置を備えた車両において、車速一定時にアクティブグリルシャッタを作動させた際の空力の変化を示すグラフである。
本発明の実施形態に係る車両用空力制御装置を備えた車両において、可動式フラップを作動させた際の空力の変化を示すグラフである。
本発明の実施形態に係る車両用空力制御装置を備えた車両において、アクティブグリルシャッタおよび可動式フラップを作動させた際の空力の関係を示すグラフである。
本発明の実施形態に係る車両用空力制御装置を備えた車両において、車速一定時に可動式リア機構を作動させた際の空力の変化を示すグラフである。
本発明の実施形態に係る車両用空力制御装置を備えた車両において、アクティブグリルシャッタ、可動式フラップおよび可動式リア機構を協働させた場合の空力ウィンドウを示すグラフである。
本発明の実施形態に係る車両用空力制御装置を備えた車両において、アクティブグリルシャッタ、可動式フラップおよび可動式リア機構を協働させた場合の空力ウィンドウの各領域を示すグラフである。
【発明を実施するための形態】
(【0011】以降は省略されています)
この特許をJ-PlatPat(特許庁公式サイト)で参照する
関連特許
株式会社SUBARU
車両
今日
株式会社SUBARU
操舵支援装置
今日
株式会社SUBARU
車両用シート
7日前
株式会社SUBARU
車両用シート
7日前
株式会社SUBARU
車両用シート
7日前
株式会社SUBARU
シフト制御装置
7日前
株式会社SUBARU
車両用電池パック
7日前
株式会社SUBARU
車両用空力制御装置
今日
株式会社SUBARU
電波吸収体の製造方法
13日前
株式会社SUBARU
車両用高圧燃料配管構造
7日前
株式会社SUBARU
インフレータブル構造体
7日前
株式会社SUBARU
燃料電池車および燃料電池劣化分析装置
今日
個人
カート
4か月前
個人
走行装置
5か月前
個人
三輪バイク
1か月前
個人
台車
7日前
個人
乗り物
6か月前
個人
電動走行車両
5か月前
個人
閂式ハンドル錠
5か月前
個人
電動モビリティ
8か月前
個人
自転車用歩数計
1か月前
個人
発音装置
8か月前
個人
駐輪設備
2か月前
個人
ボギー・フレーム
3か月前
個人
“zen-go.”
4か月前
個人
ルーフ付きトライク
3か月前
個人
ルーフ付きトライク
4か月前
個人
三輪電動車両
1か月前
個人
自由方向乗車自転車
8か月前
個人
車の室内高温防止屋根
21日前
個人
パワーアシスト自転車
3か月前
井関農機株式会社
作業車両
28日前
個人
キャンピングトライク
10か月前
個人
ステアリングの操向部材
10か月前
個人
フロントフットブレーキ。
5か月前
株式会社豊田自動織機
産業車両
5か月前
続きを見る
他の特許を見る