TOP
|
特許
|
意匠
|
商標
特許ウォッチ
Twitter
他の特許を見る
10個以上の画像は省略されています。
公開番号
2025150802
公報種別
公開特許公報(A)
公開日
2025-10-09
出願番号
2024051900
出願日
2024-03-27
発明の名称
車両
出願人
株式会社SUBARU
代理人
弁理士法人青海国際特許事務所
主分類
B60D
1/58 20060101AFI20251002BHJP(車両一般)
要約
【課題】車両と被牽引物が連結装置により適切に連結されているか否かを容易に判定する。
【解決手段】車両は、車体と、被牽引物と車体とを連結する連結装置と、車体に設けられ、車体を振動させる振動発生装置と、車体に設けられ、車体の振動を測定するセンサと、振動発生装置を制御する制御装置と、を備え、制御装置は、1つまたは複数のプロセッサと、プロセッサに接続される1つまたは複数のメモリと、を有し、プロセッサは、連結装置により車体と被牽引物とが連結された状態で、予め設定された第1の振動特性を有する第1の振動を、振動発生装置により発生させることと、被牽引物に連結された車体に実際に発生した第2の振動の特性である第2の振動特性を、センサを用いて測定することと、第1の振動特性と第2の振動特性とを比較することによって、車体と被牽引物との連結状態を判定することと、を含む処理を実行する。
【選択図】図1
特許請求の範囲
【請求項1】
車体と、
被牽引物と前記車体とを連結する連結装置と、
前記車体に設けられ、前記車体を振動させる振動発生装置と、
前記車体に設けられ、前記車体の振動を測定するセンサと、
前記振動発生装置を制御する制御装置と、
を備え、
前記制御装置は、
1つまたは複数のプロセッサと、
前記プロセッサに接続される1つまたは複数のメモリと、
を有し、
前記プロセッサは、
前記連結装置により前記車体と前記被牽引物とが連結された状態で、予め設定された第1の振動特性を有する第1の振動を、前記振動発生装置により発生させることと、
前記被牽引物に連結された前記車体に実際に発生した第2の振動の特性である第2の振動特性を、前記センサを用いて測定することと、
前記第1の振動特性と前記第2の振動特性とを比較することによって、前記車体と前記被牽引物との連結状態を判定することと、
を含む処理を実行する、
車両。
続きを表示(約 650 文字)
【請求項2】
前記振動発生装置は、前記車両の駆動源であるモータを含み、
前記プロセッサは、前記モータを用いて、前記車両の前進と後退を繰り返すことにより、前記車体を前後方向に揺動させる前記第1の振動を発生させる、
請求項1に記載の車両。
【請求項3】
前記プロセッサは、
前記第1の振動特性の波形と前記第2の振動特性の波形との相関度に基づいて、前記車体と前記被牽引物との連結状態を判定する、
請求項1または2に記載の車両。
【請求項4】
前記第1の振動特性は、前記第1の振動の周波数成分である第1の周波数成分を含み、
前記第2の振動特性は、前記第2の振動の周波数成分である第2の周波数成分を含み、
前記プロセッサは、
前記第2の周波数成分が前記第1の周波数成分と所定の誤差範囲内で一致する場合、前記車体と前記被牽引物との連結が外れていると判定する、
請求項3に記載の車両。
【請求項5】
前記第1の振動特性は、前記第1の振動の周波数成分である第1の周波数成分を含み、
前記第2の振動特性は、前記第2の振動の周波数成分である第2の周波数成分を含み、
前記プロセッサは、
前記第2の周波数成分が、前記第1の周波数成分に加え、前記第1の周波数成分とは異なる別の周波数成分を含む場合、前記車体と前記被牽引物とが連結されていると判定する、
請求項3に記載の車両。
発明の詳細な説明
【技術分野】
【0001】
本発明は、車両に関する。
続きを表示(約 2,000 文字)
【背景技術】
【0002】
従来、車両に故障が発生すると、当該故障により車両が自力走行できなくなる場合がある。例えば、特許文献1には、車両が自力走行できなくなった場合に、車両を安全に牽引することができる車両の牽引装置が開示されている。
【0003】
特許文献1に記載の牽引装置は、牽引車両と被牽引車両とを連結する連結具を備え、当該連結具には、張力検出手段が設けられる。そして、特許文献1に記載の牽引装置は、連結具に加わる張力が所定値以上である場合、報知手段としての表示パネルに張力異常を報知する。これにより、牽引時に牽引車両に対して過度の牽引負荷が加わった場合に、張力異常をドライバに報知できるので、不適切な牽引走行を防止することができる。
【先行技術文献】
【特許文献】
【0004】
特開2009-73363号公報
【発明の概要】
【発明が解決しようとする課題】
【0005】
ところで、車両と被牽引物が連結装置により適切に連結されていない場合、車両が被牽引物を牽引しながら走行する途中で、車両と被牽引物との連結が外れてしまうおそれがある。そのため、車両のドライバは、車両と被牽引物が連結装置により適切に連結されているか否かを、目視で確認したり、あるいは人力で連結装置を揺すって確認したりする必要があった。当該確認作業は、ドライバにとって煩雑であり、また、適切に連結されているか否かの判断も容易ではなかった。
【0006】
そこで、本発明は、車両と被牽引物が連結装置により適切に連結されているか否かを容易に判定可能な車両を提供することを目的とする。
【課題を解決するための手段】
【0007】
上記課題を解決するために、本発明の車両は、
車体と、
被牽引物と前記車体とを連結する連結装置と、
前記車体に設けられ、前記車体を振動させる振動発生装置と、
前記車体に設けられ、前記車体の振動を測定するセンサと、
前記振動発生装置を制御する制御装置と、
を備え、
前記制御装置は、
1つまたは複数のプロセッサと、
前記プロセッサに接続される1つまたは複数のメモリと、
を有し、
前記プロセッサは、
前記連結装置により前記車体と前記被牽引物とが連結された状態で、予め設定された第1の振動特性を有する第1の振動を、前記振動発生装置により発生させることと、
前記被牽引物に連結された前記車体に実際に発生した第2の振動の特性である第2の振動特性を、前記センサを用いて測定することと、
前記第1の振動特性と前記第2の振動特性とを比較することによって、前記車体と前記被牽引物との連結状態を判定することと、
を含む処理を実行する。
【発明の効果】
【0008】
本発明によれば、車両と被牽引物が連結装置により適切に連結されているか否かを容易に判定することができる。
【図面の簡単な説明】
【0009】
図1は、本実施形態に係る車両システムの構成を示す側面図である。
図2は、本実施形態に係る連結装置の一例を示す断面図である。
図3は、本実施形態に係る車両の構成を示すブロック図である。
図4は、本実施形態に係る制御装置の機能構成の一例を示すブロック図である。
図5は、第1の振動特性の一例を示すグラフである。
図6は、第2の振動特性の一例を示すグラフである。
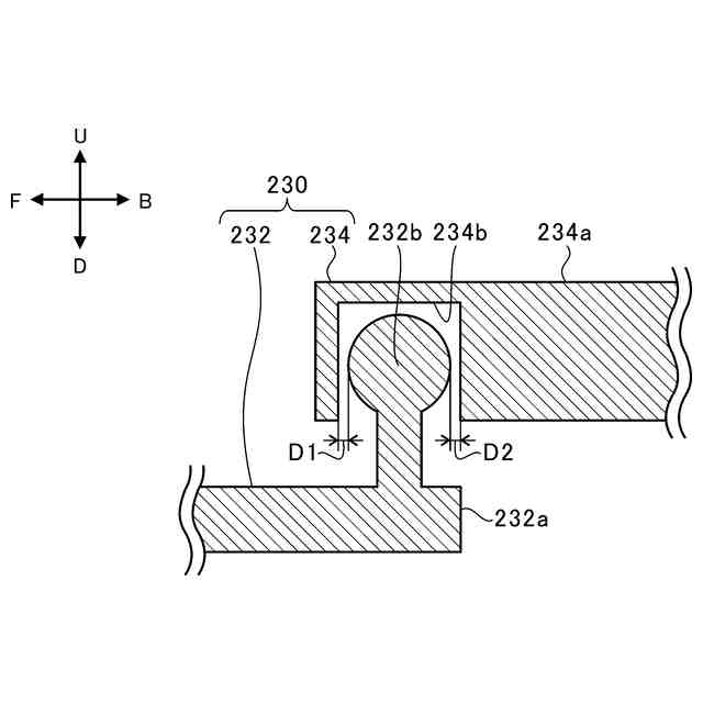
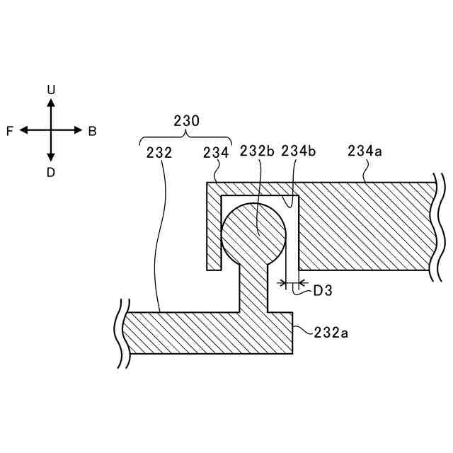
図7は、被牽引物と車両が一体的に前方向に移動している場合の連結装置の構成を示す断面図である。
図8は、被牽引物と車両が一体的に後方向に移動している場合の連結装置の構成を示す断面図である。
図9は、第1の振動の周波数成分である第1の周波数成分を表したグラフである。
図10は、第2の振動の周波数成分である第2の周波数成分を表したグラフである。
図11は、本実施形態に係る判定部における車体と被牽引物との連結状態を判定する判定処理を示すフローチャートである。
【発明を実施するための形態】
【0010】
以下に添付図面を参照しながら、本発明の実施形態について詳細に説明する。かかる実施形態に示す具体的な寸法、材料、数値等は、発明の理解を容易にするための例示に過ぎず、特に断る場合を除き、本発明を限定するものではない。なお、本明細書および図面において、実質的に同一の機能、構成を有する要素については、同一の符号を付することにより重複説明を省略し、また本発明に直接関係のない要素は図示を省略する。
(【0011】以降は省略されています)
この特許をJ-PlatPat(特許庁公式サイト)で参照する
関連特許
株式会社SUBARU
車両
27日前
株式会社SUBARU
操作システム
19日前
株式会社SUBARU
運転支援装置
27日前
株式会社SUBARU
車両前部構造
21日前
株式会社SUBARU
車両前部構造
21日前
株式会社SUBARU
車両前部構造
21日前
株式会社SUBARU
車両前部構造
21日前
株式会社SUBARU
車体前部構造
20日前
株式会社SUBARU
車両用シート
6日前
株式会社SUBARU
車両用シート
6日前
株式会社SUBARU
車両用シート
6日前
株式会社SUBARU
車体前部構造
20日前
株式会社SUBARU
シフト制御装置
6日前
株式会社SUBARU
車両用電池パック
6日前
株式会社SUBARU
エンジン制御装置
19日前
株式会社SUBARU
ドアロック制御装置
20日前
株式会社SUBARU
電波吸収体の製造方法
12日前
株式会社SUBARU
インフレータブル構造体
6日前
株式会社SUBARU
車両用高圧燃料配管構造
6日前
株式会社SUBARU
カーテンエアバッグ装置
22日前
株式会社SUBARU
運転補助装置および車両
27日前
株式会社SUBARU
フロントピラートリムの取付構造
12日前
株式会社SUBARU
車両および車両用忘れ物防止システム
27日前
テイ・エス テック株式会社
乗物用シート
19日前
個人
カーテント
5か月前
個人
タイヤレバー
3か月前
個人
前輪キャスター
3か月前
個人
上部一体型自動車
1か月前
個人
空間形成装置
27日前
個人
ルーフ付きトライク
3か月前
個人
車輪清掃装置
6か月前
個人
ホイルのボルト締結
4か月前
個人
タイヤ脱落防止構造
3か月前
井関農機株式会社
作業車両
5か月前
個人
マスタシリンダ
2か月前
日本精機株式会社
表示装置
3か月前
続きを見る
他の特許を見る