TOP
|
特許
|
意匠
|
商標
特許ウォッチ
Twitter
他の特許を見る
10個以上の画像は省略されています。
公開番号
2025167255
公報種別
公開特許公報(A)
公開日
2025-11-07
出願番号
2024071700
出願日
2024-04-25
発明の名称
乗物用シート
出願人
テイ・エス テック株式会社
,
株式会社SUBARU
代理人
弁理士法人大島特許事務所
主分類
B60N
2/56 20060101AFI20251030BHJP(車両一般)
要約
【課題】送風装置を備えた乗物用シートにおいて、送風装置に使用者から背凭れ面に加わる荷重が加わることを防止する。
【解決手段】乗物用シート1であって、シートバック5を構成するフレーム18と、フレームに支持された送風装38置とを備え、送風装置は、ブロワ41と、フレームに支持されると共にブロワを受容するハウジング42とを有し、ハウジングは、前面においてブロワが結合された底壁50と、底壁から前方に延出した立壁52と、立壁の先端に設けられたフランジ54とを有し、フランジは立壁の先端から立壁に直交する方向に延出し、フレームには、フランジの後面に当接する支持部材62が設けられている。
【選択図】図2
特許請求の範囲
【請求項1】
乗物用シートであって、
シートバックを構成するフレームと、前記フレームに支持された送風装置とを備え、
前記送風装置は、ブロワと、前記フレームに支持されると共に前記ブロワを受容するハウジングとを有し、
前記ハウジングは、前面において前記ブロワが結合された底壁と、前記底壁から前方に延出した立壁と、前記立壁の先端に設けられたフランジとを有し、
前記フランジは前記立壁の先端から前記立壁に直交する方向に延出し、
前記フレームには、前記フランジの後面に当接する支持部材が設けられている乗物用シート。
続きを表示(約 860 文字)
【請求項2】
前記フレームは、左右一対のサイドメンバと、前記サイドメンバを連結するクロスメンバとを有し、
前記支持部材は、前記クロスメンバに結合され、且つ、前記フランジの後面に結合される支持片を含む請求項1に記載の乗物用シート。
【請求項3】
前記立壁は前記底壁の左右縁から前方に延出する左右一対の側壁を有し、
前記フランジは左右一対の前記側壁それぞれから離反する方向に延びる延出部を含み、
2つの前記側壁の左右外側にそれぞれ、前記延出部の後面に当接する前記支持片が設けられている請求項2に記載の乗物用シート。
【請求項4】
前記支持片は側面視で前記立壁と重なっている請求項2に記載の乗物用シート。
【請求項5】
前記支持部材は、上下方向に延びる左右一対の縦部と、左右方向に延びて前記縦部の下端を接続する横部とを備えた四角筒状のパイプ材を含み、
前記パイプ材は前記縦部の上端において前記クロスメンバに接続され、
前記ハウジングは前記支持片よりも下方にて、前記パイプ材に支持されている請求項2に記載の乗物用シート。
【請求項6】
前記フランジの後面には、前記パイプ材の外周面に当接し、且つ、当接する前前記外周面に略平行な当接面が設けられている請求項5に記載の乗物用シート。
【請求項7】
前記送風装置は前記ブロワに連結された筒状のダクトを有し、
前記底壁には前記ブロワに通じる貫通孔が設けられ、
前記ダクトは、前記貫通孔を通過して上方に延び、前側に屈曲して、前方に向かって開口している請求項1に記載の乗物用シート。
【請求項8】
前記フレームは、左右一対のサイドメンバと、前記サイドメンバを連結するクロスメンバとを有し、
前記ハウジングの上縁には前記クロスメンバに向かって延出し、前記クロスメンバに支持される接続片を備える請求項1に記載の乗物用シート。
発明の詳細な説明
【技術分野】
【0001】
本発明は、乗物用シートに関する。
続きを表示(約 1,200 文字)
【背景技術】
【0002】
特許文献1は、シートバックの内部に着座者に向けて送風を行うブロアが設けられた乗物用シートを開示している。
【0003】
特許文献1の乗物用シートは左右一対のサイドフレームを有している。そのサイドフレームの背面に板状のブラケットが架け渡されている。ブラケットの背面には、ブロアを覆うカバー部材が設けられ、送風機はカバー部材の前面に固定されている。ブラケットにはブロアに整合する位置にブロアを前方に突出させるための通し穴が設けられている。
【先行技術文献】
【特許文献】
【0004】
特開2018-197043号公報
【発明の概要】
【発明が解決しようとする課題】
【0005】
使用者がシートバックに凭れかかると、シートバックの前面(以下、背凭れ面)に荷重が加わる。そのため、ブロワをシートバックの内部に設ける場合には、そのブロワに荷重が加わることを防止することが求められる。
【0006】
本発明は、以上の背景に鑑み、送風装置を備えた乗物用シートにおいて、送風装置に使用者から背凭れ面に加わる荷重が加わることを防止することを課題とする。
【課題を解決するための手段】
【0007】
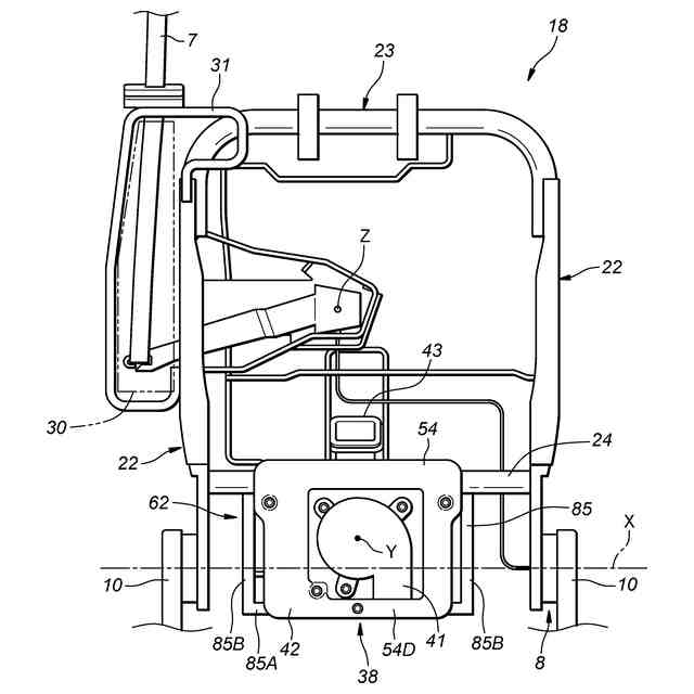
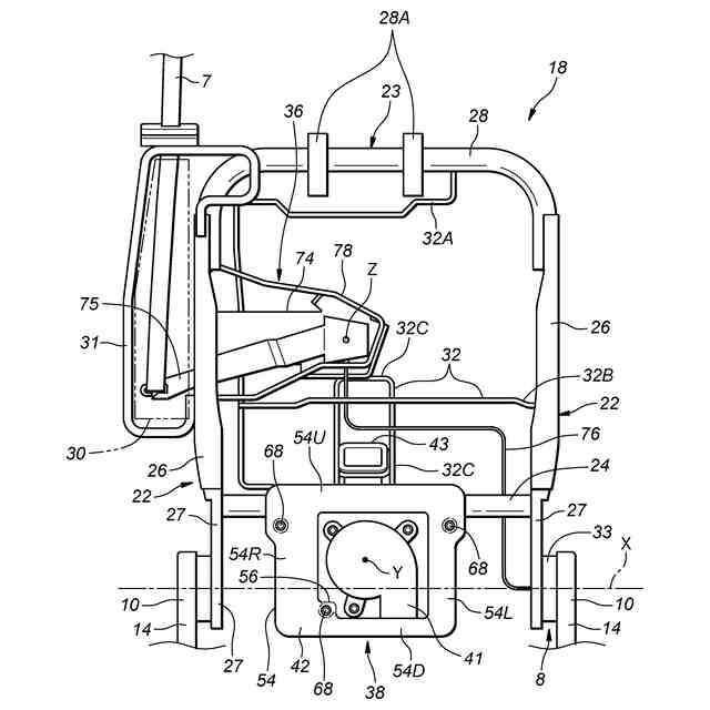
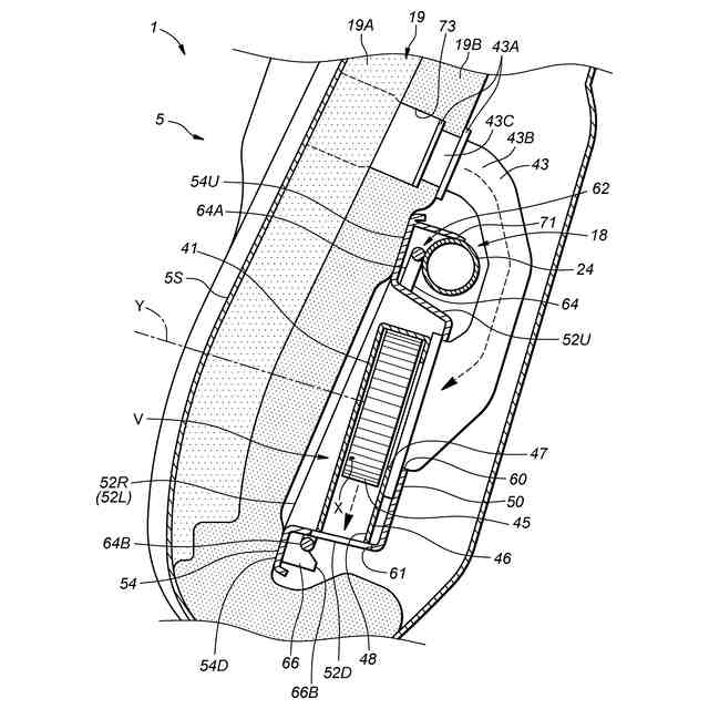
上記課題を解決するために本発明のある態様は、乗物用シート(1)であって、シートバック(5)を構成するフレーム(18)と、前記フレームに支持された送風装(38)置とを備え、前記送風装置は、ブロワ(41)と、前記フレームに支持されると共に前記ブロワを受容するハウジング(42)とを有し、前記ハウジングは、前面において前記ブロワが結合された底壁(50)と、前記底壁から前方に延出した立壁(52)と、前記立壁の先端に設けられたフランジ(54)とを有し、前記フランジは前記立壁の先端から前記立壁に直交する方向に延出し、前記フレームには、前記フランジの後面に当接する支持部材(62)が設けられている。
【0008】
この態様によれば、フランジにより、ブロワの前方に位置する物体の後方への移動に抗することができるため、ブロワに荷重が加わることを効果的に防止することができる。
【0009】
上記の態様において、好ましくは、前記フレームは、左右一対のサイドメンバ(22)と、前記サイドメンバを連結するクロスメンバ(24)とを有し、前記支持部材は、前記クロスメンバに結合され、且つ、前記フランジの後面に結合される支持片(66,66A、85)を含む。
【0010】
この態様によれば、フランジが後側からクロスフレームに支持される。そのため、フランジが後方への荷重に対して抗することができるため、ブロワに荷重が加わることを効果的に防止することができる。
(【0011】以降は省略されています)
この特許をJ-PlatPat(特許庁公式サイト)で参照する
関連特許
個人
タイヤレバー
4か月前
個人
前輪キャスター
3か月前
個人
上部一体型自動車
2か月前
個人
タイヤ脱落防止構造
3か月前
個人
ルーフ付きトライク
4か月前
個人
空間形成装置
1か月前
日本精機株式会社
表示装置
4か月前
個人
マスタシリンダ
2か月前
日本精機株式会社
表示装置
4か月前
日本精機株式会社
表示装置
3か月前
日本精機株式会社
照明装置
1か月前
個人
車両通過構造物
4か月前
日本精機株式会社
表示装置
4か月前
個人
常設収納型サンバイザー
1か月前
株式会社ニフコ
照明装置
3か月前
日本精機株式会社
画像投映装置
2か月前
株式会社ニフコ
収納装置
3か月前
個人
音声ガイド、音声サービス
4か月前
日本精機株式会社
車載表示装置
1か月前
日本精機株式会社
車載表示装置
1か月前
日本精機株式会社
車室演出装置
3か月前
個人
回転窓ワイパー装置
1か月前
株式会社豊田自動織機
産業車両
1か月前
日本精機株式会社
車載表示装置
1か月前
株式会社豊田自動織機
産業車両
4か月前
日本精機株式会社
車載表示装置
2か月前
井関農機株式会社
作業車両
2か月前
日本精機株式会社
車両用報知装置
1か月前
株式会社SUBARU
車両
2か月前
日本精機株式会社
車両用表示装置
2か月前
個人
音による速度計とプログラム
1か月前
日本精機株式会社
車両用投射装置
2か月前
個人
聴覚と触覚を利用する速度計
3日前
日本精機株式会社
車両用投影装置
2か月前
極東開発工業株式会社
車両
4か月前
日本精機株式会社
車両用表示装置
4か月前
続きを見る
他の特許を見る