TOP
|
特許
|
意匠
|
商標
特許ウォッチ
Twitter
他の特許を見る
公開番号
2025149629
公報種別
公開特許公報(A)
公開日
2025-10-08
出願番号
2024050382
出願日
2024-03-26
発明の名称
サイドドア構造
出願人
株式会社SUBARU
代理人
インフォート弁理士法人
,
弁理士法人イトーシン国際特許事務所
主分類
B60J
5/00 20060101AFI20251001BHJP(車両一般)
要約
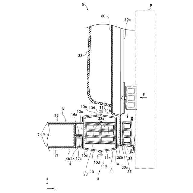
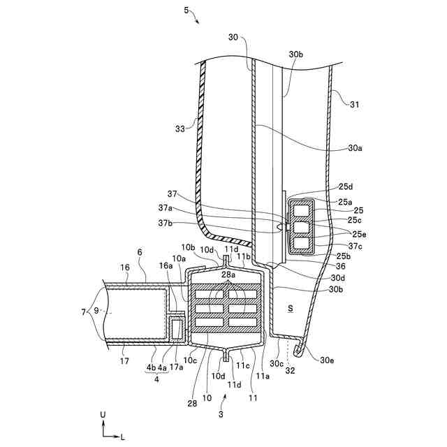
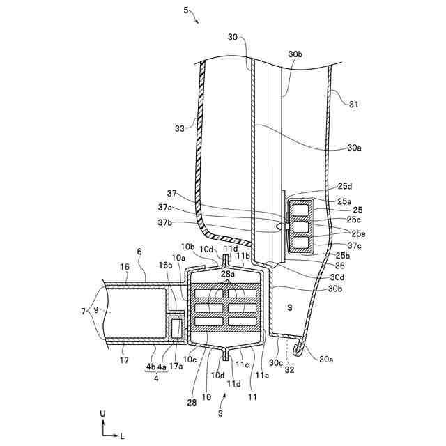
【課題】サイドドアの内部に衝撃吸収部を設けたとしても、車外からドア内に浸入する雨水等の排水性を損なうことなく、サイドシルを十分に補剛することができるサイドドア構造を提供する。
【解決手段】サイドドア構造は、サイドシル3の車幅方向外側を覆うインナパネル30と、インナパネル30に対向する位置に配置され、インナパネル30と共にサイドドア5を構成するアウタパネル31と、インナパネル30の下端部に形成され、サイドドア5の内部空間に浸入する雨水を排出する排水孔32と、サイドドア5の内部空間に設けられ、車体前後方向に延在する衝撃吸収部材25と、サイドシル3に正対する位置よりも高い位置において、衝撃吸収部材25をインナパネル30に固定するクリップ37と、を有し、クリップ37は、設定以上の衝撃荷重Fがサイドドア5に入力されたとき、衝撃吸収部材25を解放可能な固定強度にてインナパネル30に固定する。
【選択図】図3
特許請求の範囲
【請求項1】
車体前後方向に延在するサイドシルの車幅方向外側を覆うインナパネルと、
前記インナパネルに対向する位置に配置され、縁部が前記インナパネルに接合して、前記インナパネルと共にサイドドアを構成するアウタパネルと、
前記インナパネルの下端部に形成され、車外から前記サイドドアの内部空間に浸入する雨水を排出する排水孔と、
前記サイドドアの内部空間に設けられ、車体前後方向に延在する衝撃吸収部材と、
前記サイドシルに正対する位置よりも高い位置において、前記衝撃吸収部材を前記インナパネルに固定する固定部材と、を有し、
前記固定部材は、設定以上の衝撃荷重が前記サイドドアに入力されたとき、前記衝撃吸収部材を解放可能な固定強度にて前記衝撃吸収部材を前記インナパネルに固定することを特徴とするサイドドア構造。
続きを表示(約 310 文字)
【請求項2】
前記衝撃吸収部材は、断面略矩形形状であることを特徴とする請求項1に記載のサイドドア構造。
【請求項3】
前記衝撃吸収部材は、内部に補強板を備えたことを特徴とする請求項1に記載のサイドドア構造。
【請求項4】
前記固定部材は、前記サイドシルに正対する前記サイドドアの下部領域の空間に、前記衝撃吸収部材を落下させることが可能な位置において、前記衝撃吸収部材を前記インナパネルに固定することを特徴とする請求項1に記載のサイドドア構造。
【請求項5】
前記サイドシルの車幅方向内側にバッテリを搭載する車両に適用されることを特徴とする請求項1に記載のサイドドア構造。
発明の詳細な説明
【技術分野】
【0001】
本発明は、衝突等による衝撃エネルギーを吸収する衝撃吸収部材を備えたサイドドア構造に関する。
続きを表示(約 980 文字)
【背景技術】
【0002】
近年、自動車等の車両においては、従来の内燃機関(エンジン)に加えて電気モータを駆動源として備えたハイブリッド車両や、電気モータを駆動源として利用する電気自動車等が実用化されている。
【0003】
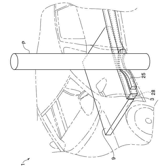
このような車両においては、電気モータを駆動するための大型の充電式バッテリ(以下、単にバッテリと略称する)が搭載されている。このような大型のバッテリは、一般に、フロアパネルの底面部に配置される。また、バッテリの車幅方向両側には、車体前後方向に延在するサイドシルが配設されている。
【0004】
サイドシルは、断面略矩形の閉断面形状となっている。このようなサイドシルは、車両の側面衝突の際、衝撃エネルギーを吸収して、バッテリを保護する衝撃吸収部として機能する。
【0005】
ところで、サイドシルの車幅方向外側の一部の面は、車外側に露出されていることが一般的である。このようなサイドシルの車外側に露出した面には、汚れが付着し易い。
【0006】
近年、このようなサイドシルの汚れを防止するため、サイドシルの車幅方向外面を覆うサイドドアが採用されている。
【0007】
このようなサイドドアを前述の車両に採用した場合、サイドシルを配置するスペースが減少し、車両の側面衝突の際の十分な衝撃エネルギーの吸収を確保できないという問題がある。
【0008】
このような問題に対し、例えば、特許文献1(特開2019-25935号公報)には、サイドドアの内部に衝撃吸収部材が設けられ、車両の側面衝突の際の衝撃エネルギーの吸収量を増大することが可能なサイドドア構造に関する技術が開示されている。
【先行技術文献】
【特許文献】
【0009】
特開2019-25935号公報
【発明の概要】
【発明が解決しようとする課題】
【0010】
しかしながら、サイドドアを構成するアウタパネルとインナパネルは、一般に、サイドドアの下縁部において、ヘミング加工によって接合される。従って、サイドドアの下部において、アウタパネルとインナパネルとの間隔は狭くなる。
(【0011】以降は省略されています)
この特許をJ-PlatPat(特許庁公式サイト)で参照する
関連特許
株式会社SUBARU
車両
今日
株式会社SUBARU
車両
1か月前
株式会社SUBARU
車両
28日前
株式会社SUBARU
車体前部構造
21日前
株式会社SUBARU
車体前部構造
1か月前
株式会社SUBARU
車体前部構造
1か月前
株式会社SUBARU
車体前部構造
1か月前
株式会社SUBARU
整流システム
1か月前
株式会社SUBARU
運転支援装置
28日前
株式会社SUBARU
車両前部構造
22日前
株式会社SUBARU
車両前部構造
22日前
株式会社SUBARU
車両前部構造
22日前
株式会社SUBARU
車体前部構造
21日前
株式会社SUBARU
車両前部構造
22日前
株式会社SUBARU
操作システム
20日前
株式会社SUBARU
車両用シート
7日前
株式会社SUBARU
操舵支援装置
今日
株式会社SUBARU
車両用シート
7日前
株式会社SUBARU
車両用シート
7日前
株式会社SUBARU
シフト制御装置
7日前
株式会社SUBARU
車両用電池パック
7日前
株式会社SUBARU
エンジン制御装置
20日前
株式会社SUBARU
電動式全輪駆動車
1か月前
株式会社SUBARU
車両用空力制御装置
今日
株式会社SUBARU
車両の降車補助装置
1か月前
株式会社SUBARU
ドアロック制御装置
21日前
株式会社SUBARU
車両用周辺監視装置
1か月前
株式会社SUBARU
電波吸収体の製造方法
13日前
株式会社SUBARU
カーテンエアバッグ装置
23日前
株式会社SUBARU
運転補助装置および車両
28日前
株式会社SUBARU
車両用高圧燃料配管構造
7日前
株式会社SUBARU
車体構造部材の結合構造
1か月前
株式会社SUBARU
インフレータブル構造体
7日前
株式会社SUBARU
車両の車高自動調整装置
1か月前
株式会社SUBARU
運転支援装置および車両
1か月前
株式会社SUBARU
乗物用遮音構造体、及び車両
1か月前
続きを見る
他の特許を見る