TOP
|
特許
|
意匠
|
商標
特許ウォッチ
Twitter
他の特許を見る
公開番号
2025177448
公報種別
公開特許公報(A)
公開日
2025-12-05
出願番号
2024084300
出願日
2024-05-23
発明の名称
弁装置
出願人
株式会社SUBARU
代理人
弁理士法人青海国際特許事務所
主分類
F02M
26/69 20160101AFI20251128BHJP(燃焼機関;熱ガスまたは燃焼生成物を利用する機関設備)
要約
【課題】デポジットを除去する。
【解決手段】弁装置は、貫通孔を有する弁座と、前記弁座に対して開閉可能な弁体と、前記弁体を支持する弁軸と、前記弁軸を軸方向に移動可能に構成され、前記弁軸の移動によって前記弁体を前記弁座に対して開閉させる開閉装置と、前記開閉装置による前記弁軸の移動に従って前記弁軸を周方向に回転可能に構成され、前記弁軸の回転によって前記弁体を回転させる回転装置と、前記弁体が前記弁座に対して閉状態のときに先端部が前記弁座に当接するように前記弁体に固定されるブラシと、を備える。
【選択図】図1
特許請求の範囲
【請求項1】
貫通孔を有する弁座と、
前記弁座の前記貫通孔を開閉可能な弁体と、
前記弁体を支持する弁軸と、
前記弁軸を軸方向に移動可能に構成され、前記弁軸の移動によって前記弁体を前記弁座に対して開閉させる開閉装置と、
前記開閉装置による前記弁軸の移動に従って前記弁軸を周方向に回転可能に構成され、前記弁軸の回転によって前記弁体を回転させる回転装置と、
前記弁体が前記弁座に対して閉状態のときに先端部が前記弁座に当接するように前記弁体に固定されるブラシと、
を備える弁装置。
続きを表示(約 620 文字)
【請求項2】
前記弁座は、
前記弁体が当接する第1部分と、
前記第1部分よりも前記弁座の径方向外側に位置し、前記ブラシの前記先端部が当接する第2部分と、
前記第1部分と前記第2部分との境界部分において、前記第2部分から前記第1部分に向かって窪む段差と、
を有する、請求項1に記載の弁装置。
【請求項3】
前記弁座は、
前記弁体が当接する第1部分と、
前記第1部分よりも前記弁座の径方向外側に位置し、前記ブラシの前記先端部が当接する第2部分と、
を有し、
前記第1部分の形状と前記第2部分の形状とが異なる、請求項1に記載の弁装置。
【請求項4】
前記弁座は、
前記弁体が当接する第1部分と、
前記第1部分よりも前記弁座の径方向外側に位置し、前記ブラシの前記先端部が当接する第2部分と、
を有し、
前記第2部分は、前記第1部分から離隔するに従って前記第2部分における径方向の幅が拡大する斜面を有し、
前記ブラシの前記先端部は、前記第2部分の前記斜面に合わせた形状に形成される、請求項1に記載の弁装置。
【請求項5】
前記弁座、前記弁体および前記ブラシは、エンジンに空気を供給する吸気流路に前記エンジンから排出される排気ガスの一部を還流させるEGR流路に設けられる、請求項1に記載の弁装置。
発明の詳細な説明
【技術分野】
【0001】
本発明は、弁装置に関する。
続きを表示(約 1,300 文字)
【背景技術】
【0002】
例えば、特許文献1には、エンジンの吸気弁または排気弁として機能する弁体を備える電磁駆動バルブが開示されている。かかる特許文献1では、弁体がバルブシートに向けて変位する過程で軸周りに回転し、弁体とバルブシートとの間でデポジットが押し潰される。
【先行技術文献】
【特許文献】
【0003】
特開2000-320311号公報
【発明の概要】
【発明が解決しようとする課題】
【0004】
特許文献1の技術では、弁体とバルブシートとの間でデポジットが押し潰すことができるものの、バルブシートからデポジットを除去することまではできない。
【0005】
そこで、本発明は、デポジットを除去可能な弁装置を提供することを目的とする。
【課題を解決するための手段】
【0006】
上記課題を解決するために、本発明の一実施形態に係る弁装置は、
貫通孔を有する弁座と、
前記弁座に対して開閉可能な弁体と、
前記弁体を支持する弁軸と、
前記弁軸を軸方向に移動可能に構成され、前記弁軸の移動によって前記弁体を前記弁座に対して開閉させる開閉装置と、
前記開閉装置による前記弁軸の移動に従って前記弁軸を周方向に回転可能に構成され、前記弁軸の回転によって前記弁体を回転させる回転装置と、
前記弁体が前記弁座に対して閉状態のときに先端部が前記弁座に当接するように前記弁体に固定されるブラシと、
を備える。
【発明の効果】
【0007】
本発明によれば、デポジットを除去可能となる。
【図面の簡単な説明】
【0008】
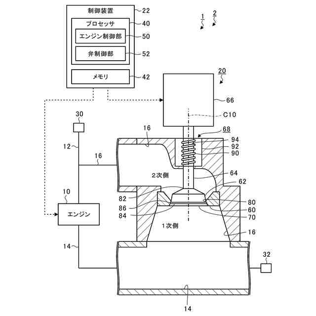
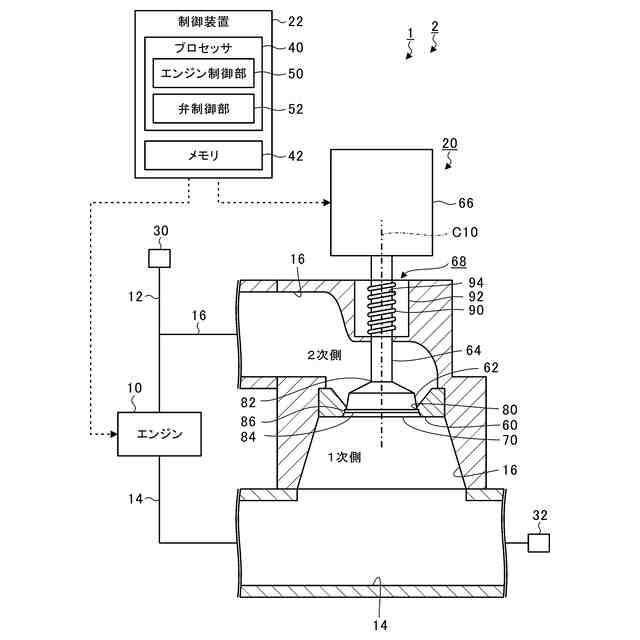
図1は、本実施形態にかかるエンジンシステムの構成の一例を示す概略図である。
図2は、弁体が弁座に対して閉状態となっているときのブラシの周囲を拡大して示す部分拡大図である。
図3は、弁体が弁座に対して開状態となっているときのブラシの周囲を拡大して示す部分拡大図である。
図4は、排気流路側から弁座を見たときの弁座の平面図である。
【発明を実施するための形態】
【0009】
以下に添付図面を参照しながら、本発明の実施形態について詳細に説明する。かかる実施形態に示す具体的な寸法、材料、数値等は、発明の理解を容易にするための例示に過ぎず、特に断る場合を除き、本発明を限定するものではない。なお、本明細書および図面において、実質的に同一の機能、構成を有する要素については、同一の符号を付することにより重複説明を省略し、また本発明に直接関係のない要素は図示を省略する。
【0010】
図1は、本実施形態にかかるエンジンシステム1の構成の一例を示す概略図である。エンジンシステム1は、例えば、車両2に搭載される。エンジンシステム1は、エンジン10、吸気流路12、排気流路14、EGR流路16、弁装置20および制御装置22を含む。なお、EGRは、排気再循環(Exhaust Gas Recirculation)の略である。
(【0011】以降は省略されています)
この特許をJ-PlatPat(特許庁公式サイト)で参照する
関連特許
株式会社SUBARU
車両
7日前
株式会社SUBARU
車両
7日前
株式会社SUBARU
車両
8日前
株式会社SUBARU
弁装置
今日
株式会社SUBARU
車体前部構造
29日前
株式会社SUBARU
操作システム
28日前
株式会社SUBARU
車両用シート
15日前
株式会社SUBARU
車両用シート
15日前
株式会社SUBARU
車両用シート
15日前
株式会社SUBARU
操舵支援装置
8日前
株式会社SUBARU
加湿システム
7日前
株式会社SUBARU
排気浄化装置
7日前
株式会社SUBARU
車体前部構造
29日前
株式会社SUBARU
車両前部構造
今日
株式会社SUBARU
車両前部構造
今日
株式会社SUBARU
情報処理装置
今日
株式会社SUBARU
インシュレータ
今日
株式会社SUBARU
シフト制御装置
15日前
株式会社SUBARU
エンジン制御装置
28日前
株式会社SUBARU
車両用電池パック
15日前
株式会社SUBARU
液体封入式マウント
1日前
株式会社SUBARU
車両用空力制御装置
8日前
株式会社SUBARU
ドアロックシステム
7日前
株式会社SUBARU
電波吸収体の製造方法
21日前
株式会社SUBARU
車両用エアバッグ装置
7日前
株式会社SUBARU
スタビライザブッシュ
1日前
株式会社SUBARU
電極チップ導入用治具
7日前
株式会社SUBARU
車両用高圧燃料配管装置
7日前
株式会社SUBARU
車両用高圧燃料配管構造
15日前
株式会社SUBARU
インフレータブル構造体
15日前
株式会社SUBARU
運転技能評価装置及び車両
今日
株式会社SUBARU
車両のフランク用のモジュール
今日
株式会社SUBARU
フロントピラートリムの取付構造
21日前
株式会社SUBARU
車両用路面センサユニットの洗浄装置
7日前
株式会社SUBARU
燃料電池車および燃料電池劣化分析装置
8日前
株式会社SUBARU
トレーラヒッチを備えた車両の車体後部構造
今日
続きを見る
他の特許を見る