TOP
|
特許
|
意匠
|
商標
特許ウォッチ
Twitter
他の特許を見る
10個以上の画像は省略されています。
公開番号
2025177109
公報種別
公開特許公報(A)
公開日
2025-12-05
出願番号
2024083648
出願日
2024-05-22
発明の名称
トレーラヒッチを備えた車両の車体後部構造
出願人
株式会社SUBARU
代理人
インフォート弁理士法人
主分類
B62D
25/20 20060101AFI20251128BHJP(鉄道以外の路面車両)
要約
【課題】 トレーラヒッチを備えた車格が小さい電気(電動)自動車において、後面衝突時の必要な衝突エネルギを吸収することができる車両の車体後部構造の提供。
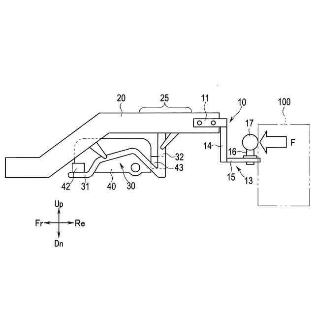
【解決手段】 車両の車体後部構造2は、後面衝突時に衝突体100から衝突荷重Fを受けたトレーラヒッチ10がリアサイドフレーム20間に設けられたサブフレーム30に載置された高電圧部品40の後部を支持するリアマウント43と衝突する下方側へ回転モーメントMが発生する。
【選択図】図8
特許請求の範囲
【請求項1】
車体の後方部分に前後方向に沿って延在する一対のリアサイドフレームと、
前記リアサイドフレームに固設されたトレーラヒッチと、
前記リアサイドフレーム間に設けられたサブフレームと、
前記サブフレームに載置され、後輪を駆動する高電圧部品と、
前記サブフレームに前記高電圧部品を支持する複数のマウントと、
を具備する車両の車体後部構造において、
前記トレーラヒッチは、
前記リアサイドフレームに固定され、前記リアサイドフレームの下端から前記サブフレームの下端までの前記車体の上下方向の高さよりも、前記前後方向の長さが短く設定された一対のブラケットと、
前記一対のブラケット間に設けられたクロスメンバと、
前記クロスメンバにおける車幅方向の中央から下方に延出するステー部と、
前記ステー部の底部から後方に延出するアーム部と、
前記アーム部の後端部上に立設される支持軸と、
前記支持軸の上部に設けられ、一対の前記リアサイドフレームよりも下方に設けられたヒッチボールと、
を有し、
前記複数のマウントは、
前記高電圧部品の前方側の両側部を支持する一対のフロントマウントと、
前記高電圧部品における車幅方向の中央の後部を支持するリアマウントと、
を有し、
後面衝突時に衝突体から衝突荷重を受けた前記トレーラヒッチが前記リアマウントと衝突する下方側へ回転モーメントが発生するように設定されていることを特徴とする車両の車体後部構造。
続きを表示(約 450 文字)
【請求項2】
前記サブフレームは、フロントクロスメンバの上端部が前記高電圧部品の下端部よりも下方に設けられ、
前記高電圧部品の両側部を支持する一対の前記マウントが前記フロントクロスメンバに固設されていることを特徴とする請求項1に記載の車両の車体後部構造。
【請求項3】
前記後面衝突時に回転する前記トレーラヒッチが前記リアマウントに衝突して前記高電圧部品が車体前方に押し出されて移動した際に、前記高電圧部品および前記フロントクロスメンバに一対の前記フロントマウントを締結する締結部材が破断する所定の強度を有することを特徴とする請求項2に記載の車両の車体後部構造。
【請求項4】
前記トレーラヒッチは、前記後面衝突時に変形しない所定の剛性を有することを特徴とする請求項1から請求項3のいずれか1項に記載の車両の車体後部構造。
【請求項5】
前記高電圧部品は、後輪を駆動するモータであることを特徴とする請求項4に記載の車両の車体後部構造。
発明の詳細な説明
【技術分野】
【0001】
本発明は、トレーラヒッチが装着され、駆動源に高電圧部品を備えた車両の車体後部構造に関する。
続きを表示(約 1,600 文字)
【背景技術】
【0002】
自動車などの車両には、車体の後部にトレーラヒッチが取付けられるものがある。トレーラヒッチは、キャンピングトレーラ、小型ボートを運搬するボートトレーラなどを車両によって牽引する牽引装置である。例えば、特許文献1には、トレーラヒッチに対して衝突荷重が入力された場合に、その衝突荷重を吸収する技術が開示されている。
【先行技術文献】
【特許文献】
【0003】
特開2015-189447号公報
【発明の概要】
【発明が解決しようとする課題】
【0004】
ところで、バッテリ式電気自動車(BEV)、ハイブリッド自動車(HEV)、プラグインハイブリッド自動車(PHEV)、燃料電池自動車(FCEV)などの種々の電気(電動)自動車(EV)は、モータなどの高電圧部品を駆動源としている。
【0005】
そのため、EVは、インターナル・コンバッション・エンジン(ICE)の車両に比して、大きなトルクを発生させることができる。これにより、EVは、ICEよりも小さな車格としても、ICEと同等の駆動力を発生させることができる。
【0006】
なお、車格が小さな車両は、リアオーバーハングが短いものが主流である。このような、車格が小さな車両は、後面衝突時にフレームでの衝突エネルギの吸収ができないため、トレーラヒッチを装着することが困難であった。
【0007】
即ち、車格が小さな車両は、後面衝突保護上、必要な圧潰のためのストロークの確保が困難である。特に、車格が小さい車両では、モータなどの高電圧部品がリア側に設けられた後輪駆動のEVである場合、トレーラヒッチを装着すると、フレームの衝撃吸収能力が制限されてしまう。
【0008】
そのため、後面衝突時の衝突エネルギの吸収が困難であって、モータなどの高電圧部品を保護することができないという課題がある。
【0009】
そこで、本発明は、上記事情に鑑み、トレーラヒッチを備えた車格が小さい電気(電動)自動車において、後面衝突時の必要な衝突エネルギを吸収することができる車両の車体後部構造を提供することを目的とする。
【課題を解決するための手段】
【0010】
本発明の一態様の車両の車体後部構造は、車体の後方部分に前後方向に沿って延在する一対のリアサイドフレームと、前記リアサイドフレームに固設されたトレーラヒッチと、前記リアサイドフレーム間に設けられたサブフレームと、前記サブフレームに載置され、後輪を駆動する高電圧部品と、前記サブフレームに前記高電圧部品を支持する複数のマウントと、を具備する車両の車体後部構造において、前記トレーラヒッチは、前記リアサイドフレームに固定され、前記リアサイドフレームの下端から前記サブフレームの下端までの前記車体の上下方向の高さよりも、前記前後方向の長さが短く設定された一対のブラケットと、前記一対のブラケット間に設けられたクロスメンバと、前記クロスメンバにおける車幅方向の中央から下方に延出するステー部と、前記ステー部の底部から後方に延出するアーム部と、前記アーム部の後端部上に立設される支持軸と、前記支持軸の上部に設けられ、一対の前記リアサイドフレームよりも下方に設けられたヒッチボールと、を有し、前記複数のマウントは、前記高電圧部品の前方側の両側部を支持する一対のフロントマウントと、前記高電圧部品における車幅方向の中央の後部を支持するリアマウントと、を有し、後面衝突時に衝突体から衝突荷重を受けた前記トレーラヒッチが前記リアマウントと衝突する下方側へ回転モーメントが発生するように設定されている。
【発明の効果】
(【0011】以降は省略されています)
この特許をJ-PlatPat(特許庁公式サイト)で参照する
関連特許
株式会社SUBARU
車両
9日前
株式会社SUBARU
車両
10日前
株式会社SUBARU
車両
9日前
株式会社SUBARU
弁装置
2日前
株式会社SUBARU
車両用シート
17日前
株式会社SUBARU
車両用シート
17日前
株式会社SUBARU
操舵支援装置
10日前
株式会社SUBARU
加湿システム
9日前
株式会社SUBARU
排気浄化装置
9日前
株式会社SUBARU
車両用シート
17日前
株式会社SUBARU
車両前部構造
2日前
株式会社SUBARU
車両前部構造
2日前
株式会社SUBARU
情報処理装置
2日前
株式会社SUBARU
インシュレータ
2日前
株式会社SUBARU
シフト制御装置
17日前
株式会社SUBARU
車両用電池パック
17日前
株式会社SUBARU
液体封入式マウント
3日前
株式会社SUBARU
ドアロックシステム
9日前
株式会社SUBARU
車両用空力制御装置
10日前
株式会社SUBARU
スタビライザブッシュ
3日前
株式会社SUBARU
電波吸収体の製造方法
23日前
株式会社SUBARU
車両用エアバッグ装置
9日前
株式会社SUBARU
電極チップ導入用治具
9日前
株式会社SUBARU
車両用高圧燃料配管構造
17日前
株式会社SUBARU
インフレータブル構造体
17日前
株式会社SUBARU
車両用高圧燃料配管装置
9日前
株式会社SUBARU
運転技能評価装置及び車両
2日前
株式会社SUBARU
車両のフランク用のモジュール
2日前
株式会社SUBARU
フロントピラートリムの取付構造
23日前
株式会社SUBARU
車両用路面センサユニットの洗浄装置
9日前
株式会社SUBARU
燃料電池車および燃料電池劣化分析装置
10日前
株式会社SUBARU
トレーラヒッチを備えた車両の車体後部構造
2日前
株式会社SUBARU
クリップ係合構造、及びセパレータ取付け構造
2日前
日本発條株式会社
シートトリム及び車両用シート
3日前
個人
カート
5か月前
個人
走行装置
5か月前
続きを見る
他の特許を見る