TOP
|
特許
|
意匠
|
商標
特許ウォッチ
Twitter
他の特許を見る
公開番号
2025177404
公報種別
公開特許公報(A)
公開日
2025-12-05
出願番号
2024084210
出願日
2024-05-23
発明の名称
クリップ係合構造、及びセパレータ取付け構造
出願人
株式会社SUBARU
代理人
インフォート弁理士法人
主分類
F16B
19/00 20060101AFI20251128BHJP(機械要素または単位;機械または装置の効果的機能を生じ維持するための一般的手段)
要約
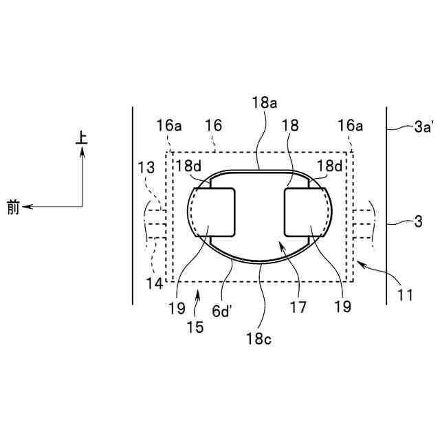
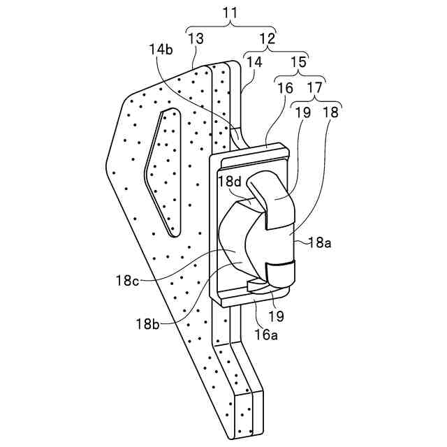
【課題】組付け時の対応部品を作業者が目視で容易に識別することができるようにして、誤組付けを防止する。
【解決手段】クリップ係合構造は、パネルに穿設されたクリップ孔と、クリップ孔に装着される係合クリップとを備え、係合クリップは、パネルの一方の面に当接される台座と、台座に一体形成されると共にクリップ孔からパネルの他方の面に突出される本体部と、本体部の両端部に形成されてクリップ孔を貫通してパネルの他方の面に掛止される係止爪部とを備える。本体部は、両係止爪部を結ぶ線に直交する側の両側面が異なる形状に形成され、各側面が本体部の両端部方向の中央を挟んで該端部側に対称に形成されている。クリップ孔は、本体部の各側面が通過する部位が相似形に形成されている。
【選択図】図2
特許請求の範囲
【請求項1】
パネルに穿設されたクリップ孔と、
前記クリップ孔に装着される係合クリップと
を備え、
前記係合クリップは、
前記パネルの一方の面に当接される台座と、
前記台座に一体形成されると共に前記クリップ孔から前記パネルの他方の面に突出される本体部と、
前記本体部の両端部に形成されて、前記クリップ孔を貫通して前記パネルの他方の面に掛止される係止爪部と
を備え、
前記係止爪部の前記台座側の端部が、前記本体部の前記端部方向へ弾性変形可能なクリップ係合構造において、
前記本体部は、
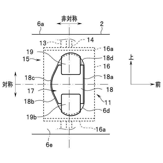
前記両係止爪部を結ぶ線に直交する側の両側面が異なる形状に形成され、
前記各側面が前記本体部の前記両端部方向の中央を挟んで該端部側に対称に形成されており、
前記クリップ孔は、
前記各側面が通過する部位が相似形に形成され、
前記係止爪部が通過する部位が、該係止爪部を弾性変形させて通過可能な大きさに形成されている
ことを特徴とするクリップ係合構造。
続きを表示(約 650 文字)
【請求項2】
前記本体部の前記各側面は、一側面側が平面部であり、他側面側が二等辺部である
ことを特徴とする請求項1記載のクリップ係合構造。
【請求項3】
請求項1に記載の前記パネルと他のパネルとが接合されて中空の閉断面が形成されている骨格部材と、
請求項1に記載の前記係合クリップを有して前記閉断面内に収納されるセパレータと
を備えるセパレータ取付け構造において、
前記セパレータは、
前記閉断面を仕切るプレート本体と、
前記プレート本体に保持されている発泡性基材と
を有し、
前記プレート本体が前記係合クリップに設けられている前記台座の前記本体部とは反対側に形成されており、
前記発泡性基材は外部からの熱を受けて発泡して前記閉断面を閉塞する
ことを特徴とするセパレータ取付け構造。
【請求項4】
前記骨格部材は対向一対配置されており、
一対の前記骨格部材の前記パネルに穿設されている前記クリップ孔の、前記本体部に形成されている前記各側面が通過する部位が、該骨格部材の延在方向に対して反転している
ことを特徴とする請求項3記載のセパレータ取付け構造。
【請求項5】
前記係合クリップの前記本体部は、前記骨格部材に取付ける部位の前記閉断面の形状が異なる毎に異なる形状に形成されている
ことを特徴とする請求項3記載のセパレータ取付け構造。
発明の詳細な説明
【技術分野】
【0001】
本発明は、クリップ係合構造、及びセパレータ取付け構造に関する。
続きを表示(約 1,600 文字)
【背景技術】
【0002】
従来、車室内の遮音性向上、及び外部から車室内への雨水、埃等の異物の浸入を防止することを目的として、閉断面の車体骨格部材内に発泡剤を充填する技術が知られている。車体骨格部材内には、発泡前の発泡性基材がホルダプレート(「キャリア」とも称する)に保持されたセパレータが固定されている。この発泡性基材は、車体を電着塗装した後の乾燥工程(焼付け工程)において外部から受ける加熱を利用して発泡、及び膨張させる。
【0003】
例えば、特許文献1(特開2000-271934号公報)には、車体骨格部材の閉断面形状に相似した外形を有するプレート状の発泡性基材を、ホルダプレートで保持するセパレータ(仕切り具)が開示されている。このセパレータは、車体の組立工程において、車体骨格部材を構成するインナパネルとアウタパネルとが接合される前に取付けられる。
【0004】
ホルダプレート外縁の一箇所に係合クリップが形成されている。この係合クリップを、インナパネル側の係合孔に係合させて、セパレータをインナパネル内に位置決め固定する。インナパネルとアウタパネルとが接合されて形成された車体骨格部材内には、セパレータが、閉断面の中空部分を遮るように収められる。そして、電着塗装後の乾燥工程において、このセパレータに外部からの熱が加えられると、発泡性基材が発泡し、ホルダプレートの周辺の隙間が閉塞される。
【先行技術文献】
【特許文献】
【0005】
特開2000-271934号公報
【発明の概要】
【発明が解決しようとする課題】
【0006】
上述したように、セパレータは、車体の組立工程において、インナパネルとアウタパネルとが接合される前に、インナパネル側に取付けられる。このセパレータは作業者がインナパネルに取付ける場合が多い。作業者がセパレータを誤って組付けていても、インナパネルとアウタパネルとが接合された後では確認することができない。
【0007】
セパレータを内装する車体骨格部材としては、ルーフサイドレール、センタピラー、サイドシル等、種々の骨格部材が存在する。又、これらの車体骨格部材内に複数のセパレータが所定間隔を開けて介装されている場合もある。更に、セパレータが介装される車体骨格部材の閉断面の形状は個々に相違している。従って、1台の車体には、数十種類の異なる形状のセパレータが使用される。作業者が全てのセパレータの形状を把握し、正しく取付けるには熟練を要する。
【0008】
そのため、係合クリップをホルダプレートに複数設け、その数や間隔、係合クリップの向きを種類ごとに変えることで対応しているものもある。係合クリップの数や間隔、係合クリップの向きを種類ごとに変えることで、係合孔に係合クリップが装着できない場合、作業者は誤組付けであることを即座に認識することができる。
【0009】
しかし、車体骨格部材内にセパレータを内装した状態では、係合クリップがインナパネルの外側に突出される。インナパネルの外面には電気配線や種々の構造物が配置されている。これらの電気配線や構造物と干渉しないように係合クリップのレイアウトを考慮する必要がある。その結果、係合クリップのレイアウトが限定され、種類ごとに微小な変更で対応することとなり、作業者に目視にて識別させることが困難になる。
【0010】
本発明は、組付け時の対応部品を作業者が目視で容易に識別することができるばかりでなく、誤組付けを防止することのできるクリップ係合構造、及びセパレータ取付け構造を提供することを目的とする。
【課題を解決するための手段】
(【0011】以降は省略されています)
この特許をJ-PlatPat(特許庁公式サイト)で参照する
関連特許
株式会社SUBARU
車両
10日前
株式会社SUBARU
車両
9日前
株式会社SUBARU
車両
9日前
株式会社SUBARU
弁装置
2日前
株式会社SUBARU
車両用シート
17日前
株式会社SUBARU
排気浄化装置
9日前
株式会社SUBARU
情報処理装置
2日前
株式会社SUBARU
車両前部構造
2日前
株式会社SUBARU
車両前部構造
2日前
株式会社SUBARU
加湿システム
9日前
株式会社SUBARU
車両用シート
17日前
株式会社SUBARU
車両用シート
17日前
株式会社SUBARU
操舵支援装置
10日前
株式会社SUBARU
インシュレータ
2日前
株式会社SUBARU
シフト制御装置
17日前
株式会社SUBARU
エンジン制御装置
1か月前
株式会社SUBARU
車両用電池パック
17日前
株式会社SUBARU
ドアロックシステム
9日前
株式会社SUBARU
液体封入式マウント
3日前
株式会社SUBARU
車両用空力制御装置
10日前
株式会社SUBARU
電波吸収体の製造方法
23日前
株式会社SUBARU
電極チップ導入用治具
9日前
株式会社SUBARU
車両用エアバッグ装置
9日前
株式会社SUBARU
スタビライザブッシュ
3日前
株式会社SUBARU
車両用高圧燃料配管装置
9日前
株式会社SUBARU
車両用高圧燃料配管構造
17日前
株式会社SUBARU
インフレータブル構造体
17日前
株式会社SUBARU
運転技能評価装置及び車両
2日前
株式会社SUBARU
車両のフランク用のモジュール
2日前
株式会社SUBARU
フロントピラートリムの取付構造
23日前
株式会社SUBARU
車両用路面センサユニットの洗浄装置
9日前
株式会社SUBARU
燃料電池車および燃料電池劣化分析装置
10日前
株式会社SUBARU
トレーラヒッチを備えた車両の車体後部構造
2日前
株式会社SUBARU
クリップ係合構造、及びセパレータ取付け構造
2日前
日本発條株式会社
シートトリム及び車両用シート
3日前
個人
留め具
1か月前
続きを見る
他の特許を見る