TOP
|
特許
|
意匠
|
商標
特許ウォッチ
Twitter
他の特許を見る
公開番号
2025177126
公報種別
公開特許公報(A)
公開日
2025-12-05
出願番号
2024083687
出願日
2024-05-22
発明の名称
車両前部構造
出願人
株式会社SUBARU
代理人
個人
主分類
B62D
25/08 20060101AFI20251128BHJP(鉄道以外の路面車両)
要約
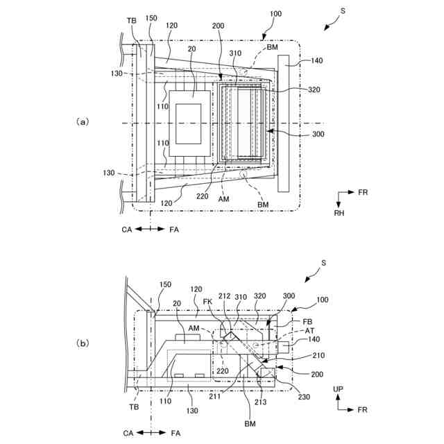
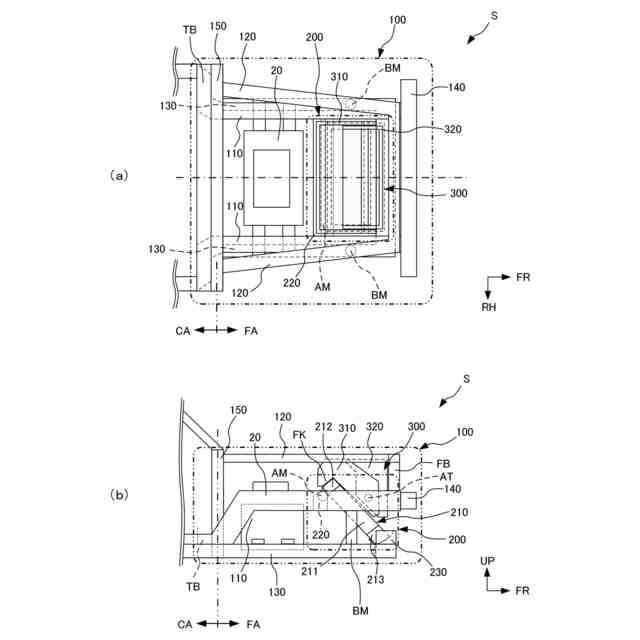
【課題】車両に衝突が発生したときに、ラジエータ部が車両装置に干渉することを防ぐ。
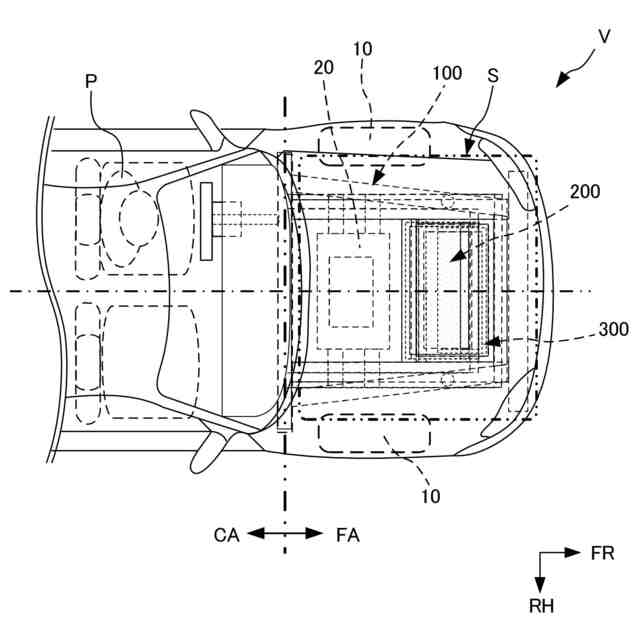
【解決手段】車両前側に設けられているラジエータユニット部210と、ラジエータユニット部210の車両前側に設けられているフロントトランク部300と、を有し、フロントトランク部300は、車両後側に設けられている第1ケース部310と、第1ケース部310の車両前側に設けられている第2ケース部320と、を有し、第1ケース部310の車両上側には、車両後側に向かって突出しラジエータユニット部210の車両上側端を覆いながらラジエータユニット部210と係合するラジエータ係合部FKが設けられ、第1ケース部310と第2ケース部320とは、車幅方向に向かって延在しているトランク回転軸ATによって回動可能に係合されている。
【選択図】図2
特許請求の範囲
【請求項1】
車両上部後側から車両下部前側に向かう傾斜をなして車両前側に設けられているラジエータユニット部と、前記ラジエータユニット部の車両前側に設けられているフロントトランク部と、を有する車両前部構造であって、
前記フロントトランク部は、
車両後側に設けられている第1のトランクケース部と、前記第1のトランクケース部の車両前側に設けられている第2のトランクケース部と、を有し、
前記第1のトランクケース部の車両上側には、車両後側に向かって突出し前記ラジエータユニット部の車両上側端を覆いながら前記ラジエータユニット部と係合するラジエータ係合部が設けられ、
前記第1のトランクケース部と前記第2のトランクケース部とは、車幅方向に向かって延在しているトランク回転軸によって回動可能に係合されていることを特徴とする車両前部構造。
続きを表示(約 490 文字)
【請求項2】
前記ラジエータユニット部の車両上側部には、車幅方向外側において車両の骨格をなすメインフレームに固定され、車両前側において前記ラジエータユニット部と結合しているラジエータアッパークロスメンバが車幅方向に延在して設けられ、
前記ラジエータユニット部の車両下側端部には、車両上側に車両上部前側から車両下部後側に向かう傾斜部を有し、前記ラジエータユニット部が前記傾斜部に摺動可能に当接しているラジエータロアクロスメンバが車幅方向に延在して設けられていることを特徴とする請求項1に記載の車両前部構造。
【請求項3】
前記ラジエータアッパークロスメンバは、車幅方向に延在し車両前後方向に向かって回動可能とする回転軸を有し、前記ラジエータユニット部は、前記回転軸に結合されていることを特徴とする請求項2に記載の車両前部構造。
【請求項4】
前記ラジエータユニット部は、車両に衝突が発生したときに破断可能な固定部を有し、前記ラジエータユニット部は、前記固定部において前記回転軸と結合していることを特徴とする請求項3に記載の車両前部構造。
発明の詳細な説明
【技術分野】
【0001】
本発明は、車両前部構造に関する。
続きを表示(約 1,400 文字)
【背景技術】
【0002】
近年、自動車等の車両においては、ハイブリッド車あるいは電気自動車の導入が進んでいる。
【0003】
車両がハイブリッド車両や電気自動車の場合には、電動モータを駆動するために、直流電圧を交流電圧に変換するインバータ部が車両前部に搭載されている場合がある。
【0004】
インバータ部においては、車両の走行に必要な高電圧を生成させており、車両の前面衝突等によって変形や断線が発生した場合には、急激な異常反応が生じる虞もある。
そのため、電気自動車において車両前側からの衝突が発生した場合には、車両前部構造において衝撃を吸収させることによって、前輪を駆動するモータ部あるいはインバータ部等の高電圧が供給されている車両装置への影響を低減させる必要がある。
【0005】
上記に示す課題を解決する手段として、車両前部構造は、モジュールフレームに対してモータ部、インバータ部、チャージャー部、熱交換器(ラジエータ部)、ステアリングギア部、一対のロアアームが組み付けられた後、モジュールフレームをフロントサイドメンバに締結する技術が開示されている(例えば、特許文献1参照)。
【先行技術文献】
【特許文献】
【0006】
特開2019-14340号公報
【発明の概要】
【発明が解決しようとする課題】
【0007】
特許文献1に示す技術は、フレーム本体に取り付けられたモータと、モータと電気的に接続されている電気部品と、フレーム本体の枠下部に取り付けられた熱交換器(ラジエータ部)と、を備え、フレーム本体の枠内にモータと電気部品が固定され、フレーム本体の枠下部にラジエータが固定されることによって、組付け作業性が向上するとともにクラッシュストロークを増大させる技術である。
【0008】
しかしながら、特許文献1に記載の車両前部構造においては、例えば、車両が電気自動車である場合に、車両に衝突が発生したときに、ラジエータ部が車両装置としてのモータ部あるいはインバータ部等の電気部品に干渉してしまう虞があるという課題があった。
【0009】
そこで、本発明は上述の課題に鑑みてなされたものであり、車両に衝突が発生したときに、ラジエータ部が車両装置に干渉することを防ぐ車両前部構造を提供することを目的とする。
【課題を解決するための手段】
【0010】
本発明の1またはそれ以上の実施形態は、車両上部後側から車両下部前側に向かう傾斜をなして車両前側に設けられているラジエータユニット部と、前記ラジエータユニット部の車両前側に設けられているフロントトランク部と、を有する車両前部構造であって、前記フロントトランク部は、車両後側に設けられている第1のトランクケース部と、前記第1のトランクケース部の車両前側に設けられている第2のトランクケース部と、を有し、前記第1のトランクケース部の車両上側には、車両後側に向かって突出し前記ラジエータユニット部の車両上側端を覆いながら前記ラジエータユニット部と係合するラジエータ係合部が設けられ、前記第1のトランクケース部と前記第2のトランクケース部とは、車幅方向に向かって延在しているトランク回転軸によって回動可能に係合されている車両前部構造を提案している。
【発明の効果】
(【0011】以降は省略されています)
この特許をJ-PlatPat(特許庁公式サイト)で参照する
関連特許
個人
カート
5か月前
個人
走行装置
5か月前
個人
三輪バイク
1か月前
個人
台車
16日前
個人
乗り物
7か月前
個人
電動走行車両
5か月前
個人
閂式ハンドル錠
5か月前
個人
電動モビリティ
9か月前
個人
駐輪設備
3か月前
個人
自転車用歩数計
1か月前
個人
発音装置
9か月前
個人
ボギー・フレーム
3か月前
個人
“zen-go.”
4か月前
個人
ルーフ付きトライク
4か月前
個人
三輪電動車両
1か月前
個人
ルーフ付きトライク
3か月前
個人
自由方向乗車自転車
9か月前
個人
車の室内高温防止屋根
1か月前
個人
パワーアシスト自転車
3か月前
井関農機株式会社
作業車両
1か月前
個人
キャンピングトライク
10か月前
個人
ステアリングの操向部材
10か月前
個人
電動式ルーフ付きトライク
8日前
個人
電動式ルーフ付きトライク
8日前
個人
フロントフットブレーキ。
5か月前
個人
電動式ルーフ付きトライク
8日前
井関農機株式会社
収穫作業車両
2日前
株式会社豊田自動織機
産業車両
6か月前
個人
乗用自動車のディフューザー
2か月前
豊田鉄工株式会社
小型車両
4か月前
個人
ホイールハブ駆動構造
6か月前
学校法人千葉工業大学
車両
11か月前
学校法人千葉工業大学
車両
11か月前
学校法人千葉工業大学
車両
11か月前
ヤマハ発動機株式会社
自転車
5か月前
船井電機株式会社
車両
3か月前
続きを見る
他の特許を見る