TOP
|
特許
|
意匠
|
商標
特許ウォッチ
Twitter
他の特許を見る
公開番号
2025162263
公報種別
公開特許公報(A)
公開日
2025-10-27
出願番号
2024065441
出願日
2024-04-15
発明の名称
多目的車両
出願人
株式会社クボタ
代理人
弁理士法人R&C
主分類
B60N
2/38 20060101AFI20251020BHJP(車両一般)
要約
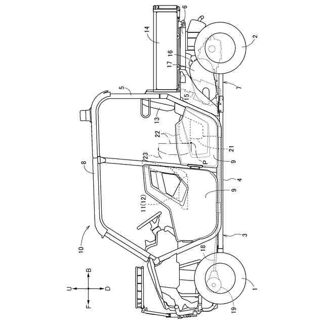
【課題】揺動可能に支持されている座席を、容易に揺動させることが可能な多目的車両を提供する。
【解決手段】走行機体と、走行機体に設けられ、座面22aを上向きにした着座姿勢と、揺動軸芯P回りで揺動することで着座姿勢とは異なる姿勢の非使用姿勢とに切替可能な座席22と、座席のうちの揺動軸芯Pとは異なる箇所に配置され、作業者が把持可能な把持部23と、が備えられている。
【選択図】図2
特許請求の範囲
【請求項1】
走行機体と、
前記走行機体に設けられ、座面を上向きにした着座姿勢と、揺動軸芯回りで揺動することで前記着座姿勢とは異なる姿勢の非使用姿勢とに切替可能な座席と、
前記座席のうちの前記揺動軸芯とは異なる箇所に配置され、作業者が把持可能な把持部と、が備えられている多目的車両。
続きを表示(約 470 文字)
【請求項2】
前記座面の一方側縁部分に対応する箇所に前記揺動軸芯が配置され、前記座面の他方側縁部分に対応する箇所に前記把持部が配置されている請求項1に記載の多目的車両。
【請求項3】
前記揺動軸芯は、前記着座姿勢のときの前記座席の前側部分に配置され、
前記把持部は、前記着座姿勢のときの前記座席の後側部分に配置されている請求項2に記載の多目的車両。
【請求項4】
前記把持部は、前記走行機体の左右方向において、前記座席の横外部分に配置されている請求項1から3のいずれか一項に記載の多目的車両。
【請求項5】
前記把持部は、前記走行機体の左右方向における前記座席の右横外部分と左横外部分とにそれぞれ設けられている請求項4に記載の多目的車両。
【請求項6】
前記把持部は、ナイロン製バンドである請求項1から3のいずれか一項に記載の多目的車両。
【請求項7】
前記把持部は、リベットを用いて前記座席に固定されている請求項6に記載の多目的車両。
発明の詳細な説明
【技術分野】
【0001】
本発明は、多目的車両に関する。
続きを表示(約 1,000 文字)
【背景技術】
【0002】
従来の多目的車両として、例えば、特許文献1に記載されているように、前側の座席(特許文献1では、「運転座席」。)と後側の座席(特許文献1では、「補助席」。)が設けられ、後側の座席の近くには、トランスミッションケースや無段変速装置等が配置されているものがある。
【先行技術文献】
【特許文献】
【0003】
特開2023-049568号公報
【発明の概要】
【発明が解決しようとする課題】
【0004】
このような多目的車両では、後側の座席は揺動可能に構成されており、座席を揺動させることで、トランスミッションケースの上方を開放させて、メンテナンス等を行う場合がある。
【0005】
しかし、このような多目的車両では、後側の座席は、複数人着座できるように、大きく構成されている場合があり、重量が重く、座席を揺動させることが困難な場合があった。
【0006】
そこで、本発明の目的は、揺動可能に支持されている座席を、容易に揺動させることが可能な多目的車両を提供することである。
【課題を解決するための手段】
【0007】
本発明の多目的車両は、走行機体と、前記走行機体に設けられ、座面を上向きにした着座姿勢と、揺動軸芯回りで揺動することで前記着座姿勢とは異なる姿勢の非使用姿勢とに切替可能な座席と、前記座席のうちの前記揺動軸芯とは異なる箇所に配置され、作業者が把持可能な把持部と、が備えられている。
【0008】
この発明によれば、作業者は、把持部を把持することで、座席を容易に揺動させることが可能となる。また、把持部は、座席の揺動軸芯とは異なる箇所に配置されていることから、小さな力で座席を揺動させることが可能となる。
【0009】
本発明においては、前記座面の一方側縁部分に対応する箇所に前記揺動軸芯が配置され、前記座面の他方側縁部分に対応する箇所に前記把持部が配置されていると好適である。
【0010】
この構成によれば、座席の一方側の端部部分に揺動軸芯が配置され、座席の他方側の端部部分に把持部が配置される構成となる。つまり、力点となる把持部は支点となる揺動軸芯から離れた箇所に配置される構成となるため、より小さい力で座席を揺動させることが可能となる。
(【0011】以降は省略されています)
この特許をJ-PlatPat(特許庁公式サイト)で参照する
関連特許
株式会社クボタ
作業車
9日前
株式会社クボタ
作業車
29日前
株式会社クボタ
作業機
1日前
株式会社クボタ
作業車
28日前
株式会社クボタ
作業車
7日前
株式会社クボタ
作業車
7日前
株式会社クボタ
作業車
28日前
株式会社クボタ
作業機
15日前
株式会社クボタ
作業車
22日前
株式会社クボタ
作業車
23日前
株式会社クボタ
作業車両
28日前
株式会社クボタ
作業車両
28日前
株式会社クボタ
作業車両
29日前
株式会社クボタ
作業車両
16日前
株式会社クボタ
作業車両
7日前
株式会社クボタ
作業車両
7日前
株式会社クボタ
電動作業車
23日前
株式会社クボタ
多目的車両
25日前
株式会社クボタ
多目的車両
14日前
株式会社クボタ
竪型の反応炉
1日前
株式会社クボタ
車両用シート
14日前
株式会社クボタ
農作物測定装置
22日前
株式会社クボタ
作業車及び座席
14日前
株式会社クボタ
鋳造用砂型の製造方法
1日前
株式会社クボタ
鋳鋼品および鋳鋼品の製造方法
7日前
株式会社クボタ
表示装置及び表示装置を備えた車両
28日前
株式会社クボタケミックス
揚水装置、揚水装置を用いた施工方法
22日前
株式会社クボタ
電動作業車両のバッテリ管理システム
7日前
株式会社クボタ
農業車両、農業車両の制御方法及びプログラム
23日前
株式会社クボタ
作業車
22日前
株式会社クボタ
感染症陽性者数の予測方法および感染症陽性者数の予測装置
1か月前
株式会社クボタ
コンバイン
14日前
株式会社クボタ
圃場作業機
1か月前
株式会社クボタ
農作業機、農作業機の制御方法、及びコンピュータプログラム
23日前
株式会社クボタ
農作業機、農作業機の制御方法、及びコンピュータプログラム
23日前
株式会社クボタ
アンテナ取付構造、データ通信システム、及びアンテナ取付方法
16日前
続きを見る
他の特許を見る