TOP
|
特許
|
意匠
|
商標
特許ウォッチ
Twitter
他の特許を見る
10個以上の画像は省略されています。
公開番号
2025172690
公報種別
公開特許公報(A)
公開日
2025-11-26
出願番号
2025040159
出願日
2025-03-13
発明の名称
フィルタ
出願人
トヨタ紡織株式会社
代理人
個人
,
個人
主分類
B01D
46/52 20060101AFI20251118BHJP(物理的または化学的方法または装置一般)
要約
【課題】機能剤による機能を濾材の下流で長い期間に亘って保持することができるフィルタを提供する。
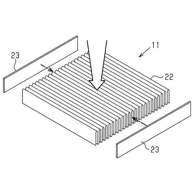
【解決手段】フィルタ11は、濾材22と端板23とを備える。濾材22は四角形のシート状に形成される。濾材22は、その濾材22の一辺の延びる方向に沿って山と谷とが交互に連なるよう折られている。端板23は濾材22の外縁に固定される。フィルタ11には、二つの端板23が設けられる。二つの端板23は、濾材22の上記一辺、及び、その一辺に対し平行になる濾材22の別の一辺に対し、接着剤等によって固定される。こうしたフィルタ11では、濾材22をその厚さ方向に空気が通過する。また、端板23には、濾材22を通過する空気によって下流に流される抗菌剤が担持される。抗菌剤としては、植物由来の抗菌機能を有する物質、例えばフィトンチッドやアリルイソチオシアネート(AITC)を徐放剤と混ぜた状態のものが採用されている。
【選択図】図3
特許請求の範囲
【請求項1】
濾材と端板とを備え、前記濾材はシート状に形成され、前記端板は前記濾材の外縁に固定され、前記濾材をその厚さ方向に空気が通過するフィルタにおいて、
前記端板には、前記濾材を通過する空気によって下流に流される機能剤が担持されているフィルタ。
続きを表示(約 1,000 文字)
【請求項2】
前記機能剤は、前記端板全体に担持されている請求項1に記載のフィルタ。
【請求項3】
前記機能剤は、空気に対する揮発性を抑えるための徐放剤を混ぜた状態で、前記端板に担持されている請求項1に記載のフィルタ。
【請求項4】
濾材と端板とを備え、前記濾材はシート状に形成され、前記端板は前記濾材の外縁に固定され、前記濾材をその厚さ方向に空気が通過するフィルタにおいて、
前記端板には、前記濾材を通過する空気によって機能剤を下流に流す機能が付与されており、
前記端板における前記濾材の外縁を固定した面と異なる面がカバーによって覆われているフィルタ。
【請求項5】
前記カバーは、前記機能剤を透過させない材料で形成されており、且つ、前記濾材を通過する空気の流れ方向における前記端板の下流端側の面を開放するとともに、その下流側の面と異なる面であってかつ前記濾材の外縁を固定した面と異なる面をすべて覆っている請求項4に記載のフィルタ。
【請求項6】
前記カバーは、機能剤を透過させることが可能な材料で形成されており、且つ、前記端板における前記濾材の外縁を固定した面と異なる面をすべて覆っている請求項4に記載のフィルタ。
【請求項7】
前記端板における機能剤を下流に流す機能は、その機能剤が含まれた溶液を前記端板に含浸させることによって前記端板に付与されている請求項4~6のいずれか一項に記載のフィルタ。
【請求項8】
前記端板における機能剤を下流に流す機能は、その機能剤をゲルと混ぜたものが前記端板に塗りつけられることによって前記端板に付与されている請求項4~6のいずれか一項に記載のフィルタ。
【請求項9】
前記端板における機能剤を下流に流す機能は、機能剤とゲルとの混合物が封入された機能剤を透過可能な袋状のフィルムを前記カバーと前記端板との間に挟むことによって前記端板に付与されている請求項4~6のいずれか一項に記載のフィルタ。
【請求項10】
前記濾材は、四角形のシートであって、前記濾材の一辺の延びる方向に沿って山と谷とが交互に連なるよう折られており、
前記端板は、前記濾材の前記一辺及びその一辺に対し平行になる前記濾材の別の一辺に対し固定される二つの端板である請求項1~6のいずれか一項に記載のフィルタ。
(【請求項11】以降は省略されています)
発明の詳細な説明
【技術分野】
【0001】
本開示は、フィルタに関する。
続きを表示(約 2,300 文字)
【背景技術】
【0002】
車両の空調装置等に用いられるフィルタは、濾材と端板とを備えている。濾材はシート状に形成されている。端板は濾材の外縁に固定されている。こうしたフィルタでは、濾材をその厚さ方向に空気が通過する。また、フィルタの濾材として、特許文献1に示すように、抗菌機能や芳香機能など所定の機能を有するものを用いることが知られている。この場合、フィルタの濾材を厚さ方向に通過する空気により、濾材の下流で上記所定の機能が作用する。
【先行技術文献】
【特許文献】
【0003】
特開2010-149564号公報
【発明の概要】
【発明が解決しようとする課題】
【0004】
特許文献1に示されるように、フィルタの濾材が所定の機能を有するものである場合、濾材における上記所定の機能が短期間のうちに失われるおそれがある。これは、フィルタでは濾材を厚さ方向に通過する空気の速度が速いため、その空気の流量が多くなることが関係している。すなわち、濾材における上記所定の機能は濾材を厚さ方向に空気が通過するに従って低下していくため、上述したように濾材を厚さ方向に通過する空気の流量が多いと、濾材における上記所定の機能が短期間のうちに失われる。その結果、上記所定の機能を濾材の下流で長い期間に亘って保持することが困難になる。
【課題を解決するための手段】
【0005】
以下、上記課題を解決するための手段及びその作用効果について記載する。
上記課題を解決するフィルタは、濾材と端板とを備える。濾材はシート状に形成される。端板は濾材の外縁に固定される。こうしたフィルタでは、濾材をその厚さ方向に空気が通過する。また、上記端板には、濾材を通過する空気によって下流に流される機能剤が担持される。
【0006】
上記構成によれば、端板に担持された機能剤がフィルタの濾材を通過する空気によって下流に流される。濾材の外縁には端板が固定されている。このため、濾材の中央と比較して、濾材における端板の近くでは、厚さ方向に通過する空気の速度が遅くなることから、その空気の流量が少なくなる。その結果、端板に担持された機能剤が濾材を通過する空気によって下流に流れる量が少なく抑えられる。これにより、比較的長い期間に亘ってフィルタの下流に機能剤を流すことができる。従って、上記機能剤による抗菌機能や芳香機能といった機能を、濾材の下流で長い期間に亘って保持することができる。
【0007】
上記課題を解決するフィルタは、濾材と端板とを備える。濾材はシート状に形成される。端板は濾材の外縁に固定される。こうしたフィルタでは、濾材をその厚さ方向に空気が通過する。また、上記端板には、濾材を通過する空気によって機能剤を下流に流す機能が付与されている。上記端板における濾材の外縁を固定した面と異なる面は、カバーによって覆われている。
【0008】
上記構成によれば、端板には濾材を通過する空気によって機能剤を下流に流す機能が付与されているため、フィルタの濾材を空気が通過することによって端板から下流に機能剤が流される。濾材の外縁には端板が固定されている。このため、濾材の中央と比較して、濾材における端板の近くでは、厚さ方向に通過する空気の速度が遅くなることから、その空気の流量が少なくなる。その結果、濾材を通過する空気によって端板から下流に流れる機能剤の量が少なく抑えられる。これにより、比較的長い期間に亘ってフィルタの下流に機能剤を流すことができる。従って、上記機能剤による抗菌機能や芳香機能といった機能を、濾材の下流で長い期間に亘って保持することができる。更に、端板における濾材の外縁を固定した面と異なる面がカバーによって覆われているため、カバーによる端板の覆い方やカバーの材質を変えることにより、単位時間当たりに端板から下流に流れる機能剤の量をコントロールできる。
【図面の簡単な説明】
【0009】
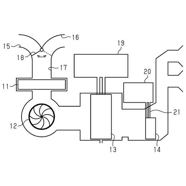
フィルタが適用される空調装置を示す略図である。
図1の空調装置に用いられる第1実施形態のフィルタを示す斜視図である。
図2のフィルタを分解した状態を示す斜視図である。
図1のフィルタにおける抗菌剤の放出時間を示すグラフである。
第2実施形態のフィルタにおける端板及びその付近を拡大して示す斜視図である。
図2のフィルタの他の例を示す斜視図である。
図5のフィルタにおける端板の他の例を示す断面図である。
図5のフィルタにおけるカバーの他の例を示す断面図である。
カバーの材質及び厚さによる機能剤のカバー透過率の違いを示すグラフである。
【発明を実施するための形態】
【0010】
[第1実施形態]
以下、フィルタの第1実施形態について、図1~図4を参照して説明する。
図1に示すように、車両の空調装置は、フィルタ11、ブロワ12、エバポレータ13、及びヒータ14を備えている。同装置は、ブロワ12の駆動により、外気導入通路15もしくは内気導入通路16を介してメイン通路17に空気を吸い込む。メイン通路17に吸い込まれた空気は、エバポレータ13での冷却及びヒータ14での加熱を経た後、車両における車室内に空調風として吹き出される。
(【0011】以降は省略されています)
この特許をJ-PlatPat(特許庁公式サイト)で参照する
関連特許
トヨタ紡織株式会社
フィルタ
今日
トヨタ紡織株式会社
水流帯電装置
今日
トヨタ紡織株式会社
乗物用シート
6日前
トヨタ紡織株式会社
振動刺激装置
6日前
トヨタ紡織株式会社
燃料電池システム
今日
トヨタ紡織株式会社
乗物用シート装置
19日前
トヨタ紡織株式会社
パーソナルブース装置
6日前
トヨタ紡織株式会社
パーソナルブース装置
6日前
トヨタ紡織株式会社
乗物用内装材及び乗物用内装材の製造方法
今日
トヨタ紡織株式会社
乗り物酔い防止装置、及び乗り物酔い防止方法
6日前
トヨタ紡織株式会社
情報処理装置、情報処理方法、及び情報処理プログラム
6日前
株式会社日本触媒
ドロー溶質
1か月前
プライミクス株式会社
攪拌装置
6日前
日本バイリーン株式会社
フィルタ
20日前
サンノプコ株式会社
消泡剤
1か月前
東レ株式会社
遠心ポッティング方法
27日前
トヨタ自動車株式会社
濾過装置
21日前
株式会社切川物産
撹拌装置
7日前
トヨタ紡織株式会社
フィルタ
今日
栗田工業株式会社
ギ酸の回収方法
7日前
個人
気液混合装置
1か月前
トヨタ紡織株式会社
水流帯電装置
今日
松岡紙業 株式会社
油吸着体の製造方法
1か月前
富士電機株式会社
ガス処理システム
1か月前
株式会社フクハラ
圧縮空気圧回路ユニット
1か月前
東芝ライテック株式会社
光照射装置
21日前
株式会社明電舎
成膜装置
1か月前
日本化薬株式会社
直鎖ブテン製造用触媒及びその使用
27日前
東芝ライテック株式会社
紫外線処理装置
6日前
個人
フッ化炭素糸物にフッ素をコーティングした浄水手段
1か月前
三浦工業株式会社
撹拌装置
1か月前
いであ株式会社
PFAS除去用バイオ炭の製造方法
22日前
栗田工業株式会社
有機物含有水の脱泡処理装置
14日前
JFEエンジニアリング株式会社
二酸化炭素回収方法
1か月前
三菱重工業株式会社
石膏脱水システム
20日前
オルガノ株式会社
ろ過膜の洗浄方法及び洗浄装置
14日前
続きを見る
他の特許を見る