TOP
|
特許
|
意匠
|
商標
特許ウォッチ
Twitter
他の特許を見る
公開番号
2025165634
公報種別
公開特許公報(A)
公開日
2025-11-05
出願番号
2024069814
出願日
2024-04-23
発明の名称
光照射装置
出願人
東芝ライテック株式会社
代理人
個人
,
個人
主分類
B01J
19/12 20060101AFI20251028BHJP(物理的または化学的方法または装置一般)
要約
【課題】処理物における光の積算光量に面内分布が生じるのを抑制することができ、且つ、装置の小型化を図ることができる光照射装置を提供することである。
【解決手段】実施形態に係る光照射装置は、処理物に光を照射する放電ランプと;前記放電ランプから前記処理物に向かう光を遮断する第1の位置と、前記光を透過させる第2の位置と、の間を揺動移動する第1の遮光部と;前記第1の位置と、前記光を透過させる第3の位置と、の間を揺動移動する第2の遮光部と;を具備している。前記第1の遮光部と、前記第2の遮光部と、が、交互に揺動移動することで、前記光の透過と、前記光の遮断と、を切り換える。
【選択図】図2
特許請求の範囲
【請求項1】
処理物に光を照射する放電ランプと;
前記放電ランプから前記処理物に向かう光を遮断する第1の位置と、前記光を透過させる第2の位置と、の間を揺動移動する第1の遮光部と;
前記第1の位置と、前記光を透過させる第3の位置と、の間を揺動移動する第2の遮光部と;
を具備し、
前記第1の遮光部と、前記第2の遮光部と、が、交互に揺動移動することで、前記光の透過と、前記光の遮断と、を切り換える光照射装置。
続きを表示(約 480 文字)
【請求項2】
前記放電ランプの中心軸に沿った方向から見た場合に、前記第1の遮光部と、前記第2の遮光部と、は、前記放電ランプの外方に向けて湾曲した形態を有している請求項1記載の光照射装置。
【請求項3】
筒状を呈し、前記処理物と、前記放電ランプと、の間に設けられた反射部をさらに具備し、
前記処理物に向かう前記光の一部は、前記反射部の内壁で反射されて、前記処理物に入射する請求項1または2に記載の光照射装置。
【請求項4】
前記処理物が収納される空間を内部に有する容器と;
前記容器の前記空間に不活性ガスを供給するガス供給部と;
をさらに具備した請求項1または2に記載の光照射装置。
【請求項5】
前記処理物は、半導体ウェーハと、接着シートと、を具備し、
前記放電ランプは、前記接着シートに紫外線を照射し、
前記第1の遮光部と、前記第2の遮光部と、が、交互に揺動移動することで、前記紫外線が前記接着シートに照射される時間を10秒以下とする請求項1または2に記載の光照射装置。
発明の詳細な説明
【技術分野】
【0001】
本発明の実施形態は、光照射装置に関する。
続きを表示(約 1,500 文字)
【背景技術】
【0002】
処理物に光を照射して、処理物の処理を行う光照射装置がある。例えば、紫外線硬化型樹脂、紫外線硬化型接着剤、紫外線硬化型の樹脂を含む接着シートなどに紫外線を照射して、紫外線硬化型樹脂や紫外線硬化型接着剤を硬化させたり、接着シートの接着力を調整したりする光照射装置が提案されている。
【0003】
ここで、処理物における紫外線の積算光量に面内分布があると、処理物における硬化の程度や接着力などに面内分布が生じて、処理の品質が低下するおそれがある。そのため、処理物を一方向に移動させ、一方向に移動する処理物に水銀ランプから紫外線を照射する光照射装置が提案されている。この様にすれば、処理物における紫外線の積算光量に面内分布が生じるのを抑制することができる。
【0004】
ところが、紫外線を照射するために処理物を移動させると、処理物の移動方向における光照射装置のサイズが大きくなる。
そのため、処理物における光の積算光量に面内分布が生じるのを抑制することができ、且つ、装置の小型化を図ることができる光照射装置の開発が望まれていた。
【先行技術文献】
【特許文献】
【0005】
特許第5324130号公報
【発明の概要】
【発明が解決しようとする課題】
【0006】
本発明が解決しようとする課題は、処理物における光の積算光量に面内分布が生じるのを抑制することができ、且つ、装置の小型化を図ることができる光照射装置を提供することである。
【課題を解決するための手段】
【0007】
実施形態に係る光照射装置は、処理物に光を照射する放電ランプと;前記放電ランプから前記処理物に向かう光を遮断する第1の位置と、前記光を透過させる第2の位置と、の間を揺動移動する第1の遮光部と;前記第1の位置と、前記光を透過させる第3の位置と、の間を揺動移動する第2の遮光部と;を具備している。前記第1の遮光部と、前記第2の遮光部と、が、交互に揺動移動することで、前記光の透過と、前記光の遮断と、を切り換える。
【発明の効果】
【0008】
本発明の実施形態によれば、処理物における光の積算光量に面内分布が生じるのを抑制することができ、且つ、装置の小型化を図ることができる光照射装置を提供することができる。
【図面の簡単な説明】
【0009】
処理物を例示するための模式平面図である。
本実施形態に係る光照射装置を例示するための模式断面図である。
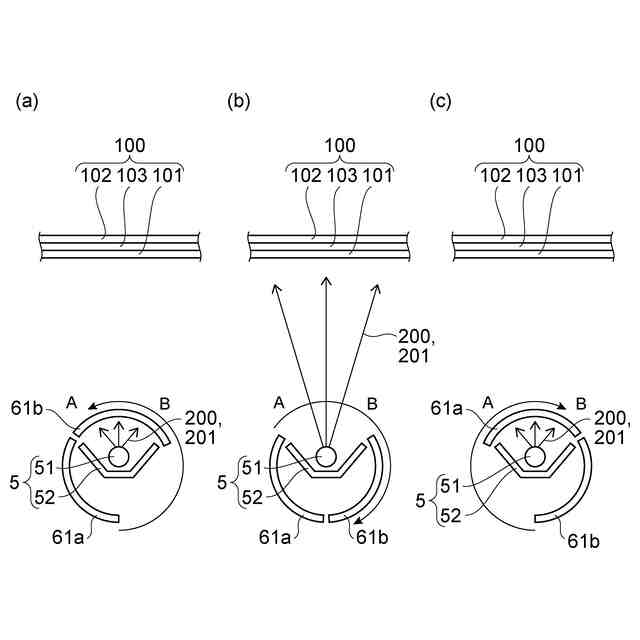
(a)~(c)は、比較例に係る遮光部の揺動移動を例示するための模式図である。
(a)~(c)は、本実施の形態に係る一対の遮光部の揺動移動を例示するための模式図である。
【発明を実施するための形態】
【0010】
以下、図面を参照しつつ、実施の形態について例示をする。なお、各図面中、同様の構成要素には同一の符号を付して詳細な説明は適宜省略する。
本実施の形態に係る光照射装置は、例えば、赤外線や遠赤外線を照射して処理物を加熱したり、紫外線を照射して、紫外線硬化型樹脂や紫外線硬化型接着剤を硬化させたり、紫外線硬化型の樹脂を含む接着シートの接着力を調整したり、処理物を殺菌したりするものとすることができる。照射される光の波長は、光照射装置の用途や処理の目的などに応じて適宜変更することができる。
(【0011】以降は省略されています)
この特許をJ-PlatPat(特許庁公式サイト)で参照する
関連特許
東芝ライテック株式会社
情報処理装置および情報処理方法
1日前
株式会社西部技研
除湿装置
1か月前
株式会社日本触媒
ドロー溶質
1か月前
プライミクス株式会社
攪拌装置
9日前
日本バイリーン株式会社
フィルタ
23日前
サンノプコ株式会社
消泡剤
1か月前
東レ株式会社
遠心ポッティング方法
1か月前
トヨタ自動車株式会社
濾過装置
24日前
株式会社切川物産
撹拌装置
10日前
トヨタ紡織株式会社
フィルタ
3日前
大和ハウス工業株式会社
反応装置
1か月前
個人
気液混合装置
1か月前
トヨタ紡織株式会社
水流帯電装置
3日前
栗田工業株式会社
ギ酸の回収方法
10日前
松岡紙業 株式会社
油吸着体の製造方法
1か月前
本田技研工業株式会社
ガス回収装置
1か月前
富士電機株式会社
ガス処理システム
1か月前
東芝ライテック株式会社
光照射装置
24日前
株式会社フクハラ
圧縮空気圧回路ユニット
1か月前
株式会社明電舎
成膜装置
1か月前
東芝ライテック株式会社
紫外線処理装置
9日前
日本化薬株式会社
直鎖ブテン製造用触媒及びその使用
1か月前
本田技研工業株式会社
二酸化炭素回収装置
1か月前
株式会社ダイセル
圧力容器
1日前
本田技研工業株式会社
二酸化炭素回収装置
1か月前
本田技研工業株式会社
二酸化炭素回収装置
1か月前
本田技研工業株式会社
二酸化炭素回収装置
1か月前
ノリタケ株式会社
触媒材料およびその利用
1か月前
本田技研工業株式会社
二酸化炭素回収装置
1か月前
ノリタケ株式会社
触媒材料およびその利用
1か月前
ノリタケ株式会社
触媒材料およびその利用
1か月前
Planet Savers株式会社
気体濃縮装置
1か月前
三浦工業株式会社
撹拌装置
1か月前
個人
フッ化炭素糸物にフッ素をコーティングした浄水手段
1か月前
いであ株式会社
PFAS除去用バイオ炭の製造方法
25日前
東京応化工業株式会社
ろ過処理方法、及び多孔質膜
1か月前
続きを見る
他の特許を見る