TOP
|
特許
|
意匠
|
商標
特許ウォッチ
Twitter
他の特許を見る
10個以上の画像は省略されています。
公開番号
2025147859
公報種別
公開特許公報(A)
公開日
2025-10-07
出願番号
2024048337
出願日
2024-03-25
発明の名称
ガス回収装置
出願人
本田技研工業株式会社
代理人
個人
,
個人
主分類
B01D
53/047 20060101AFI20250930BHJP(物理的または化学的方法または装置一般)
要約
【課題】通常運転時の消費電力を抑制でき、かつ、脱離工程を実施している最中に電源が喪失した場合でも、バルブを確実に全閉維持することができ、ガス回収装置を提供する。
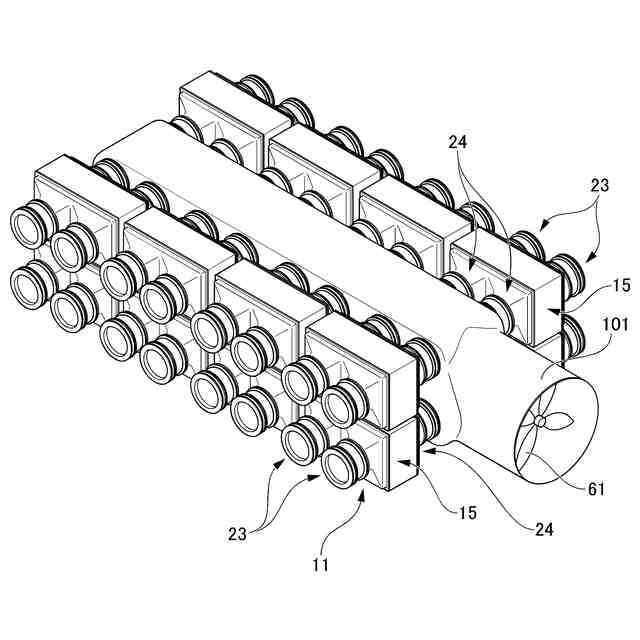
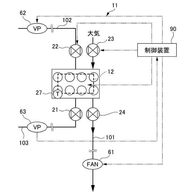
【解決手段】二酸化炭素回収装置1は、吸着材12を内部に有し、吸着材12に回収対象ガスを吸着させる吸着工程と、吸着材12の周囲を減圧した状態で加熱することにより吸着材12から回収対象ガスを脱離する脱離工程と、を実行するリアクター11と、リアクター11の内部に気体を供給するファン61と、リアクター11の気体の入口及び出口に設けられ、回転軸23b、24bを中心として板状のバルブ本体23a、24aが回転するバタフライ方式の第3バルブ23、第4バルブ24と、を備えたガス回収装置であって、バルブ本体23a、24aの板面の法線方向から見て、回転軸23b、24bの回転中心は、バルブ本体23a、24aの中心位置からオフセットされた位置にある。
【選択図】図5-1
特許請求の範囲
【請求項1】
吸着材を内部に有し、前記吸着材に対して回収対象ガスを含む気体を吸引して前記回収対象ガスを吸着させる吸着工程と、前記吸着材の周囲を減圧した状態で加熱することにより当該吸着材から前記回収対象ガスを脱離する脱離工程と、を実行するリアクターと、
前記リアクターの内部に気体を供給するファンと、
前記リアクターの気体の入口及び出口に設けられ、回転軸を中心として板状のバルブ本体が回転するバタフライ方式のバルブと、
を備えたガス回収装置であって、
前記バルブ本体の板面の法線方向から見て、前記回転軸の回転中心は、前記バルブ本体の中心位置からオフセットされた位置にある、ガス回収装置。
続きを表示(約 440 文字)
【請求項2】
請求項1に記載のガス回収装置において、
前記バルブは、前記バルブ本体を開方向へ付勢するリターンばねを有している、ガス回収装置。
【請求項3】
請求項2に記載のガス回収装置において、
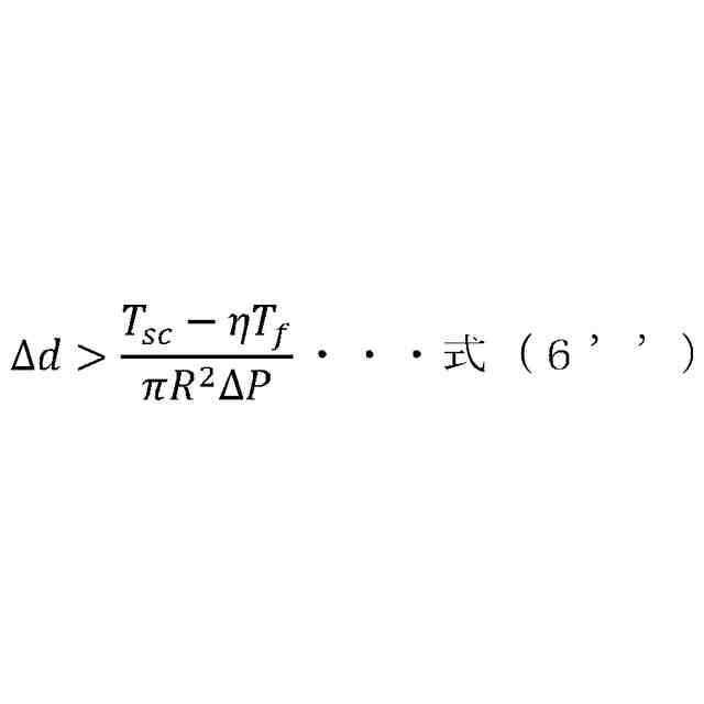
前記回転軸のオフセット量をΔd(m)、
前記バルブ本体の全閉時における前記リターンばねの開側へのトルクをT
sc
(Nm)、
前記バルブ本体の全閉時におけるシール円半径をR(m)、
脱離工程における前記リアクターの内外差圧をΔP(Pa)、
とすると、
TIFF
2025147859000007.tif
19
134
の関係を満たす、ガス回収装置。
【請求項4】
請求項1から請求項3までのいずれかに記載のガス回収装置において、
前記吸着材は、固体アミンであって、
前記回収対象ガスは、二酸化炭素である、ガス回収装置。
発明の詳細な説明
【技術分野】
【0001】
本開示は、ガス回収装置に関するものである。
続きを表示(約 1,500 文字)
【背景技術】
【0002】
従来、ガス回収装置として、例えば、大気等の二酸化炭素(CO
2
)濃度を低下させるために、大気中のCO
2
を回収する直接空気回収技術(DAC:Direct Air Capture)が知られている。DACシステムでは、例えば、吸着材を保持するリアクターに対し、CO
2
を含む空気等の気体を吸引して吸着材に吸着させ、吸着材を減圧加熱して吸着したCO
2
を脱離してCO
2
の回収を行う。
【0003】
DACシステムのCO
2
吸脱着リアクターにおけるCO
2
吸着材のCO
2
脱離・吸着材再生工程では、吸着材を収納するリアクターの筐体内部を、例えば絶対圧で20kPaから1kPaなどの圧力に減圧し、同時に、吸着材と接触配置した熱交換器などを用いて、例えば80℃から100℃程度に加熱してCO
2
の脱離を促進する。
【0004】
この際、空気導入・排出・密閉バルブとして、バタフライ型バルブを使う場合で、かつバルブ本体を言って方向へ付勢する付勢手段(リターンばね)を使う場合、リターンばねの突き当て位置(付勢方向)を、全開側に設定する。
【0005】
バルブを全閉に維持し続けることが要請されるCO
2
脱離工程よりも、バルブを全開に維持する必要があるCO
2
吸着工程のほうが長い時間を要する。そのため、吸着工程で、電気モータとギヤ機構を用いたバルブの全開側保持をリターンばねの力に任せることで、吸脱着工程全体で、なるべく電気モータの消費電力を費やさないようにすることができる。よって、上記のようなリターンばね設定、すなわち、リターンばねの突き当て位置(付勢方向)を、全開側に設定することは有効な手段である。
【0006】
バタフライ型バルブにおいて、バルブシャフトとバルブプレートとの回転軸を一致させずにバルブの開閉作動が可能であり、これにより、平板状のバルブプレートを用いることでコストダウンを図る技術が特許文献1に開示されている。
【先行技術文献】
【特許文献】
【0007】
特開2009-216184号公報
【発明の概要】
【発明が解決しようとする課題】
【0008】
しかし、リターンばねの突き当て位置(付勢方向)を、全開側に設定すると、仮に、落雷その他の原因により電源を喪失した場合には、全開側突き当てであるが故、モータトルクによる全閉維持をやめた途端に、リターンばねによりバルブが開放に至ってしまう可能性が存在する。
【0009】
吸着材に固体アミンを用いている場合には、高温状態で酸素に触れると固体アミンが酸化劣化してCO
2
吸着能力が大幅に低下することが知られている。吸着材の劣化というのは、運用コスト面からも、CO
2
回収量の維持という面からも避けたい事態である。そのため、電源喪失時などで、リアクター内の温度が、例えば60℃以下など、固体アミン吸着材への酸化ダメージがほとんど起こらない温度に低下するまで、脱離工程中のバルブの全閉状態を確実に維持する必要がある。
【0010】
本開示の課題は、通常運転時の消費電力を抑制でき、かつ、脱離工程を実施している最中に電源が喪失した場合でも、バルブを確実に全閉維持することができ、ガス回収装置を提供することである。
【課題を解決するための手段】
(【0011】以降は省略されています)
この特許をJ-PlatPat(特許庁公式サイト)で参照する
関連特許
本田技研工業株式会社
回転電機のロータ
8日前
株式会社西部技研
除湿装置
16日前
株式会社日本触媒
ドロー溶質
10日前
ユニチカ株式会社
複合中空糸膜
1か月前
東レ株式会社
中空糸膜モジュール
29日前
サンノプコ株式会社
消泡剤
8日前
東レ株式会社
遠心ポッティング方法
2日前
株式会社笹山工業所
濁水処理システム
1か月前
個人
攪拌装置
1か月前
大和ハウス工業株式会社
反応装置
23日前
松岡紙業 株式会社
油吸着体の製造方法
10日前
ヤマシンフィルタ株式会社
フィルタ装置
1か月前
個人
気液混合装置
8日前
本田技研工業株式会社
ガス回収装置
25日前
富士電機株式会社
ガス処理システム
5日前
株式会社フクハラ
圧縮空気圧回路ユニット
8日前
大陽日酸株式会社
CO2の回収方法
25日前
株式会社明電舎
成膜装置
5日前
日本化薬株式会社
直鎖ブテン製造用触媒及びその使用
2日前
本田技研工業株式会社
二酸化炭素回収装置
1か月前
本田技研工業株式会社
二酸化炭素回収装置
1か月前
本田技研工業株式会社
二酸化炭素回収装置
1か月前
本田技研工業株式会社
二酸化炭素回収装置
23日前
本田技研工業株式会社
二酸化炭素回収装置
18日前
本田技研工業株式会社
二酸化炭素回収装置
23日前
本田技研工業株式会社
二酸化炭素回収装置
23日前
ノリタケ株式会社
触媒材料およびその利用
23日前
ノリタケ株式会社
触媒材料およびその利用
23日前
ノリタケ株式会社
触媒材料およびその利用
23日前
本田技研工業株式会社
二酸化炭素回収装置
25日前
本田技研工業株式会社
二酸化炭素回収装置
23日前
本田技研工業株式会社
二酸化炭素回収装置
29日前
日東電工株式会社
吸着材
29日前
三浦工業株式会社
撹拌装置
5日前
Planet Savers株式会社
気体濃縮装置
25日前
東京応化工業株式会社
ろ過処理方法、及び多孔質膜
23日前
続きを見る
他の特許を見る