TOP
|
特許
|
意匠
|
商標
特許ウォッチ
Twitter
他の特許を見る
公開番号
2025147666
公報種別
公開特許公報(A)
公開日
2025-10-07
出願番号
2024048024
出願日
2024-03-25
発明の名称
気体濃縮装置
出願人
Planet Savers株式会社
代理人
個人
主分類
B01D
53/047 20060101AFI20250930BHJP(物理的または化学的方法または装置一般)
要約
【課題】気体から1段階の気体濃縮過程により二酸化炭素を回収する場合と比較して、より高濃度の二酸化炭素を回収することを可能とする。
【解決手段】気体濃縮装置1は、気体を取り入れる気体取入部10と、取り入れられた前記気体から二酸化炭素の濃度を高めた第1濃縮ガスを生成する第1濃縮部2と、前記第1濃縮ガスから更に二酸化炭素の濃度を高めた第2濃縮ガスを生成する第2濃縮部5と、外部へ前記第2濃縮ガスを排気するガス排気部70と、を備える。
【選択図】図1
特許請求の範囲
【請求項1】
(2段階での気体濃縮を圧力制御により行う)
気体を取り入れる気体取入部と、
取り入れられた前記気体から二酸化炭素の濃度を高めた第1濃縮ガスを生成する第1濃縮部と、
前記第1濃縮ガスから更に二酸化炭素の濃度を高めた第2濃縮ガスを生成する第2濃縮部と、
外部へ前記第2濃縮ガスを排気するガス排気部と、
を備える気体濃縮装置。
続きを表示(約 1,600 文字)
【請求項2】
(気体濃縮を圧力調整法により行う)
前記第1濃縮部は、前記気体から二酸化炭素を吸脱着し前記第1濃縮ガスを生成する第1吸着部を有し、
前記第2濃縮部は、前記第1濃縮ガスから二酸化炭素を吸脱着し前記第2濃縮ガスを生成する第2吸着部を有し、
前記第1濃縮部内の圧力及び前記第2濃縮部内の圧力を調整可能に構成されるポンプと、
前記ポンプを制御し、前記第1濃縮部内の圧力及び前記第2濃縮部内の圧力を調整する制御装置と、
を更に備える、請求項1に記載の気体濃縮装置。
【請求項3】
(気体濃縮を並列した吸着タンクで行う)
前記第1濃縮部は、前記気体の給気先を切り替え可能に構成される第1切替部を有し、
前記第1吸着部は、第1吸着タンクと、第2吸着タンクと、を有し、
前記第2濃縮部は、前記第1濃縮ガスの給気先を切り替え可能に構成される第2切替部を有し、
前記第2吸着部は、第3吸着タンクと、第4吸着タンクと、を有し、
前記制御装置は、前記第1切替部を制御し、前記気体の給気先を切り替え、前記第2切替部を制御し、前記第1濃縮ガスの給気先を切り替える、
請求項1に記載の気体濃縮装置。
【請求項4】
(第1濃縮部内の気体容積と第2濃縮部内の気体容積が異なる)
前記第1濃縮部内の気体の容積と、前記第2濃縮部内の気体の容積と、が異なる、
請求項3に記載の気体濃縮装置。
【請求項5】
(2段階目の吸着タンクは、1段階目の吸着タンクよりも小さい)
前記第3吸着タンクの容積又は前記第4吸着タンクの容積は、前記第1吸着タンクの容積又は前記第2吸着タンクの容積よりも小さい、
請求項4に記載の気体濃縮装置。
【請求項6】
(2段階目の吸着タンクは、1段階目の吸着タンクよりも小さい旨を数値限定)
前記第3吸着タンクの容積又は前記第4吸着タンクの容積は、前記第1吸着タンクの容積又は前記第2吸着タンクの容積の4分の3以下且つ2分の1以上である、
請求項5に記載の気体濃縮装置。
【請求項7】
(2段階目のバッファタンクは、1段階目のバッファタンクよりも小さい)
前記第1濃縮部は、前記第1濃縮部内の圧力変動を緩和する第1バッファタンクを有し、
前記第2濃縮部は、前記第2濃縮部内の圧力変動を緩和する第2バッファタンクを有し、
前記第2バッファタンクの容積は、前記第1バッファタンクの容積よりも小さい、
請求項4に記載の気体濃縮装置。
【請求項8】
(第2濃縮部へのガスの流量を調整する絞り弁を有する)
前記第1濃縮ガスの流量を調整可能に構成される絞り弁を更に備える、
請求項3に記載の気体濃縮装置。
【請求項9】
(排気弁により、適切なタイミングで排気を行う)
前記第1濃縮部は、前記第1濃縮ガスを排気する第1排気弁を有し、
前記第2濃縮部は、前記第2濃縮ガスを排気する第2排気弁を有し、
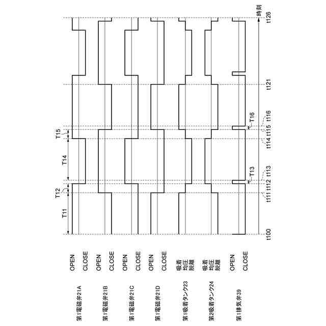
前記制御装置は、前記第1切替部と前記第1排気弁を連動して制御して、前記気体の排気及び前記第1濃縮ガスの排気のタイミングを調整し、且つ、前記第2切替部と前記第2排気弁を連動して制御して、前記第1濃縮ガスの排気及び前記第2濃縮ガスの排気のタイミングを調整する、
請求項3に記載の気体濃縮装置。
【請求項10】
(フィルタを追加し、脱離した吸着材等が回収ガスに混入することを防止)
前記第1濃縮部は、前記第1濃縮ガスをフィルタリングする第1フィルタを有し、
前記第2濃縮部は、前記第2濃縮ガスをフィルタリングする第2フィルタを有する、
請求項3に記載の気体濃縮装置。
発明の詳細な説明
【技術分野】
【0001】
本発明は、大気中からの気体濃縮装置に関する。
続きを表示(約 1,200 文字)
【背景技術】
【0002】
従来から、気体中の気体成分を濃縮する装置が知られていた。
【0003】
例えば、特許文献1には、二酸化炭素を含む原料ガス(気体)から、1段階の気体濃縮過程を経て、高濃度の二酸化炭素を回収する気体濃縮装置が記載されている。
【先行技術文献】
【特許文献】
【0004】
特開2022-127000号公報
【発明の概要】
【発明が解決しようとする課題】
【0005】
しかしながら、特許文献1に記載の技術では、気体の濃度に応じて濃縮可能な気体濃度に限度があり、ごく低濃度の大気中からより高濃度の二酸化炭素を直接回収することは出来なかった。
【0006】
上記課題に鑑み、本発明は、気体から1段階の気体濃縮過程により二酸化炭素を回収する場合と比較して、より高濃度の二酸化炭素を回収することを可能とする気体濃縮装置を提供することを目的とする。
【課題を解決するための手段】
【0007】
上記課題を解決するために、本発明の第1態様によれば、以下の気体濃縮装置が提供される。この気体濃縮装置は、気体を取り入れる気体取入部と、取り入れられた前記気体から二酸化炭素の濃度を高めた第1濃縮ガスを生成する第1濃縮部と、前記第1濃縮ガスから更に二酸化炭素の濃度を高めた第2濃縮ガスを生成する第2濃縮部と、外部へ前記第2濃縮ガスを排気するガス排気部と、を備える。
【0008】
また、本発明の第2態様に係る気体濃縮装置では、前記第1濃縮部は、前記気体から二酸化炭素を吸脱着し前記第1濃縮ガスを生成する第1吸着部を有し、前記第2濃縮部は、前記第1濃縮ガスから二酸化炭素を吸脱着し前記第2濃縮ガスを生成する第2吸着部を有し、前記第1濃縮部内の圧力及び前記第2濃縮部内の圧力を調整可能に構成されるポンプと、前記ポンプを制御し、前記第1濃縮部内の圧力及び前記第2濃縮部内の圧力を調整する制御装置と、を更に備える。
【0009】
また、本発明の第3態様に係る気体濃縮装置では、前記第1濃縮部は、前記気体の給気先を切り替え可能に構成される第1切替部を有し、前記第1吸着部は、第1吸着タンクと、第2吸着タンクと、を有し、前記第2濃縮部は、前記第1濃縮ガスの給気先を切り替え可能に構成される第2切替部を有し、前記第2吸着部は、第3吸着タンクと、第4吸着タンクと、を有し、前記制御装置は、前記第1切替部を制御し、前記気体の給気先を切り替え、前記第2切替部を制御し、前記第1濃縮ガスの給気先を切り替える。
【0010】
また、本発明の第4態様に係る気体濃縮装置では、前記第1濃縮部内の気体の容積と、前記第2濃縮部内の気体の容積と、が異なる。
(【0011】以降は省略されています)
この特許をJ-PlatPat(特許庁公式サイト)で参照する
関連特許
株式会社西部技研
除湿装置
22日前
株式会社日本触媒
ドロー溶質
16日前
サンノプコ株式会社
消泡剤
14日前
日本バイリーン株式会社
フィルタ
1日前
東レ株式会社
遠心ポッティング方法
8日前
トヨタ自動車株式会社
濾過装置
2日前
個人
気液混合装置
14日前
大和ハウス工業株式会社
反応装置
29日前
松岡紙業 株式会社
油吸着体の製造方法
16日前
株式会社フクハラ
圧縮空気圧回路ユニット
14日前
東芝ライテック株式会社
光照射装置
2日前
富士電機株式会社
ガス処理システム
11日前
株式会社明電舎
成膜装置
11日前
日本化薬株式会社
直鎖ブテン製造用触媒及びその使用
8日前
本田技研工業株式会社
二酸化炭素回収装置
29日前
ノリタケ株式会社
触媒材料およびその利用
29日前
ノリタケ株式会社
触媒材料およびその利用
29日前
ノリタケ株式会社
触媒材料およびその利用
29日前
本田技研工業株式会社
二酸化炭素回収装置
24日前
本田技研工業株式会社
二酸化炭素回収装置
29日前
本田技研工業株式会社
二酸化炭素回収装置
29日前
本田技研工業株式会社
二酸化炭素回収装置
29日前
いであ株式会社
PFAS除去用バイオ炭の製造方法
3日前
個人
フッ化炭素糸物にフッ素をコーティングした浄水手段
14日前
東京応化工業株式会社
ろ過処理方法、及び多孔質膜
29日前
三浦工業株式会社
撹拌装置
11日前
JFEエンジニアリング株式会社
二酸化炭素回収方法
14日前
TPR株式会社
多孔質ブリーザ
29日前
日本碍子株式会社
電気加熱式担体
29日前
日本碍子株式会社
電気加熱式担体
28日前
三菱重工業株式会社
石膏脱水システム
1日前
三菱ケミカル株式会社
精製ガスの製造方法
28日前
大阪瓦斯株式会社
二酸化炭素回収システム
28日前
みづほ工業株式会社
撹拌装置、及び撹拌羽根取付け方法
17日前
パナソニックIPマネジメント株式会社
除湿装置
21日前
パナソニックIPマネジメント株式会社
除湿装置
21日前
続きを見る
他の特許を見る