TOP
|
特許
|
意匠
|
商標
特許ウォッチ
Twitter
他の特許を見る
10個以上の画像は省略されています。
公開番号
2025142948
公報種別
公開特許公報(A)
公開日
2025-10-01
出願番号
2024042596
出願日
2024-03-18
発明の名称
二酸化炭素回収装置
出願人
本田技研工業株式会社
代理人
個人
,
個人
主分類
B01D
53/047 20060101AFI20250924BHJP(物理的または化学的方法または装置一般)
要約
【課題】ヒートポンプ式の熱源器の熱制御によって脱離工程及び吸着工程を行う二酸化炭素回収装置において、装置全体の熱負荷変動を抑制し、連続的な運転を可能にできる構成を提供すること。
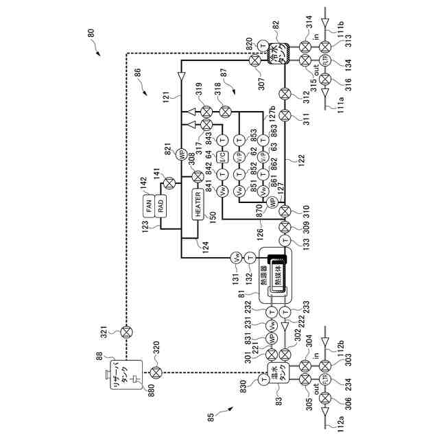
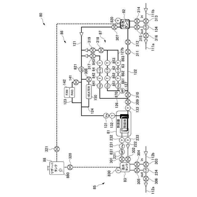
【解決手段】二酸化炭素回収装置1の熱交換装置70は、ヒートポンプ式の熱源器81と、温水を貯留する温水タンク83を含み、当該温水タンク83と熱源器81の間で温水を循環させる熱源高温水回路85と、冷水を貯留する冷水タンク82を含み、当該冷水タンク82と熱源器81の間で冷水を循環させる熱源低温水回路86と、温水タンク83からモジュール11に温水を供給する温水往ライン112aと、温水タンク83にモジュール11の加熱後の温水を戻す温水復ライン112bと、冷水タンク82からモジュール11に冷水を供給する冷水往ライン111aと、冷水タンク82にモジュール11の冷却後の冷水を戻す冷水復ライン111bと、を有する。
【選択図】図5
特許請求の範囲
【請求項1】
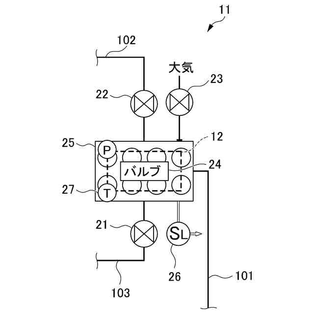
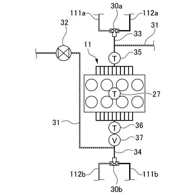
吸着材を内部に有し、前記吸着材に対して二酸化炭素を含む気体を吸引して前記二酸化炭素を吸着させる吸着工程と、前記吸着材の周囲を減圧した状態で加熱することにより当該吸着材から前記二酸化炭素を脱離する脱離工程と、を実行する複数のモジュールと、
前記モジュールのそれぞれに対して加熱用熱媒体を供給する加熱及び冷却用熱媒体を供給する冷却を実行可能な熱交換装置と、
前記加熱用熱媒体又は前記冷却用熱媒体を選択的に前記モジュールに供給可能な流路制御部と、
を備え、
前記熱交換装置は、
前記加熱用熱媒体を加熱するとともに前記冷却用熱媒体を冷却するヒートポンプ式の熱源器と、
前記熱源器で加熱された前記加熱用熱媒体を貯留する加熱用熱媒体タンクを含み、当該加熱用熱媒体タンクと前記熱源器の間で前記加熱用熱媒体を循環させる熱源高温水回路と、
前記熱源器で冷却された前記冷却用熱媒体を貯留する冷却用熱媒体タンクを含み、当該冷却用熱媒体タンクと前記熱源器の間で前記冷却用熱媒体を循環させる熱源低温水回路と、
前記加熱用熱媒体タンクから前記モジュールに前記加熱用熱媒体を供給する加熱用熱媒体往ラインと、
前記加熱用熱媒体タンクに前記モジュールの加熱後の前記加熱用熱媒体を戻す加熱用熱媒体復ラインと、
前記冷却用熱媒体タンクから前記モジュールに前記冷却用熱媒体を供給する冷却用熱媒体往ラインと、
前記冷却用熱媒体タンクに前記モジュールの冷却後の前記冷却用熱媒体を戻す冷却用熱媒体復ラインと、
を有する、
二酸化炭素回収装置。
続きを表示(約 940 文字)
【請求項2】
前記流路制御部は、
前記モジュールのそれぞれに対して流路を制御可能に構成され、
前記吸着工程を実行する前記モジュールに対しては前記冷却用熱媒体を供給し、
前記脱離工程を実行する前記モジュールに対しては前記加熱用熱媒体を供給する、
請求項1に記載の二酸化炭素回収装置。
【請求項3】
前記流路制御部は、
前記モジュールに対して供給される前記冷却用熱媒体又は前記加熱用熱媒体の流量を調整可能に構成される、
請求項2に記載の二酸化炭素回収装置。
【請求項4】
前記流路制御部は、
前記脱離工程の昇温初期段階では前記加熱用熱媒体の流量を相対的に大きくし、
前記昇温初期段階の経過後の温度保持段階では前記加熱用熱媒体の流量を相対的に小さく制御する、
請求項3に記載の二酸化炭素回収装置。
【請求項5】
前記熱源高温水回路は、
前記加熱用熱媒体タンクから前記熱源器に前記加熱用熱媒体を送る加熱用熱媒体側熱源往ラインと、
前記熱源器から前記加熱用熱媒体タンクに前記加熱用熱媒体を戻す加熱用熱媒体側熱源復ラインと、を有し、
前記加熱用熱媒体タンクの各ラインの接続位置は、上から下に向かって前記加熱用熱媒体側熱源復ライン、前記加熱用熱媒体往ライン、前記加熱用熱媒体側熱源往ライン、前記加熱用熱媒体復ラインの順になるように設定される、
請求項1から4の何れかに記載の二酸化炭素回収装置。
【請求項6】
前記熱源低温水回路は、
前記冷却用熱媒体タンクから前記熱源器に前記冷却用熱媒体を送る冷却用熱媒体側熱源往ラインと、
前記熱源器から前記冷却用熱媒体タンクに前記冷却用熱媒体を戻す冷却用熱媒体側熱源復ラインと、を有し、
前記冷却用熱媒体タンクの各ラインの接続位置は、上から下に向かって前記冷却用熱媒体復ライン、前記冷却用熱媒体側熱源復ライン、前記冷却用熱媒体往ライン、前記冷却用熱媒体側熱源往ライン、の順になるように設定される、
請求項1から4の何れかに記載の二酸化炭素回収装置。
発明の詳細な説明
【技術分野】
【0001】
本発明は、二酸化炭素回収装置に関する。
続きを表示(約 2,000 文字)
【背景技術】
【0002】
従来、熱媒体を利用して対象機器を加温や冷却を行うシステムにおいてヒートポンプ等の熱源器を利用する技術が知られている。この種の技術が記載されるものとして例えば特許文献1がある。特許文献1は、空調空間を所定の温度・湿度状態に保つ省エネルギー型換気空調システムに関するものである。
【先行技術文献】
【特許文献】
【0003】
特開2010-276217号公報
【発明の概要】
【発明が解決しようとする課題】
【0004】
ところで、吸着材を保持するモジュールに対し、二酸化炭素を含む空気等の気体を吸引して吸着材に吸着させ、吸着材を減圧加熱して吸着した二酸化炭素を脱離して二酸化炭素の回収を行う二酸化炭素回収装置においても、ヒートポンプ等の熱源器が利用されている。
【0005】
特許文献1に記載されるようなヒートポンプは、日中の電力負荷影響のピークカットを考慮し、温冷熱の生成は電力負荷が小さい夜間に生成することが前提となっている。昼夜に限らず連続運転を行う可能性がある二酸化炭素回収装置に従来技術のようなヒートポンプ式の熱源器をそのまま適用すれば、熱負荷変動が大きくなってしまう。
【0006】
本発明は、ヒートポンプ式の熱源器の熱制御によって脱離工程及び吸着工程を行う二酸化炭素回収装置において、装置全体の熱負荷変動を抑制し、連続的な運転を可能にできる構成を提供することを目的とする。
【課題を解決するための手段】
【0007】
(1)本発明は、吸着材(例えば、後述する吸着材12)を内部に有し、前記吸着材に対して二酸化炭素を含む気体を吸引して前記二酸化炭素を吸着させる吸着工程と、前記吸着材の周囲を減圧した状態で加熱することにより当該吸着材から前記二酸化炭素を脱離する脱離工程と、を実行する複数のモジュール(例えば、後述するモジュール11)と、前記モジュールのそれぞれに対して加熱用熱媒体(例えば、後述する温水)を供給する加熱及び冷却用熱媒体(例えば、後述する冷水)を供給する冷却を実行可能な熱交換装置(例えば、後述する熱交換装置70)と、前記加熱用熱媒体又は前記冷却用熱媒体を選択的に前記モジュールに供給可能な流路制御部(例えば、後述する三方弁30a及び三方弁30a)と、を備え、前記熱交換装置は、前記加熱用熱媒体を加熱するとともに前記冷却用熱媒体を冷却するヒートポンプ式の熱源器(例えば、後述する熱源器81)と、前記熱源器で加熱された前記加熱用熱媒体を貯留する加熱用熱媒体タンク(例えば、後述する温水タンク83)を含み、当該加熱用熱媒体タンクと前記熱源器の間で前記加熱用熱媒体を循環させる熱源高温水回路(例えば、後述する熱源高温水回路85)と、前記熱源器で冷却された前記冷却用熱媒体を貯留する冷却用熱媒体タンク(例えば、後述する冷水タンク82)を含み、当該冷却用熱媒体タンクと前記熱源器の間で前記冷却用熱媒体を循環させる熱源低温水回路(例えば、後述する熱源低温水回路86)と、前記加熱用熱媒体タンクから前記モジュールに前記加熱用熱媒体を供給する加熱用熱媒体往ライン(例えば、後述する温水往ライン112a)と、前記加熱用熱媒体タンクに前記モジュールの加熱後の前記加熱用熱媒体を戻す加熱用熱媒体復ライン(例えば、後述する温水復ライン112b)と、前記冷却用熱媒体タンクから前記モジュールに前記冷却用熱媒体を供給する冷却用熱媒体往ライン(例えば、後述する冷水往ライン111a)と、前記冷却用熱媒体タンクに前記モジュールの冷却後の前記冷却用熱媒体を戻す冷却用熱媒体復ライン(例えば、後述する冷水復ライン111b)と、を有する、二酸化炭素回収装置(例えば、後述する二酸化炭素回収装置1)である。
【0008】
(2)上記(1)に記載の二酸化炭素回収装置において、前記流路制御部は、前記モジュールのそれぞれに対して流路を制御可能に構成され、前記吸着工程を実行する前記モジュールに対しては前記冷却用熱媒体を供給し、前記脱離工程を実行する前記モジュールに対しては前記加熱用熱媒体を供給してもよい。
【0009】
(3)上記(2)に記載の二酸化炭素回収装置において、前記流路制御部は、前記モジュールに対して供給される前記冷却用熱媒体又は前記加熱用熱媒体の流量を調整可能に構成されてもよい。
【0010】
(4)上記(3)に記載の二酸化炭素回収装置において、前記流路制御部は、前記脱離工程の昇温初期段階では前記加熱用熱媒体の流量を相対的に大きくし、前記昇温初期段階の経過後の温度保持段階では前記加熱用熱媒体の流量を相対的に小さく制御してもよい。
(【0011】以降は省略されています)
この特許をJ-PlatPat(特許庁公式サイト)で参照する
関連特許
本田技研工業株式会社
車両
28日前
本田技研工業株式会社
車両
21日前
本田技研工業株式会社
車両
28日前
本田技研工業株式会社
固体電池
24日前
本田技研工業株式会社
排気装置
28日前
本田技研工業株式会社
除草装置
28日前
本田技研工業株式会社
発電セル
28日前
本田技研工業株式会社
固体電池
28日前
本田技研工業株式会社
内燃機関
28日前
本田技研工業株式会社
排気装置
28日前
本田技研工業株式会社
二次電池
24日前
本田技研工業株式会社
触媒装置
24日前
本田技研工業株式会社
排気装置
28日前
本田技研工業株式会社
全固体電池
24日前
本田技研工業株式会社
電極積層体
28日前
本田技研工業株式会社
電動船外機
24日前
本田技研工業株式会社
リアクトル
28日前
本田技研工業株式会社
鞍乗型車両
28日前
本田技研工業株式会社
全固体電池
24日前
本田技研工業株式会社
鞍乗型車両
28日前
本田技研工業株式会社
始動制御装置
28日前
本田技研工業株式会社
燃料電池構造
28日前
本田技研工業株式会社
始動制御装置
28日前
本田技研工業株式会社
鞍乗り型車両
28日前
本田技研工業株式会社
車両制御装置
28日前
本田技研工業株式会社
電池製造装置
28日前
本田技研工業株式会社
燃料電池装置
28日前
本田技研工業株式会社
電池モジュール
24日前
本田技研工業株式会社
電池モジュール
24日前
本田技研工業株式会社
差圧式電解装置
15日前
本田技研工業株式会社
電動無段変速装置
17日前
本田技研工業株式会社
駆動装置ユニット
18日前
本田技研工業株式会社
燃料電池スタック
28日前
本田技研工業株式会社
回転電機のロータ
14日前
本田技研工業株式会社
バッテリシステム
24日前
本田技研工業株式会社
スポット溶接方法
1日前
続きを見る
他の特許を見る