TOP
|
特許
|
意匠
|
商標
特許ウォッチ
Twitter
他の特許を見る
公開番号
2025146420
公報種別
公開特許公報(A)
公開日
2025-10-03
出願番号
2024047179
出願日
2024-03-22
発明の名称
二酸化炭素回収装置
出願人
本田技研工業株式会社
代理人
個人
,
個人
主分類
B01D
53/047 20060101AFI20250926BHJP(物理的または化学的方法または装置一般)
要約
【課題】脱離工程や吸着工程における温度の昇温及び冷却を適切な流量の熱媒体で正確に行うことができるとともに、省エネルギー化を実現できる二酸化炭素回収装置を提供すること。
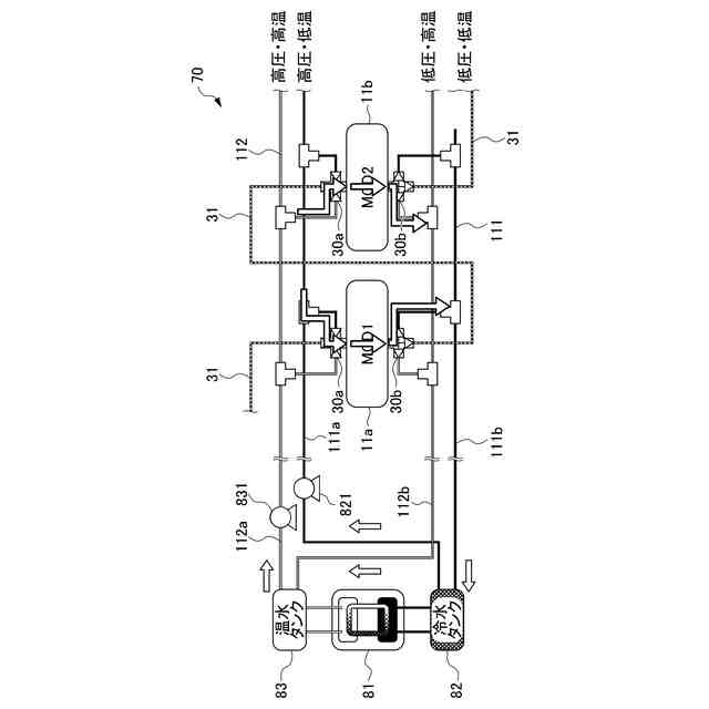
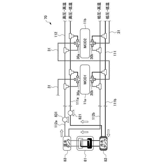
【解決手段】二酸化炭素回収装置1は、第1のモジュール11aを通過した熱媒体を、当該第1のモジュール11aとは異なる第2のモジュール11bに対して導入可能なバイパスライン31と、モジュール11のそれぞれに配置され、温水ライン112、冷水ライン111又はバイパスライン31の中からモジュール11に供給する熱媒体の経路を切り替え、モジュール11を通過する熱媒体の流量を調整可能な上流側四方弁30a及び下流側四方弁30bと、上流側四方弁30a及び下流側四方弁30bを制御することにより、熱媒体の経路を切り替える切替制御及び熱媒体の流量を調整する流量制御を、吸着材12の状況に応じて変更する制御装置90とを備える。
【選択図】図3
特許請求の範囲
【請求項1】
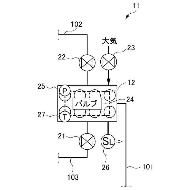
吸着材を内部に有し、前記吸着材に対して二酸化炭素を含む気体を吸引して前記二酸化炭素を吸着させる吸着工程と、前記吸着材の周囲を減圧した状態で加熱することにより当該吸着材から前記二酸化炭素を脱離する脱離工程と、を実行する複数のモジュールと、
前記複数のモジュールのそれぞれに対して前記脱離工程を行う前記吸着材を加熱するために相対的に高温な熱媒体を供給するための加熱用熱媒体ラインと、
前記吸着工程を行う前記吸着材を冷却するために相対的に低温の熱媒体を供給するための冷却用熱媒体ラインと、
前記加熱用熱媒体ラインを流れる前記熱媒体を加熱するとともに前記冷却用熱媒体ラインを流れる前記熱媒体を冷却可能な熱源器と、
前記複数のモジュールのうちの1つである第1のモジュールを通過した前記熱媒体を、当該第1のモジュールとは異なる第2のモジュールに対して導入可能なバイパスラインと、
前記モジュールのそれぞれに配置され、前記加熱用熱媒体ライン、前記冷却用熱媒体ライン又は前記バイパスラインの中から前記モジュールに供給する前記熱媒体の経路を切り替えるとともに、前記モジュールを通過する前記熱媒体の流量を調整可能な流量調整装置と、
前記流量調整装置を制御することにより、前記熱媒体の経路を切り替える切替制御及び前記熱媒体の流量を調整する流量制御を、前記吸着材の状況に応じて変更する制御装置と、
を備える二酸化炭素回収装置。
続きを表示(約 950 文字)
【請求項2】
前記流量調整装置は、
前記モジュールの上流側に接続されるとともに、前記加熱用熱媒体ライン、前記冷却用熱媒体ライン及び前記バイパスラインが接続される上流側四方弁と、
前記モジュールの下流側に接続されるとともに、前記加熱用熱媒体ライン、前記冷却用熱媒体ライン及び前記バイパスラインが接続される下流側四方弁と、
により構成され、
前記制御装置は、前記上流側四方弁及び前記下流側四方弁の内部流路を切り替えることにより、前記モジュールに供給される前記熱媒体の経路を切り替える、
請求項1に記載の二酸化炭素回収装置。
【請求項3】
前記制御装置は、
前記加熱用熱媒体ラインから供給される前記熱媒体により前記吸着材を前記脱離工程の所定温度まで昇温する昇温段階の流量に対し、前記昇温によって前記所定温度に達した前記吸着材の温度を前記所定温度に維持する保持段階の流量が少なくなるように前記流量制御を行う、
請求項1又は2に記載の二酸化炭素回収装置。
【請求項4】
前記制御装置は、
前記脱離工程後に、前記冷却用熱媒体ラインから供給される前記熱媒体により前記第1のモジュールの前記吸着材の冷却を行うとともに、前記第1のモジュールの冷却を行った前記熱媒体を前記第2のモジュールに前記バイパスラインを通じて供給することにより、前記第2のモジュールの昇温を行うバイパス制御を行う、
請求項1又は2に記載の二酸化炭素回収装置。
【請求項5】
前記制御装置は、
前記バイパス制御後に、前記第1のモジュールに対して前記冷却用熱媒体ラインから供給される前記熱媒体の流量を前記バイパス制御よりも多くする制御を行う、
請求項4に記載の二酸化炭素回収装置。
【請求項6】
前記制御装置は、
前記バイパス制御後に、前記バイパスラインから前記第2のモジュールへの経路を閉鎖するとともに、当該第2のモジュールに対して前記バイパス制御で供給された前記熱媒体の流量よりも多い流量で前記加熱用熱媒体ラインから前記熱媒体を供給する、
請求項4に記載の二酸化炭素回収装置。
発明の詳細な説明
【技術分野】
【0001】
本発明は、二酸化炭素回収装置に関する。
続きを表示(約 2,400 文字)
【背景技術】
【0002】
従来、大気等の二酸化炭素を含む気体から二酸化炭素を回収する技術が知られている。この種の技術が記載されるものとして例えば特許文献1がある。特許文献1には、ガス状二酸化炭素をガス混合物から、ガス状二酸化炭素を吸着する吸着剤を用いた循環式吸着/脱着によって、分離する方法が記載されている。
【先行技術文献】
【特許文献】
【0003】
特表2017-528318号公報
【発明の概要】
【発明が解決しようとする課題】
【0004】
ところで、吸着材を有するモジュールを複数用いて脱離工程や吸着工程を同時並行で行う二酸化炭素回収装置において、第1のモジュールの吸着材を冷却用の熱媒体により冷却する一方、第2のモジュールには加熱用の熱媒体により吸着材を昇温することがある。エネルギー効率を向上させるため、第1のモジュールから排熱回収を行って、回収した熱を第2のモジュールの吸着材の昇温に利用することが考えられる。
【0005】
第2のモジュールの吸着材を脱離可能な温度まで昇温するためには第1のモジュールからの排熱回収だけでは十分ではない場合もある。昇温段階によって利用する熱媒体を切り替えることも考えらえるが、モジュールに流れる熱媒体の必要十分な流量は、使用する熱媒体の温度ポテンシャルや脱離工程や吸着工程の各段階で異なる。そのため、モジュールに供給される熱媒体の温度ポテンシャルや吸着材の状況を考慮せず、一定の流量で熱媒体を流通させると必要以上に吸着材を昇温したり、冷却したりするおそれがある。また、流量はポンプの仕事量に直結するため、熱媒体の流量は必要最小限に設定されることが好ましい。二酸化炭素回収装置の省エネルギー化が望まれており、熱媒体を循環させるためのポンプの電力消費抑制という点でも従来技術には課題があった。
【0006】
本発明は、脱離工程や吸着工程における温度の昇温及び冷却を適切な流量の熱媒体で正確に行うことができるとともに、省エネルギー化を実現できる二酸化炭素回収装置を提供することを目的とする。
【課題を解決するための手段】
【0007】
(1)本発明は、吸着材(例えば、後述する吸着材12)を内部に有し、前記吸着材に対して二酸化炭素を含む気体を吸引して前記二酸化炭素を吸着させる吸着工程と、前記吸着材の周囲を減圧した状態で加熱することにより当該吸着材から前記二酸化炭素を脱離する脱離工程と、を実行する複数のモジュール(例えば、後述するモジュール11)と、前記複数のモジュールのそれぞれに対して前記脱離工程を行う前記吸着材を加熱するために相対的に高温な熱媒体(例えば、後述する温水)を供給するための加熱用熱媒体ライン(例えば、後述する温水ライン112)と、前記吸着工程を行う前記吸着材を冷却するために相対的に低温の熱媒体(例えば、後述する冷水)を供給するための冷却用熱媒体ライン(例えば、後述する冷水ライン111)と、前記加熱用熱媒体ラインを流れる前記熱媒体を加熱するとともに前記冷却用熱媒体ラインを流れる前記熱媒体を冷却可能な熱源器(例えば、後述する熱源器81)と、前記複数のモジュールのうちの1つである第1のモジュールを通過した前記熱媒体を、当該第1のモジュールとは異なる第2のモジュールに対して導入可能なバイパスライン(例えば、後述するバイパスライン31)と、前記モジュールのそれぞれに配置され、前記加熱用熱媒体ライン、前記冷却用熱媒体ライン又は前記バイパスラインの中から前記モジュールに供給する前記熱媒体の経路を切り替えるとともに、前記モジュールを通過する前記熱媒体の流量を調整可能な流量調整装置(例えば、後述する上流側四方弁30a及び下流側四方弁30b)と、前記流量調整装置を制御することにより、前記熱媒体の経路を切り替える切替制御及び前記熱媒体の流量を調整する流量制御を、前記吸着材の状況に応じて変更する制御装置(例えば、後述する制御装置90)と、を備える二酸化炭素回収装置(例えば、後述する二酸化炭素回収装置1)である。
【0008】
(2)上記(1)に記載の二酸化炭素回収装置において、前記流量調整装置は、前記モジュールの上流側に接続されるとともに、前記加熱用熱媒体ライン、前記冷却用熱媒体ライン及び前記バイパスラインが接続される上流側四方弁(例えば、後述する上流側四方弁30a)と、前記モジュールの下流側に接続されるとともに、前記加熱用熱媒体ライン、前記冷却用熱媒体ライン及び前記バイパスラインが接続される下流側四方弁(例えば、後述する下流側四方弁30b)と、により構成され、前記制御装置は、前記上流側四方弁及び前記下流側四方弁の内部流路を切り替えることにより、前記モジュールに供給される前記熱媒体の経路を切り替えてもよい。
【0009】
(3)上記(1)又は(2)に記載の二酸化炭素回収装置において、前記制御装置は、前記加熱用熱媒体ラインから供給される前記熱媒体により前記吸着材を前記脱離工程の所定温度まで昇温する昇温段階の流量に対し、前記昇温によって前記所定温度に達した前記吸着材の温度を前記所定温度に維持する保持段階の流量が少なくなるように前記流量制御を行ってもよい。
【0010】
(4)上記(1)又は(2)に記載の二酸化炭素回収装置において、前記制御装置は、前記脱離工程後に、前記冷却用熱媒体ラインから供給される前記熱媒体により前記第1のモジュールの前記吸着材の冷却を行うとともに、前記第1のモジュールの冷却を行った前記熱媒体を前記第2のモジュールに前記バイパスラインを通じて供給することにより、前記第2のモジュールの昇温を行うバイパス制御を行ってもよい。
(【0011】以降は省略されています)
この特許をJ-PlatPat(特許庁公式サイト)で参照する
関連特許
本田技研工業株式会社
スポット溶接方法
1日前
本田技研工業株式会社
回転電機のロータ
14日前
本田技研工業株式会社
情報処理方法及びプログラム
今日
本田技研工業株式会社
制御装置、および、制御方法
1日前
本田技研工業株式会社
情報処理装置、情報処理方法、およびプログラム
今日
本田技研工業株式会社
作動装置
今日
本田技研工業株式会社
制御装置
2日前
本田技研工業株式会社
車両、制御方法、プログラム、記憶媒体、及び情報処理装置
今日
株式会社西部技研
除湿装置
22日前
株式会社日本触媒
ドロー溶質
16日前
東レ株式会社
中空糸膜モジュール
1か月前
日本バイリーン株式会社
フィルタ
1日前
サンノプコ株式会社
消泡剤
14日前
東レ株式会社
遠心ポッティング方法
8日前
トヨタ自動車株式会社
濾過装置
2日前
大和ハウス工業株式会社
反応装置
29日前
松岡紙業 株式会社
油吸着体の製造方法
16日前
個人
気液混合装置
14日前
東芝ライテック株式会社
光照射装置
2日前
本田技研工業株式会社
ガス回収装置
1か月前
大陽日酸株式会社
CO2の回収方法
1か月前
富士電機株式会社
ガス処理システム
11日前
株式会社フクハラ
圧縮空気圧回路ユニット
14日前
株式会社明電舎
成膜装置
11日前
日本化薬株式会社
直鎖ブテン製造用触媒及びその使用
8日前
ノリタケ株式会社
触媒材料およびその利用
29日前
ノリタケ株式会社
触媒材料およびその利用
29日前
本田技研工業株式会社
二酸化炭素回収装置
24日前
本田技研工業株式会社
二酸化炭素回収装置
1か月前
本田技研工業株式会社
二酸化炭素回収装置
29日前
本田技研工業株式会社
二酸化炭素回収装置
29日前
本田技研工業株式会社
二酸化炭素回収装置
29日前
本田技研工業株式会社
二酸化炭素回収装置
29日前
本田技研工業株式会社
二酸化炭素回収装置
1か月前
ノリタケ株式会社
触媒材料およびその利用
29日前
いであ株式会社
PFAS除去用バイオ炭の製造方法
3日前
続きを見る
他の特許を見る