TOP
|
特許
|
意匠
|
商標
特許ウォッチ
Twitter
他の特許を見る
10個以上の画像は省略されています。
公開番号
2025144474
公報種別
公開特許公報(A)
公開日
2025-10-02
出願番号
2024044276
出願日
2024-03-19
発明の名称
保持装置
出願人
本田技研工業株式会社
代理人
弁理士法人クシブチ国際特許事務所
主分類
H01M
50/204 20210101AFI20250925BHJP(基本的電気素子)
要約
【課題】所定の位置に向けて水を流し易い保持装置を提供する。
【解決手段】保持装置は、物品(19)が挿抜可能に保持される保持装置(1)において、挿抜方向(B1)に沿って延び、前記物品(19)が上面(52)に載置される載置部材(50)を備え、前記載置部材(50)は、前記挿抜方向(B1)に沿って高低差を有するように配置されており、前記載置部材(50)は、上面視において前記挿抜方向(B1)と直交する方向の両端部に位置して前記挿抜方向(B1)に沿って延びる第1端部(52a)と第2端部(52b)とを備え、前記第1端部(52a)と前記第2端部(52b)との一方は、他方に比べて前記挿抜方向(B1)における長さ(L1、L3)が長い。
【選択図】図5
特許請求の範囲
【請求項1】
物品(19)が挿抜可能に保持される保持装置(1)において、
挿抜方向(B1)に沿って延び、前記物品(19)が上面(52)に載置される載置部材(50)を備え、
前記載置部材(50)は、前記挿抜方向(B1)に沿って高低差を有するように配置されており、
前記載置部材(50)は、上面視において前記挿抜方向(B1)と直交する方向の両端部に位置して前記挿抜方向(B1)に沿って延びる第1端部(52a)と第2端部(52b)とを備え、
前記第1端部(52a)と前記第2端部(52b)との一方は、他方に比べて前記挿抜方向(B1)における長さ(L1、L3)が長い、
ことを特徴とする保持装置。
続きを表示(約 980 文字)
【請求項2】
前記第1端部(52a)及び前記第2端部(52b)には、前記載置部材(50)の上面から立設する第1壁部(53)及び第2壁部(54)がそれぞれ設けられている、
ことを特徴とする請求項1に記載の保持装置。
【請求項3】
前記載置部材(50)は、前記挿抜方向(B1)における低い側の端部に位置する第3端部(52c)を備え、
前記第3端部(52c)には、前記載置部材(50)の上面(52)から立設する第3壁部(55)が設けられている、
ことを特徴とする請求項2に記載の保持装置。
【請求項4】
前記載置部材(50)には、前記第3端部(52c)と、前記第1端部(52a)と前記第2端部(52b)の一方とが交わる位置に、排水部(58)が設けられる、
ことを特徴とする請求項3に記載の保持装置。
【請求項5】
鉛直方向に延びる流路形成部材(32、34)を備え、
前記排水部(58)は、前記流路形成部材(32、34)に連通している、
ことを特徴とする請求項4に記載の保持装置。
【請求項6】
物品(19)が挿抜可能に収容される収容体(20)を備え、
前記収容体(20)は、前記挿抜方向(B1)の低い側に、前記挿抜方向(B1)に突出する突出部(22)を備え、
前記第3壁部(55)には、前記載置部材(50)の上面(52)に対向するように庇部(56)が形成され、
前記突出部(22)は、前記庇部(56)と前記載置部材(50)との間に配置されている、
ことを特徴とする請求項4または5に記載の保持装置。
【請求項7】
前記庇部(56)の先端部には、前記第3壁部(56)から離間するに連れて前記上面(52)から離間する傾斜部(59)が形成されている、
ことを特徴とする請求項6に記載の保持装置。
【請求項8】
前記収容体(20)は、前記挿抜方向(B1)の低い側に、前記挿抜方向(B1)に突出する第2の突出部(22)を備え、
前記庇部(56)には、前記第2の突出部(22)が進入可能な切り欠き(60)が設けられる、
ことを特徴とする請求項7に記載の保持装置。
発明の詳細な説明
【技術分野】
【0001】
本発明は、保持装置に関する。
続きを表示(約 1,900 文字)
【背景技術】
【0002】
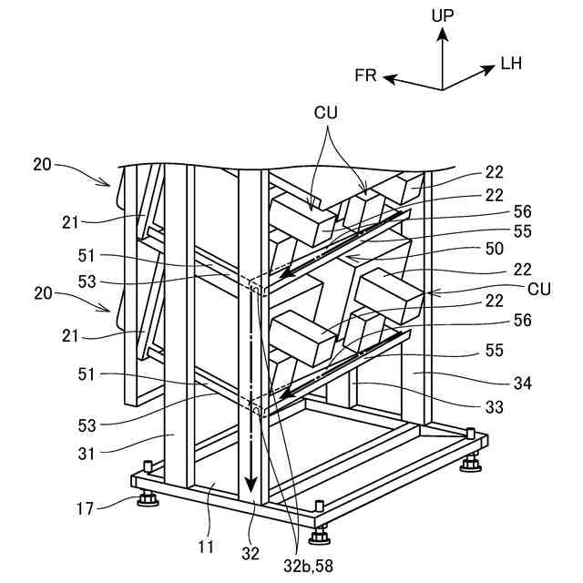
従来、物品を保持する保持装置において、内部に進入した雨水等の水を、排水経路を設けることで外部に排出する技術が知られている(例えば、特許文献1参照)。特許文献1には、物品の一例としての蓄電池が挿抜可能に収容されるスロットの下方に、後下がりに傾斜するトレイを設け、スロットの内外を連通する連通路から排出される水をトレイで受ける技術が記載されている。特許文献1では、トレイの後端部で軒樋状に形成され横に延びる梁と、梁に接続される縦樋状に形成される支持柱と、を設け、保持装置内に進入した水を、トレイと梁と支持柱を排水経路として、保持装置の外部へと排出している。
【先行技術文献】
【特許文献】
【0003】
特開2022-156092号公報
【発明の概要】
【発明が解決しようとする課題】
【0004】
しかしながら、特許文献1のようにトレイを単に傾斜させて配置する構成では、保持装置が水平面に対して傾いた状態で設置された場合に、トレイ上の高低差の関係が変わる場合があって、所定の位置に向けて水が流れない恐れがある。
本発明は、上述した事情に鑑みてなされたものであり、所定の位置に向けて水を流し易い保持装置を提供することを目的とする。
【課題を解決するための手段】
【0005】
保持装置は、物品が挿抜可能に保持される保持装置において、挿抜方向に沿って延び、前記物品が上面に載置される載置部材を備え、前記載置部材は、挿抜方向に沿って高低差を有するように配置されており、前記載置部材は、上面視において前記挿抜方向と直交する方向の両端部に位置して前記挿抜方向に沿って延びる第1端部と第2端部とを備え、前記第1端部と前記第2端部との一方は、他方に比べて前記挿抜方向における長さが長い、ことを特徴とする。
【発明の効果】
【0006】
本発明によれば、所定の位置に向けて水を流し易い保持装置を提供することができる。
【図面の簡単な説明】
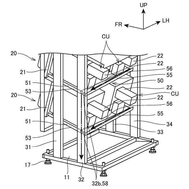
【0007】
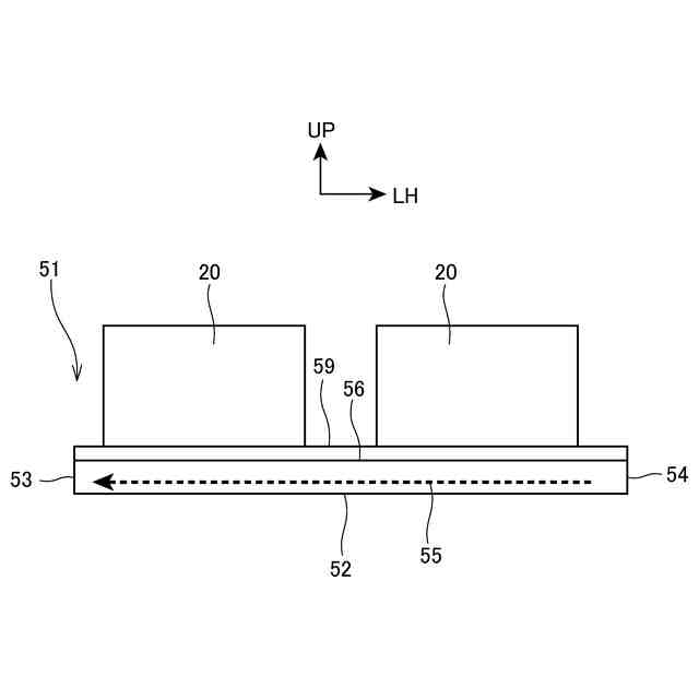
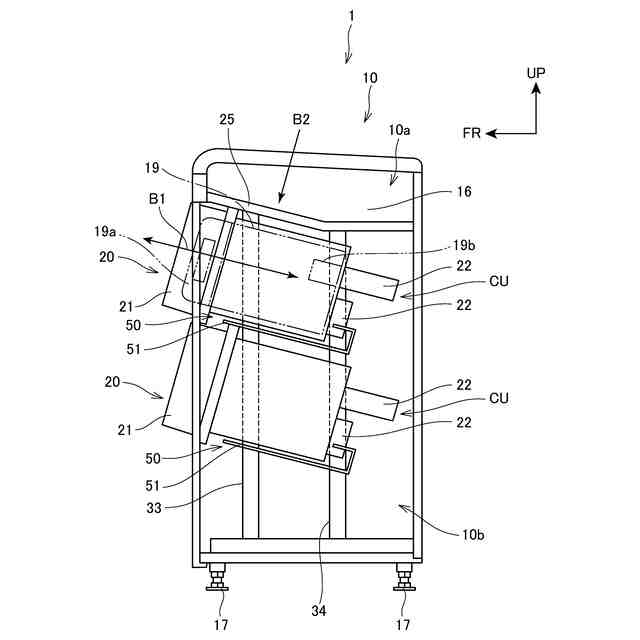
保持装置の斜視図である。
収容体の斜視図である。
右板部を外した保持装置の斜視図である。
保持装置の縦断面図である。
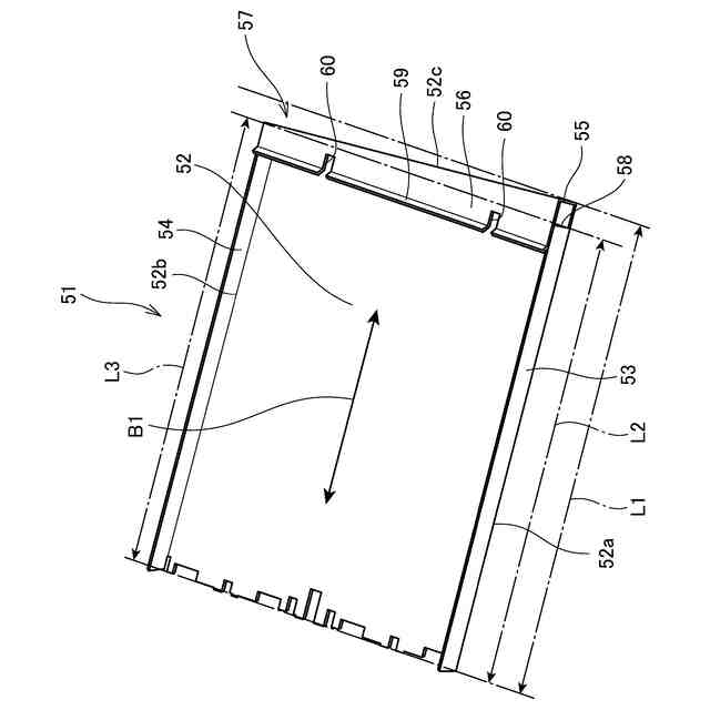
保持装置の要部拡大図である。
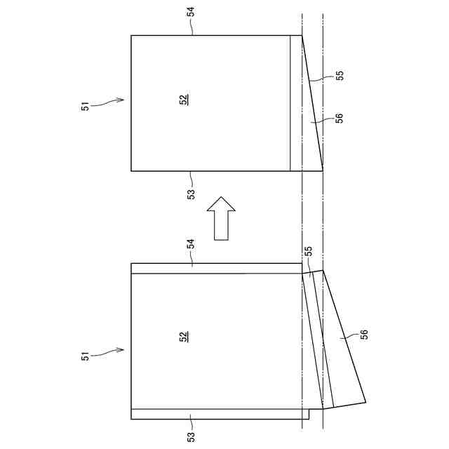
トレイの要部拡大図である。
トレイとスロットとの関係を示す模式図であり、上方側から見た状態と側方から見た状態との関係を示す図である。
トレイとスロットとの関係を示す模式図であり、挿抜方向視を示す図である。
トレイの展開図とトレイを組み立てた状態を示す図である。
保持装置の要部拡大図である。
保持装置の要部拡大図である。
【発明を実施するための形態】
【0008】
以下、図面を参照して本発明の実施の形態について説明する。なお、説明中、前後左右および上下といった方向の記載は、特に記載がなければ図1の保持装置に対する方向と同一とする。また、各図に示す符号FRは保持装置前方を示し、符号UPは保持装置上方を示し、符号LHは保持装置左方を示す。
【0009】
[実施の形態]
図1は、保持装置1の斜視図であり、保持装置1全体を右前方から見た図である。
保持装置1は、複数のバッテリ(物品)19を保持する。保持装置1は、バッテリ19を充電可能に構成されている。本実施の形態のバッテリ19は、ユーザによって持ち運ぶことが可能であり、例えば、電動車両(四輪車、三輪車、二輪車)、芝刈り機、農作業機等の作業機に着脱可能に構成されている。本実施の形態のバッテリ19は、外観直方体状のMPP(Mobile Power Pack)である。バッテリ19は、ハンドル19aの反対側にバッテリ端子19b(図4参照)を備える。
【0010】
保持装置1は、略直方体形状の筐体10を備える。筐体10は、底板部11(図5参照)と、底板部11の前後左右に設けられる側板部13、14、15、16(側板部14は、図3参照、側板部16は図4参照)と、側板部13、14、15、16の上方の天板部12と、を有する。前後左右の側板部13、14、15、16は、前板部13、後板部14(図3参照)、右板部15、左板部16(図4参照)とも称する。底板部11の下側には、脚部17が設けられる。脚部17は、底板部11の四隅にそれぞれ設けられる。
(【0011】以降は省略されています)
この特許をJ-PlatPat(特許庁公式サイト)で参照する
関連特許
本田技研工業株式会社
車両
1か月前
本田技研工業株式会社
冷却液タンク
2日前
本田技研工業株式会社
蓄電システム
4日前
本田技研工業株式会社
差圧式電解装置
1か月前
本田技研工業株式会社
駆動装置ユニット
1か月前
本田技研工業株式会社
回転電機用ロータ
11日前
本田技研工業株式会社
電動無段変速装置
1か月前
本田技研工業株式会社
回転電機のロータ
1か月前
本田技研工業株式会社
スポット溶接方法
24日前
本田技研工業株式会社
非接触電力伝送システム
4日前
本田技研工業株式会社
金属シリコンの製造方法
11日前
本田技研工業株式会社
電力変換装置、および車両
3日前
本田技研工業株式会社
積層体、積層体の製造方法
3日前
本田技研工業株式会社
制御装置、および、制御方法
24日前
本田技研工業株式会社
情報処理方法及びプログラム
23日前
本田技研工業株式会社
二酸化炭素回収装置及び二酸化炭素回収方法
1か月前
本田技研工業株式会社
情報処理装置、情報処理方法、およびプログラム
23日前
本田技研工業株式会社
制御装置
25日前
本田技研工業株式会社
作動装置
23日前
本田技研工業株式会社
移動体の制御装置、移動体の制御方法、およびプログラム
18日前
本田技研工業株式会社
学習装置、推定装置、学習方法、推定方法及びプログラム
1か月前
本田技研工業株式会社
車両、制御方法、プログラム、記憶媒体、及び情報処理装置
23日前
本田技研工業株式会社
電池の充電状態の補正方法、電池均等化方法、端末機器及び車両
10日前
本田技研工業株式会社
移動体支援装置および移動体システム
1か月前
本田技研工業株式会社
熱媒体組み合わせ最適化装置、熱媒体組み合わせ最適化方法、および、熱媒体組み合わせ最適化プログラム
11日前
APB株式会社
蓄電セル
1か月前
東ソー株式会社
絶縁電線
1か月前
個人
フレキシブル電気化学素子
1か月前
ローム株式会社
半導体装置
1か月前
株式会社ユーシン
操作装置
1か月前
株式会社東芝
端子台
1か月前
マクセル株式会社
電源装置
1か月前
日新イオン機器株式会社
イオン源
1か月前
株式会社GSユアサ
蓄電設備
1か月前
株式会社GSユアサ
蓄電設備
1か月前
株式会社GSユアサ
蓄電装置
1か月前
続きを見る
他の特許を見る