TOP
|
特許
|
意匠
|
商標
特許ウォッチ
Twitter
他の特許を見る
公開番号
2025143212
公報種別
公開特許公報(A)
公開日
2025-10-01
出願番号
2025032097
出願日
2025-02-28
発明の名称
フィルタ装置
出願人
ヤマシンフィルタ株式会社
代理人
個人
主分類
B01D
35/027 20060101AFI20250924BHJP(物理的または化学的方法または装置一般)
要約
【課題】メンテナンス性に優れたフィルタ装置を提供する。
【解決手段】筒状の濾材と、濾材の上端に設けられた上プレートと、濾材の下端に設けられた下プレートと、を有するフィルタエレメントと、カバーとフィルタエレメントとの間に設けられた連結部材であって、上端がカバーに設けられた棒状部材を有する連結部材と、を備えたフィルタ装置である。
【選択図】 図1
特許請求の範囲
【請求項1】
筒状の濾材と、前記濾材の上端に設けられた上プレートと、前記濾材の下端に設けられた下プレートと、を有するフィルタエレメントと、
前記フィルタエレメントをタンクに取り付けるためのカバーと、
前記カバーと前記フィルタエレメントとの間に設けられた連結部材であって、上端が前記カバーに設けられた棒状部材を有する連結部材と、
を備えたことを特徴とするフィルタ装置。
続きを表示(約 1,300 文字)
【請求項2】
油が貯留されるタンクに設けられるフィルタ装置であって、
筒状の濾材と、前記濾材の上端に設けられた上プレートと、前記濾材の下端に設けられた下プレートと、を有するフィルタエレメントと、
前記タンクに設けられた開口部を覆うように前記タンクに設けられるカバーと、
前記カバーと前記フィルタエレメントとの間に設けられた連結部材であって、上端が前記カバーに設けられた棒状部材を有する連結部材と、
を備え、
前記下プレートは、前記タンク内に設けられた流入部が嵌合する篏合部と、前記流入部と前記濾材の中空部とを連通する連通孔と、を有する
ことを特徴とするフィルタ装置。
【請求項3】
前記カバーは、板状の板状部材と、前記板状部材に設けられた突起部であって、前記棒状部材が挿入される穴が形成された突起部と、前記突起部の周囲に設けられた前記突起部を補強する補強部と、を有する
ことを特徴とする請求項1又は2に記載のフィルタ装置。
【請求項4】
前記上プレートに設けられたバルブを備え、
前記棒状部材は、連結部を介して下端が前記上プレートに設けられており、
前記連結部は、前記上プレートに設けられた保持部材を有し、
前記保持部材は、外周面が前記上プレートに形成された中空部に挿入される筒状部を有し、
前記バルブは、前記筒状部を介して前記上プレートに設けられている
ことを特徴とする請求項1から3のいずれか一項に記載のフィルタ装置。
【請求項5】
前記筒状部には、シール部材が挿入される第1溝と、前記第1溝よりも上側に設けられた第2溝とが外周面に形成されており、
前記上プレートは、上方向に突出する突起であって、前記筒状部の外周面に沿って配置される突起を有し、
前記突起は、前記第2溝に挿入される凸部を有する
ことを特徴とする請求項4に記載のフィルタ装置。
【請求項6】
前記バルブ、前記上プレート及び前記濾材の少なくとも一部を囲繞する筒状の流体カバーをさらに備えた
ことを特徴とする請求項1から5のいずれか一項に記載のフィルタ装置。
【請求項7】
前記フィルタエレメントは、前記棒状部材に対して揺動可能に連結されている
ことを特徴とする請求項1から6のいずれか一項に記載のフィルタ装置。
【請求項8】
前記連結部材は、上端が前記棒状部材に設けられ、下端が前記上プレートに設けられた連結部を有し、
前記連結部は、棒状の第2棒状部材を複数有する
ことを特徴とする請求項1から3のいずれか一項に記載のフィルタ装置。
【請求項9】
前記連結部材は、上端が前記棒状部材に設けられ、下端が前記上プレートに設けられた連結部を有し、
前記連結部は、板状の部材を折り曲げて額縁状又は環状に形成した枠状部を有する
ことを特徴とする請求項1から3のいずれか一項に記載のフィルタ装置。
【請求項10】
前記連結部は、棒状の第2棒状部材を複数有する
ことを特徴とする請求項9に記載のフィルタ装置。
発明の詳細な説明
【技術分野】
【0001】
本発明は、フィルタ装置に関する。
続きを表示(約 1,800 文字)
【背景技術】
【0002】
特許文献1には、交換可能なフィルタ要素が受容されているフィルタハウジングと、フィルタハウジングを貯蔵タンクのタンク壁などの第3構成部材に固定するためのフィルタヘッドとを備え、フィルタハウジングは1以上の自由度を提供する支持部によってフィルタヘッドに関節式で支持されているフィルタ装置が開示されている。
【先行技術文献】
【特許文献】
【0003】
特表2022-547300号公報
【発明の概要】
【発明が解決しようとする課題】
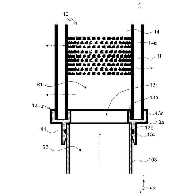
【0004】
図17は、特許文献1に記載の発明の概略を示す図である。図17の二点鎖線は液体の流れを示す。特許文献1に記載の発明では、タンクの上端に設けられたフィルタヘッド及び上側エンドキャップにフィルタハウジング及びフィルタ要素(フィルタエレメント)が設けられており、下側エンドキャップがタンク内に設けられた装着ソケット(パイプ)に被せられている。また、特許文献1に記載の発明では、エンドキャップの下側貫通孔を介してフィルタ要素の中空部に流体が流入し、フィルタエレメントを内側から外側に流れることで液体が濾過され、濾過された液体はフィルタエレメントとフィルタハウジングの間の空間に流入する。その後、フィルタハウジングに形成された流体通過箇所を通って液体がフィルタハウジングの内部(フィルタ装置)からタンクに流出する。
【0005】
しかしながら、特許文献1に記載の発明では、タンクの上端にフィルタヘッドが設けられている構造上、フィルタエレメントを交換するためにはフィルタヘッドを外し、フィルタハウジングの内部からフィルタエレメントを取り出さなければならず、フィルタエレメントの交換が容易ではない。使用する際に塵埃により濾材が目詰まりするため一定期間毎にフィルタエレメントを交換する必要があるため、メンテナンス性を良くするためには、フィルタエレメントの交換に手間がかからないことが望ましい。
【0006】
本発明はこのような事情に鑑みてなされたもので、フィルタエレメントの交換が容易、すなわちメンテナンス性に優れたフィルタ装置を提供することを目的とする。
【課題を解決するための手段】
【0007】
上記課題を解決するために、本発明に係るフィルタ装置は、例えば、筒状の濾材と、前記濾材の上端に設けられた上プレートと、前記濾材の下端に設けられた下プレートと、を有するフィルタエレメントと、前記フィルタエレメントをタンクに取り付けるためのカバーと、前記カバーと前記フィルタエレメントとの間に設けられた連結部材であって、上端が前記カバーに設けられた棒状部材を有する連結部材と、を備えたことを特徴とする。
【0008】
また、本発明に係るフィルタ装置は、例えば、油が貯留されるタンクに設けられるフィルタ装置であって、筒状の濾材と、前記濾材の上端に設けられた上プレートと、前記濾材の下端に設けられた下プレートと、を有するフィルタエレメントと、前記タンクに設けられた開口部を覆うように前記タンクに設けられるカバーと、前記カバーと前記フィルタエレメントとの間に設けられた連結部材であって、上端が前記カバーに設けられた棒状部材を有する連結部材と、を備え、前記下プレートは、前記タンク内に設けられた流入部が嵌合する篏合部と、前記流入部と前記濾材の中空部とを連通する連通孔と、を有することを特徴とする。
【0009】
本発明に係るフィルタ装置によれば、フィルタエレメントが濾材及び濾材の上端に設けられた上プレートを有し、棒状部材を有する連結部材がフィルタエレメントとカバーとを連結する。そのため、フィルタ装置の構成がシンプルであり、フィルタエレメントの交換が容易である。これにより、メンテナンス性に優れたフィルタ装置とすることができる。
【0010】
前記カバーは、板状の板状部材と、前記板状部材に設けられた突起部であって、前記棒状部材が挿入される穴が形成された突起部と、前記突起部の周囲に設けられた前記突起部を補強する補強部と、を有してもよい。これにより、補強部により荷重が分散され、シンプルな構成でありながら、頑丈なフィルタ装置とすることができる。
(【0011】以降は省略されています)
この特許をJ-PlatPat(特許庁公式サイト)で参照する
関連特許
株式会社西部技研
除湿装置
1か月前
株式会社日本触媒
ドロー溶質
24日前
日本バイリーン株式会社
フィルタ
9日前
サンノプコ株式会社
消泡剤
22日前
東レ株式会社
遠心ポッティング方法
16日前
トヨタ自動車株式会社
濾過装置
10日前
個人
気液混合装置
22日前
大和ハウス工業株式会社
反応装置
1か月前
松岡紙業 株式会社
油吸着体の製造方法
24日前
富士電機株式会社
ガス処理システム
19日前
東芝ライテック株式会社
光照射装置
10日前
株式会社フクハラ
圧縮空気圧回路ユニット
22日前
株式会社明電舎
成膜装置
19日前
日本化薬株式会社
直鎖ブテン製造用触媒及びその使用
16日前
本田技研工業株式会社
二酸化炭素回収装置
1か月前
本田技研工業株式会社
二酸化炭素回収装置
1か月前
本田技研工業株式会社
二酸化炭素回収装置
1か月前
ノリタケ株式会社
触媒材料およびその利用
1か月前
ノリタケ株式会社
触媒材料およびその利用
1か月前
本田技研工業株式会社
二酸化炭素回収装置
1か月前
本田技研工業株式会社
二酸化炭素回収装置
1か月前
ノリタケ株式会社
触媒材料およびその利用
1か月前
三浦工業株式会社
撹拌装置
19日前
いであ株式会社
PFAS除去用バイオ炭の製造方法
11日前
個人
フッ化炭素糸物にフッ素をコーティングした浄水手段
22日前
株式会社プロテリアル
触媒複合物および触媒前駆体複合物
1か月前
東京応化工業株式会社
ろ過処理方法、及び多孔質膜
1か月前
栗田工業株式会社
有機物含有水の脱泡処理装置
3日前
日本碍子株式会社
電気加熱式担体
1か月前
JFEエンジニアリング株式会社
二酸化炭素回収方法
22日前
日本碍子株式会社
電気加熱式担体
1か月前
TPR株式会社
多孔質ブリーザ
1か月前
三菱重工業株式会社
石膏脱水システム
9日前
大阪瓦斯株式会社
二酸化炭素回収システム
1か月前
みづほ工業株式会社
撹拌装置、及び撹拌羽根取付け方法
25日前
三菱ケミカル株式会社
精製ガスの製造方法
1か月前
続きを見る
他の特許を見る