TOP
|
特許
|
意匠
|
商標
特許ウォッチ
Twitter
他の特許を見る
公開番号
2025151823
公報種別
公開特許公報(A)
公開日
2025-10-09
出願番号
2024053416
出願日
2024-03-28
発明の名称
二酸化炭素回収装置
出願人
本田技研工業株式会社
代理人
個人
,
個人
主分類
B01D
53/047 20060101AFI20251002BHJP(物理的または化学的方法または装置一般)
要約
【課題】消費エネルギーを増加させることなく外装体の内部を換気することができる二酸化炭素回収装置を提供する。
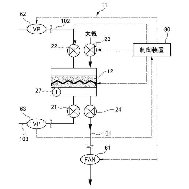
【解決手段】二酸化炭素回収装置1は、吸着材12を内部に有し、吸着材12に対して二酸化炭素を含む気体を吸引して二酸化炭素を吸着させる吸着工程と、吸着材12の周囲を減圧した状態で加熱することにより吸着材12から二酸化炭素を脱離する脱離工程と、を実行する複数のリアクター11と、複数のリアクター11に気体の流れを与えるファン61と、リアクター11とファン61とを内部に収容する外装体1000と、外装体1000に収容され、複数のリアクター11とファン61とを繋ぎ吸着工程においてリアクター11から排気される気体を外装体1000に設けられた排気口1020まで導く吸着ライン101と、吸着ライン101を流れる気体の一部を吸着ライン101の外、かつ、外装体1000内へ分流させる分流部1040とを備える。
【選択図】図3
特許請求の範囲
【請求項1】
吸着材を内部に有し、前記吸着材に対して二酸化炭素を含む気体を吸引して二酸化炭素を吸着させる吸着工程と、前記吸着材の周囲を減圧した状態で加熱することにより当該吸着材から二酸化炭素を脱離する脱離工程と、を実行する複数のリアクターと、
複数の前記リアクターに気体の流れを与えるファンと、
前記リアクターと前記ファンとを内部に収容する外装体と、
前記外装体に収容され、前記複数のリアクターと前記ファンとを繋ぎ前記吸着工程において前記リアクターから排気される気体を前記外装体に設けられた排気口まで導く管路と、
前記管路を流れる気体の一部を前記管路の外、かつ、前記外装体内へ分流させる分流部と、
を備える二酸化炭素回収装置。
続きを表示(約 380 文字)
【請求項2】
請求項1に記載の二酸化炭素回収装置において、
前記分流部は、分流した気体によって前記外装体内に気体の流れを生じさせること、
を特徴とする二酸化炭素回収装置。
【請求項3】
請求項2に記載の二酸化炭素回収装置において、
前記外装体は、前記排気口とは異なる位置に設けられた第2排気口を備え、
前記分流部は、分流した気体が前記第2排気口へ向けて流れるように前記外装体内に気体の流れを生じさせること、
を特徴とする二酸化炭素回収装置。
【請求項4】
請求項1又は請求項2に記載の二酸化炭素回収装置において、
前記分流部は、前記管路内へ部分的に突出して配置された分流板、又は、前記管路から分岐して配管された分流管であること、
を特徴とする二酸化炭素回収装置。
発明の詳細な説明
【技術分野】
【0001】
本開示は、二酸化炭素回収装置に関するものである。
続きを表示(約 1,400 文字)
【背景技術】
【0002】
大気等の二酸化炭素を含む気体から二酸化炭素を回収する技術が知られている。この種の技術が記載されるものとして例えば特許文献1がある。特許文献1には、外気を取り込み吸着剤が設けられたユニットに送り二酸化炭素を吸着し、その後、ユニットを真空圧力に排気、加熱後に二酸化炭素を抽出する技術が記載されている。
【先行技術文献】
【特許文献】
【0003】
特表2017-528318号公報
【発明の概要】
【発明が解決しようとする課題】
【0004】
ところで、特許文献1に記載されているような二酸化炭素を回収する二酸化炭素回収装置は、吸着剤を有する複数のリアクター(特許文献1では、ユニット)や、熱交換器、気体の管路、熱交換用の熱媒体の管路、各種センサ用の配線等が複雑に配置される。そこで、これら各構成要素を1つの外装体に収容した形態とすれば、製造工場等において二酸化炭素回収装置として完成させることにより、必要な性能を担保でき、移動や設置も容易となり、利便性が高くなると考えられる。
【0005】
二酸化炭素回収装置は、二酸化炭素を高濃度で回収することから、仮にこの高濃度の二酸化炭素が漏れて外装体の内部に充満してしまうと、人体にとって危険な状況となると考えられることから、外装体の内部を換気することが必要であった。
【0006】
しかし、換気のために換気ファン等を追加すると、その換気ファンを常時稼働させる必要があり、消費エネルギーが増大してしまう。
【0007】
本開示の課題は、消費エネルギーを増加させることなく外装体の内部を換気することができる二酸化炭素回収装置を提供することである。
【課題を解決するための手段】
【0008】
本開示は、以下のような解決手段により、前記課題を解決する。なお、理解を容易にするために、本開示の実施形態に対応する符号を付して説明するが、これに限定されるものではない。
【0009】
第1の開示は、吸着材(12)を内部に有し、前記吸着材(12)に対して二酸化炭素を含む気体を吸引して二酸化炭素を吸着させる吸着工程と、前記吸着材(12)の周囲を減圧した状態で加熱することにより当該吸着材(12)から二酸化炭素を脱離する脱離工程と、を実行する複数のリアクター(11)と、複数の前記リアクター(11)に気体の流れを与えるファン(61)と、
前記リアクター(11)と前記ファン(61)とを内部に収容する外装体(1000)と、前記外装体(1000)に収容され、前記複数のリアクター(11)と前記ファン(61)とを繋ぎ前記吸着工程において前記リアクター(11)から排気される気体を前記外装体(1000)に設けられた排気口(1020)まで導く管路(101)と、前記管路(101)を流れる気体の一部を前記管路(101)の外、かつ、前記外装体(1000)内へ分流させる分流部(1040)と、を備える二酸化炭素回収装置(1)である。
【0010】
第2の開示は、請求項1に記載の二酸化炭素回収装置(1)において、前記分流部(1040)は、分流した気体によって前記外装体(1000)内に気体の流れを生じさせること、を特徴とする二酸化炭素回収装置(1)である。
(【0011】以降は省略されています)
この特許をJ-PlatPat(特許庁公式サイト)で参照する
関連特許
本田技研工業株式会社
車両
1か月前
本田技研工業株式会社
差圧式電解装置
1か月前
本田技研工業株式会社
電動無段変速装置
1か月前
本田技研工業株式会社
回転電機用ロータ
6日前
本田技研工業株式会社
スポット溶接方法
19日前
本田技研工業株式会社
回転電機のロータ
1か月前
本田技研工業株式会社
駆動装置ユニット
1か月前
本田技研工業株式会社
金属シリコンの製造方法
6日前
本田技研工業株式会社
情報処理方法及びプログラム
18日前
本田技研工業株式会社
制御装置、および、制御方法
19日前
本田技研工業株式会社
負極、固体電池及び積層体の製造方法
1か月前
本田技研工業株式会社
正極、固体電池及び固体電池の製造方法
1か月前
本田技研工業株式会社
二酸化炭素回収装置及び二酸化炭素回収方法
1か月前
本田技研工業株式会社
情報処理装置、情報処理方法、およびプログラム
18日前
本田技研工業株式会社
学習装置、推定装置、学習方法、推定方法及びプログラム
1か月前
本田技研工業株式会社
制御装置
20日前
本田技研工業株式会社
作動装置
18日前
本田技研工業株式会社
移動体の制御装置、移動体の制御方法、およびプログラム
13日前
本田技研工業株式会社
車両、制御方法、プログラム、記憶媒体、及び情報処理装置
18日前
本田技研工業株式会社
電池の充電状態の補正方法、電池均等化方法、端末機器及び車両
5日前
本田技研工業株式会社
移動体支援装置および移動体システム
1か月前
本田技研工業株式会社
熱媒体組み合わせ最適化装置、熱媒体組み合わせ最適化方法、および、熱媒体組み合わせ最適化プログラム
6日前
株式会社西部技研
除湿装置
1か月前
株式会社日本触媒
ドロー溶質
1か月前
プライミクス株式会社
攪拌装置
5日前
日本バイリーン株式会社
フィルタ
19日前
サンノプコ株式会社
消泡剤
1か月前
東レ株式会社
遠心ポッティング方法
26日前
トヨタ自動車株式会社
濾過装置
20日前
株式会社切川物産
撹拌装置
6日前
松岡紙業 株式会社
油吸着体の製造方法
1か月前
栗田工業株式会社
ギ酸の回収方法
6日前
個人
気液混合装置
1か月前
大和ハウス工業株式会社
反応装置
1か月前
株式会社フクハラ
圧縮空気圧回路ユニット
1か月前
東芝ライテック株式会社
光照射装置
20日前
続きを見る
他の特許を見る