TOP
|
特許
|
意匠
|
商標
特許ウォッチ
Twitter
他の特許を見る
公開番号
2025160949
公報種別
公開特許公報(A)
公開日
2025-10-24
出願番号
2024063706
出願日
2024-04-11
発明の名称
圧縮空気圧回路ユニット
出願人
株式会社フクハラ
代理人
個人
主分類
B01D
50/20 20220101AFI20251017BHJP(物理的または化学的方法または装置一般)
要約
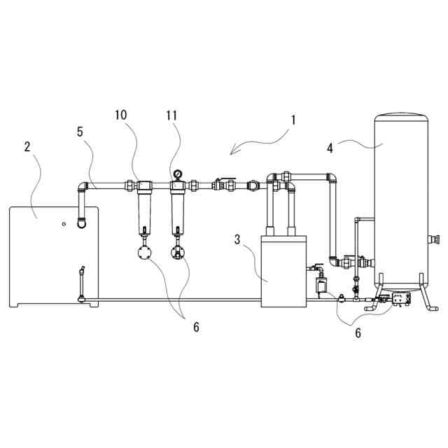
【課題】気液分離器とオイルミストフィルタを冷凍式エアドライヤの前段に配設し、冷凍式エアドライヤへ流入する以前に圧縮空気に含有されたドレン及び油滴、更にオイルミストも分離、除去させることが可能な圧縮空気圧回路ユニットを提供する。
【解決手段】圧縮空気圧回路ユニットであって、気液分離器と、該気液分離器の後段に配設されるオイルミストフィルタと、を冷凍式エアドライヤの前段に備え、該気液分離器によって、ドレン及び油滴を分離、除去し、該オイルミストフィルタによって、該冷凍式エアドライヤ内に付着しやすいオイルミストを分離、除去する手段を採る。
【選択図】図1
特許請求の範囲
【請求項1】
圧縮空気圧回路ユニットであって、
気液分離器と、該気液分離器の後段に配設されるオイルミストフィルタと、
を冷凍式エアドライヤの前段に備え、
該気液分離器によって、ドレン及び油滴を分離、除去し、
該オイルミストフィルタによって、該冷凍式エアドライヤ内に付着しやすいオイルミストを分離、除去することを特徴とする圧縮空気圧回路ユニット。
続きを表示(約 230 文字)
【請求項2】
前記気液分離器は、サイクロンセパレータであることを特徴とする請求項1に記載の圧縮空気圧回路ユニット。
【請求項3】
前記気液分離器とオイルミストフィルタとの間に、塵埃を分離、除去するエアフィルタを配設することを特徴とする請求項1に記載の圧縮空気圧回路ユニット。
【請求項4】
前記オイルミストフィルタ内に、CO
2
吸収部を持つことを特徴とする請求項1に記載の圧縮空気圧回路ユニット。
発明の詳細な説明
【技術分野】
【0001】
本発明は、圧縮空気圧回路ユニットに関し、詳しくは、圧縮空気内に含有するドレンや油滴及びオイルミストを冷凍式エアドライヤの前段で分離、除去する圧縮空気圧回路ユニットに関するものである。
続きを表示(約 1,600 文字)
【背景技術】
【0002】
従来、圧縮空気圧回路において、エアドライヤの効率向上のために、サイクロンセパレータを前段につけることが行われていた。
しかしながら、サイクロンセパレータをつけても、微小なオイルミストや塵埃は除去されず、エアドライヤ内の熱交換部に付着し、熱変換効率を下げることとなっていた。
塵埃は、付着しても、空気の流れ等で離れる場合も多い。それに対して、オイルミストは、液体として付着した後、徐々に冷媒の配管を覆うようになり、熱交換を妨げてしまうこととなる。
オイルミストの付着を解消するには、定期的な清掃が必要であるが、迂遠であり、行われないことも多かった。そのため、エアドライヤが本来の性能を発揮できないまま、長期間稼働させることが多かった。
そこで、エアドライヤの熱交換部の性能を維持する技術が求められていた。
【0003】
上記のような技術課題について、本出願人は、エアドライヤの前段にサイクロンセパレータ、エアドライヤの後段に遠心分離器を配設した圧縮空気圧回路システムを開発し、特許第5655248号公報(特許文献1)に記載の技術提案を行っている。かかる技術提案によれば、冷凍式エアドライヤの前段にサイクロンセパレータを配置し、エアドライヤの後段に遠心分離器を配置することで、エアドライヤへの水分、油分の軽減、エアドライヤ後の、水分、油分のさらなる軽減を促し、トータルの消費エネルギーを削減する、と言った優れた効果を奏するものであった。
しかしながら、特許文献1に記載の技術提案によれば、エアドライヤの後段に油分が送気される前提での遠心分離器の配設であって、エアドライヤ内に付着するオイルミストについては記載されておらず、未だ上記問題の解決には至っていない。
【0004】
そこで、本出願人は、冷凍式エアドライヤ内において、油分、特にオイルミストが流入して付着する問題に着目し、圧縮空気が冷凍式エアドライヤへ流入する以前にオイルミストを除去できないものかとの着想のもと、気液分離器とオイルミストフィルタを冷凍式エアドライヤの前段に配設し、冷凍式エアドライヤへ流入する以前に圧縮空気に含有されたドレン及び油滴、更にオイルミストも分離、除去させることが可能な圧縮空気圧回路ユニットを開発し、本発明にかかる「圧縮空気圧回路ユニット」の提案に至るものである。
【先行技術文献】
【特許文献】
【0005】
特許第5655248号公報
【発明の概要】
【発明が解決しようとする課題】
【0006】
本発明は、上記問題に鑑み、気液分離器とオイルミストフィルタを冷凍式エアドライヤの前段に配設し、冷凍式エアドライヤへ流入する以前に圧縮空気に含有されたドレン及び油滴、更にオイルミストも分離、除去させることが可能な圧縮空気圧回路ユニットを提供することを課題とする。
【課題を解決するための手段】
【0007】
上記問題を解決するため、本発明は、圧縮空気圧回路ユニットであって、気液分離器と、該気液分離器の後段に配設されるオイルミストフィルタと、を冷凍式エアドライヤの前段に備え、該気液分離器によって、ドレン及び油滴を分離、除去し、該オイルミストフィルタによって、該冷凍式エアドライヤ内に付着しやすいオイルミストを分離、除去する手段を採用する。
【0008】
また、本発明は、気液分離器が、サイクロンセパレータである手段を採用する。
【0009】
さらに、本発明は、気液分離器とオイルミストフィルタとの間に、塵埃を分離、除去するエアフィルタを配設する手段を採用する。
【0010】
そして、本発明は、オイルミストフィルタ内に、CO2吸収部を持つ手段を採用する。
【発明の効果】
(【0011】以降は省略されています)
この特許をJ-PlatPat(特許庁公式サイト)で参照する
関連特許
株式会社フクハラ
圧力検知型ドレン排出構造
19日前
株式会社フクハラ
高純度窒素ガス生成システム
4日前
株式会社フクハラ
ドレン検知型ドレン排出構造
19日前
株式会社フクハラ
移動式クーラー用芳香剤パック
1か月前
株式会社高垣製作所
粉粒体加工装置
4日前
個人
吸着材複合粒子
4日前
株式会社ダイセル
圧力容器
11日前
株式会社HELIX
加熱装置
5日前
株式会社ダルトン
空気清浄化装置のフィルタ保持装置
4日前
日本スピンドル製造株式会社
除去フィルタ及び除去装置
4日前
三菱化工機株式会社
粒子の分級装置及び粒子の分級方法
4日前
愛三工業株式会社
水素分離膜
11日前
セイコーエプソン株式会社
フィルター装置
11日前
株式会社デンソー
電気化学セル
12日前
トヨタ自動車株式会社
予測モデル
4日前
トヨタ自動車株式会社
予測モデル
今日
株式会社ハイドロネクスト
金属材料
6日前
トヨタ車体株式会社
ガス処理装置
4日前
株式会社HELIX
供給装置及び加熱装置
5日前
エヌ・イーケムキャット株式会社
貴金属吸着材料
5日前
栗田工業株式会社
方法、システム及びプログラム
11日前
株式会社ハイドロネクスト
水素分離装置
6日前
日本化薬株式会社
フィルタ、およびフィルタを備えるガス発生器
6日前
いすゞ自動車株式会社
二酸化炭素回収装置
11日前
いすゞ自動車株式会社
二酸化炭素回収装置
11日前
いすゞ自動車株式会社
二酸化炭素回収装置
11日前
セイコーエプソン株式会社
流体デバイス
11日前
祈光訊息能科技有限公司
液体分子光子処理装置、処理方法と応用
1日前
川崎重工業株式会社
カーボンリサイクルシステム
5日前
アイエス ジャパン株式会社
粉体の製造方法及び中実粉体
11日前
パナソニックIPマネジメント株式会社
脱硫器
6日前
株式会社アイシン
二酸化炭素回収システム
12日前
日本スピンドル製造株式会社
除去フィルタ、除去フィルタ群、及び除去装置
今日
株式会社IHI
二酸化炭素回収システム及び二酸化炭素回収方法
6日前
セイコーエプソン株式会社
触媒構造体および触媒構造体の製造方法
11日前
国立大学法人 鹿児島大学
マイクロカプセルの製造方法
4日前
続きを見る
他の特許を見る