TOP
|
特許
|
意匠
|
商標
特許ウォッチ
Twitter
他の特許を見る
10個以上の画像は省略されています。
公開番号
2025177315
公報種別
公開特許公報(A)
公開日
2025-12-05
出願番号
2024084019
出願日
2024-05-23
発明の名称
粉粒体加工装置
出願人
株式会社高垣製作所
代理人
個人
主分類
B01F
27/232 20220101AFI20251128BHJP(物理的または化学的方法または装置一般)
要約
【課題】貯留容器の内部に配設する複数の回転羽根を備えた粉粒体加工装置を提供する。
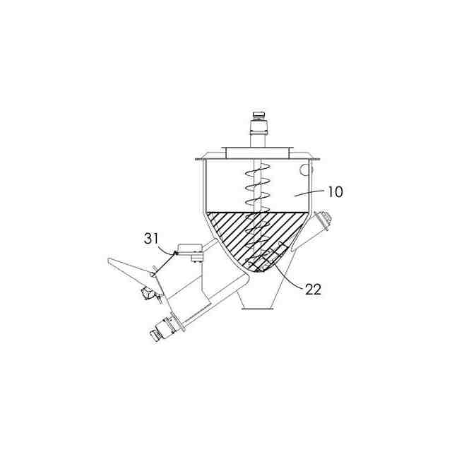
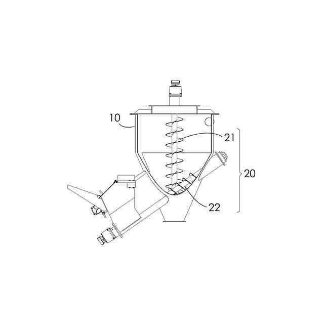
【解決手段】食品系の粉粒体加工装置1は、貯留容器10と、貯留容器10へ小麦粉などの食品粉体を導入する傾斜回転羽根22と、貯留容器10から食品粉体を導出(排出)する垂直回転羽根21とを備える。垂直回転羽根21は、貯留容器10の軸心からずらして配設している。傾斜回転羽根22は、貯留容器10の底部から側面方向に上り傾斜して配設している。
【選択図】図3
特許請求の範囲
【請求項1】
粉粒体を貯留する貯留容器と、
前記貯留容器の内部で垂直方向に配設する垂直回転羽根(21)と、
前記貯留容器の内部で傾斜して配設する傾斜回転羽根(22)と、
を少なくとも備え、
前記貯留容器の内部に粉粒体が貯留された際に、当該粉粒体に没入する前記垂直回転羽根及び前記傾斜回転羽根の回転作動で当該粉粒体を撹拌する粉粒体加工装置。
続きを表示(約 140 文字)
【請求項2】
前記垂直回転羽根(21)を、垂直方向かつ平面視で前記貯留容器の軸心からずらして配設する請求項1の粉粒体加工装置。
【請求項3】
前記傾斜回転羽根(22)を、前記貯留容器の底部から側面方向へ傾斜して配設する請求項1又は請求項2の粉粒体加工装置。
発明の詳細な説明
【技術分野】
【0001】
本願発明は、貯留容器の内部を複数の回転羽根で撹拌する粉粒体加工装置に関するものである。
続きを表示(約 1,100 文字)
【背景技術】
【0002】
食品、医薬品、化学品などの産業分野では、多種多様かつその内容成分を異にする粉体相互を混合して使用することがなされている(例えば、特許文献1)。
【先行技術文献】
【特許文献】
【0003】
特開2004-255348
【発明の概要】
【発明が解決しようとする課題】
【0004】
前述した粉体の混合装置は、混合すべき粉体の回流方向を変えることにより混合効率を高めた混合装置が開示されているが、さらなる改良の余地があり得るものと考える。
【0005】
そこで、混合効率を高め得る粉粒体加工装置を提供することを課題とした。
【課題を解決するための手段】
【0006】
本願発明は、上述の課題を解決するために、粉粒体を貯留する貯留容器と、前記貯留容器の内部で垂直方向に配設する垂直回転羽根と、前記貯留容器の内部で傾斜して配設する傾斜回転羽根と、を少なくとも備え、前記貯留容器の内部に粉粒体が貯留された際に、当該粉粒体に没入する前記垂直回転羽根及び前記傾斜回転羽根の回転作動で当該粉粒体を撹拌する粉粒体加工装置を提供する。
【0007】
また、本願発明は、上述の課題を解決するために、前記垂直回転羽根を、垂直方向かつ平面視で前記貯留容器の軸心からずらして配設する粉粒体加工装置を提供する。
【0008】
また、本願発明は、上述の課題を解決するために、前記傾斜回転羽根を、前記貯留容器の底部から側面方向へ傾斜して配設する粉粒体加工装置を提供する。
【発明の効果】
【0009】
本願発明の粉粒体加工装置は、粉粒体を貯留する貯留容器と、前記貯留容器の内部で垂直方向に配設する垂直回転羽根と、前記貯留容器の内部で傾斜して配設する傾斜回転羽根と、を少なくとも備え、前記貯留容器の内部に粉粒体が貯留された際に、当該粉粒体に没入する前記垂直回転羽根及び前記傾斜回転羽根の回転作動で当該粉粒体を撹拌するため、貯留容器に貯留された粉粒体に対して回流方向の異なる撹拌を行うため混合効率を高めることができるものと考える。
【0010】
また、本願発明の粉粒体加工装置は、さらに、前記垂直回転羽根を、垂直方向かつ平面視で前記貯留容器の軸心からずらして配設するため、前記垂直回転羽根と前記貯留容器との距離が不均一となる。この構造の下で前記垂直回転羽根が回転し粉粒体の撹拌が行われるため、貯留容器の軸心位置に垂直回転羽根を配設した均一構造下の撹拌とは異なる撹拌効果が期待できる。
(【0011】以降は省略されています)
この特許をJ-PlatPat(特許庁公式サイト)で参照する
関連特許
株式会社西部技研
除湿装置
1か月前
株式会社日本触媒
ドロー溶質
1か月前
プライミクス株式会社
攪拌装置
16日前
日本バイリーン株式会社
フィルタ
1か月前
サンノプコ株式会社
消泡剤
1か月前
東レ株式会社
遠心ポッティング方法
1か月前
トヨタ自動車株式会社
濾過装置
1か月前
株式会社切川物産
撹拌装置
17日前
トヨタ紡織株式会社
フィルタ
10日前
株式会社高垣製作所
粉粒体加工装置
1日前
松岡紙業 株式会社
油吸着体の製造方法
1か月前
個人
気液混合装置
1か月前
個人
吸着材複合粒子
1日前
栗田工業株式会社
ギ酸の回収方法
17日前
トヨタ紡織株式会社
水流帯電装置
10日前
株式会社フクハラ
圧縮空気圧回路ユニット
1か月前
富士電機株式会社
ガス処理システム
1か月前
東芝ライテック株式会社
光照射装置
1か月前
株式会社明電舎
成膜装置
1か月前
東芝ライテック株式会社
紫外線処理装置
16日前
日本化薬株式会社
直鎖ブテン製造用触媒及びその使用
1か月前
株式会社HELIX
加熱装置
2日前
本田技研工業株式会社
二酸化炭素回収装置
1か月前
本田技研工業株式会社
二酸化炭素回収装置
1か月前
株式会社ダイセル
圧力容器
8日前
いであ株式会社
PFAS除去用バイオ炭の製造方法
1か月前
三浦工業株式会社
撹拌装置
1か月前
個人
フッ化炭素糸物にフッ素をコーティングした浄水手段
1か月前
株式会社ダルトン
空気清浄化装置のフィルタ保持装置
1日前
三菱重工業株式会社
石膏脱水システム
1か月前
日本碍子株式会社
電気加熱式担体
1か月前
JFEエンジニアリング株式会社
二酸化炭素回収方法
1か月前
栗田工業株式会社
有機物含有水の脱泡処理装置
24日前
三菱化工機株式会社
粒子の分級装置及び粒子の分級方法
1日前
オルガノ株式会社
ろ過膜の洗浄方法及び洗浄装置
24日前
愛三工業株式会社
水素分離膜
8日前
続きを見る
他の特許を見る