TOP
|
特許
|
意匠
|
商標
特許ウォッチ
Twitter
他の特許を見る
10個以上の画像は省略されています。
公開番号
2025154794
公報種別
公開特許公報(A)
公開日
2025-10-10
出願番号
2024057985
出願日
2024-03-29
発明の名称
電気加熱式担体
出願人
日本碍子株式会社
代理人
アクシス国際弁理士法人
主分類
B01J
35/50 20240101AFI20251002BHJP(物理的または化学的方法または装置一般)
要約
【課題】溶射固定層の寿命の偏りを抑え、溶射固定層の長寿命化を図ることができる電気加熱式担体を提供する。
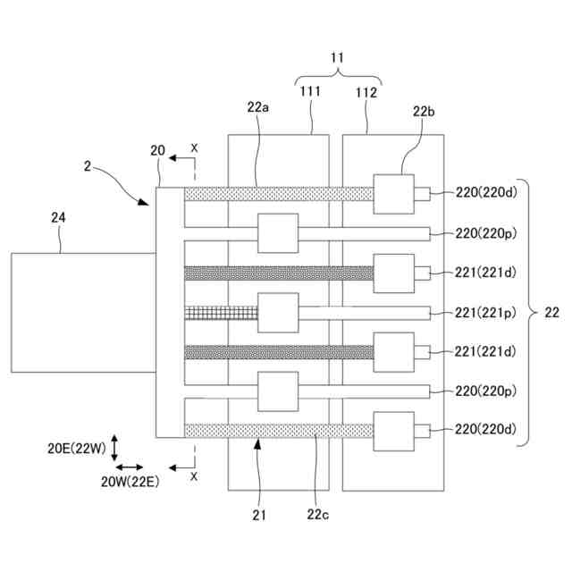
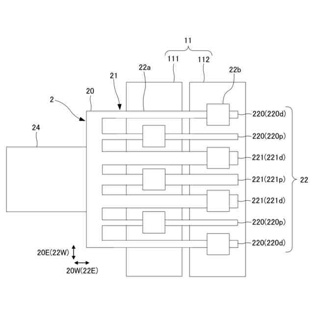
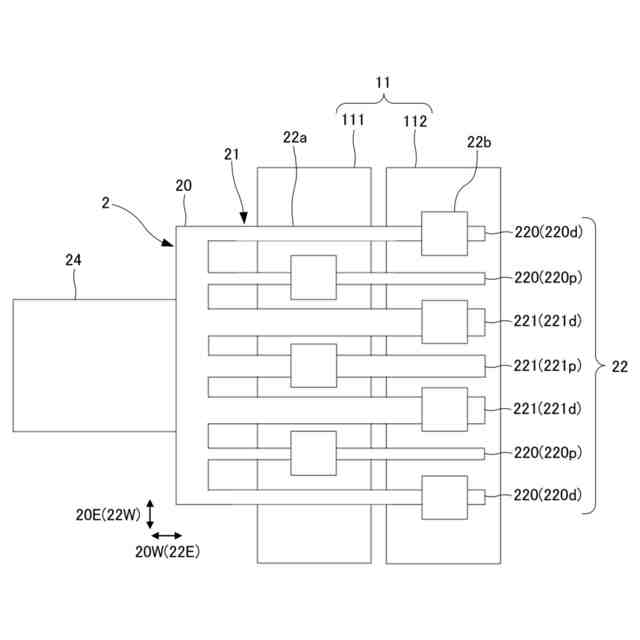
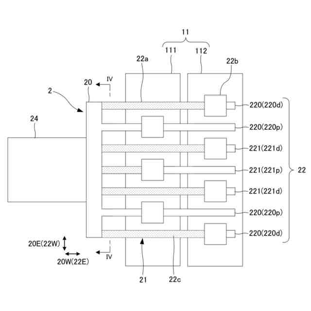
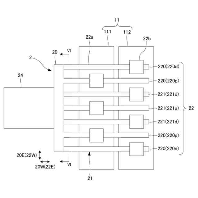
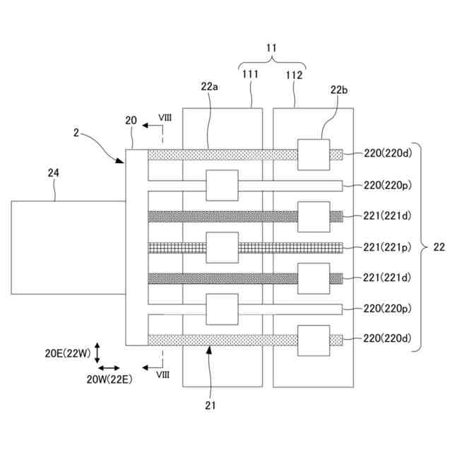
【解決手段】本発明による電気加熱式担体は、電極層11に接続されてハニカム構造体に電圧を印加するための一対の金属電極2を備え、一対の金属電極2のそれぞれは、基部20と、複数の歯部22を有する櫛歯状の接続部21と、を有し、複数の歯部22は、第1位置で電極層11に接続された近位接続歯部220p,221pと、第2位置で電極層11に接続された遠位接続歯部220d,221dと、を有しており、複数の近位接続歯部220p,221pのそれぞれの電気抵抗が互いに等しく、かつ複数の遠位接続歯部220d,221dのそれぞれの電気抵抗が互いに等しい場合と比較して、複数の歯部22のそれぞれを流れる電流の差が小さくなるように形成されている。
【選択図】図2
特許請求の範囲
【請求項1】
外周壁と、前記外周壁の内側に配設され、一方の端面から他方の端面まで延びる流路を形成する複数のセルを区画形成する隔壁とを有するハニカム構造部と、前記外周壁の表面に設けられた一対の電極層と、を備えるハニカム構造体と、
前記電極層に接続されて前記ハニカム構造体に電圧を印加するための一対の金属電極と、
を備え、
前記一対の金属電極のそれぞれは、基部と、前記基部から延出された複数の歯部を有する櫛歯状の接続部と、を有し、前記複数の歯部は、歯部本体と、前記歯部本体のそれぞれを前記電極層に接続する複数の溶射固定層と、を含んでおり、
前記複数の歯部は、
前記歯部の延在方向に関して第1位置で前記電極層に接続された複数の近位接続歯部と、
前記歯部の延在方向に関して前記第1位置よりも前記基部から遠い第2位置で前記電極層に接続された複数の遠位接続歯部と、
を有しており、
前記複数の歯部は、前記複数の近位接続歯部のそれぞれの電気抵抗が互いに等しく、かつ前記複数の遠位接続歯部のそれぞれの電気抵抗が互いに等しい場合と比較して、前記複数の歯部のそれぞれを流れる電流の差が小さくなるように形成されている、
電気加熱式担体。
続きを表示(約 1,300 文字)
【請求項2】
前記複数の歯部は、
前記基部の延在方向に関して櫛歯の両端部に配置された複数の端部歯部と、
前記端部歯部の間に配置された複数の中間歯部と、
を有しており、
前記端部歯部の電気抵抗が前記中間歯部の電気抵抗よりも高い、
請求項1に記載の電気加熱式担体。
【請求項3】
前記複数の端部歯部は、
前記歯部の延在方向に関して前記第1位置で前記電極層に接続された端部近位接続歯部と、
前記歯部の延在方向に関して前記第2位置で前記電極層に接続された端部遠位接続歯部と、
を有しており、
前記複数の中間歯部は、
前記歯部の延在方向に関して前記第1位置で前記電極層に接続された中間近位接続歯部と、
前記歯部の延在方向に関して前記第2位置で前記電極層に接続された中間遠位接続歯部と、
を有しており、
前記端部近位接続歯部は、前記基部の延在方向に関して前記端部遠位接続歯部の内側に配置されており、
前記中間近位接続歯部の少なくとも1つは、前記基部の延在方向に関して前記中間遠位接続歯部の内側に配置されており、
前記端部近位接続歯部、前記端部遠位接続歯部、前記中間近位接続歯部、及び前記中間遠位接続歯部の順に電気抵抗が高い、
請求項2に記載の電気加熱式担体。
【請求項4】
前記複数の歯部は、前記歯部本体の幅により電気抵抗が互いに異なるように形成されている、
請求項1から3までのいずれか1項に記載の電気加熱式担体。
【請求項5】
前記複数の歯部は、前記歯部本体に付加された付加部材の厚みによるか、前記付加部材の有無によるか、又は前記歯部本体自体の厚みにより、電気抵抗が互いに異なるように形成されている、
請求項1から3までのいずれか1項に記載の電気加熱式担体。
【請求項6】
前記複数の歯部は、前記歯部本体自体の材料によるか、又は前記歯部本体に付加された付加部材の材料により、電気抵抗が互いに異なるように形成されている、
請求項1から3までのいずれか1項に記載の電気加熱式担体。
【請求項7】
前記複数の歯部は、前記歯部本体が厚み方向に屈曲されて蛇腹状とされるか、又は前記歯部本体が前記基部の延在方向に蛇行されることで、前記基部から前記溶射固定層まで電流経路長さが互いに変えられることで、電気抵抗が互いに異なるように形成されている、
請求項1から3までのいずれか1項に記載の電気加熱式担体。
【請求項8】
前記複数の歯部は、前記溶射固定層の材料により電気抵抗が互いに異なるように形成されている、
請求項1から3までのいずれか1項に記載の電気加熱式担体。
【請求項9】
前記複数の歯部は、前記溶射固定層の寸法により電気抵抗が互いに異なるように形成されている、
請求項1から3までのいずれか1項に記載の電気加熱式担体。
発明の詳細な説明
【技術分野】
【0001】
本発明は、電気加熱式担体に関する。
続きを表示(約 2,000 文字)
【背景技術】
【0002】
一般に、導電性セラミックスからなるハニカム構造体に電極を配設し、通電によりハニカム構造体自体を発熱させることで、ハニカム構造体に担持された触媒をエンジン始動前に活性温度まで昇温させて、内燃機関が始動開始直後の際に排出される排気ガスの浄化を狙う電気加熱触媒(EHC)が知られている。通電によってハニカム構造体を加熱し、効率良く排気ガスを浄化するためには、ハニカム構造体の内部の温度分布を均一化しつつ加熱することが必要となる。これを実現するには、ハニカム構造体に電流をできるだけ均一に流す必要があり、ハニカム構造体と電極とを強固に接続することが要求される。下記の特許文献1には、ハニカム構造体に設けられた電極層(表面電極)に櫛歯状の金属電極を溶射により接合することが開示されている。
【先行技術文献】
【特許文献】
【0003】
特開2021-058864号公報
【発明の概要】
【発明が解決しようとする課題】
【0004】
上記の特許文献1のように溶射により櫛歯状の金属電極をハニカム構造体の電極層に接合する場合、櫛歯を構成する各歯部の位置、及び各歯部と電極層との接続位置によって、各歯部に流れる電流が変わる傾向にある。金属電極に繰り返し通電すると、より多くの電流が流れる歯部の溶射固定層の抵抗がより早く上昇して通電しなくなり(寿命を迎え)、それにともない他の歯部の電流が増加して他の歯部の溶射固定層の寿命も短くなる。
【0005】
本発明は、上記のような課題を解決するためになされたものであり、その目的の一つは、溶射固定層の寿命の偏りを抑え、溶射固定層の長寿命化を図ることができる電気加熱式担体を提供することである。
【課題を解決するための手段】
【0006】
項目1.本発明は、一実施形態において、外周壁と、外周壁の内側に配設され、一方の端面から他方の端面まで延びる流路を形成する複数のセルを区画形成する隔壁とを有するハニカム構造部と、外周壁の表面に設けられた一対の電極層と、を備えるハニカム構造体と、電極層に接続されてハニカム構造体に電圧を印加するための一対の金属電極と、を備え、一対の金属電極のそれぞれは、基部と、基部から延出された複数の歯部を有する櫛歯状の接続部と、を有し、複数の歯部は、歯部本体と、歯部本体のそれぞれを電極層に接続する複数の溶射固定層と、を含んでおり、複数の歯部は、歯部の延在方向に関して第1位置で電極層に接続された複数の近位接続歯部と、歯部の延在方向に関して第1位置よりも基部から遠い第2位置で電極層に接続された複数の遠位接続歯部と、を有しており、複数の歯部は、複数の近位接続歯部のそれぞれの電気抵抗が互いに等しく、かつ複数の遠位接続歯部のそれぞれの電気抵抗が互いに等しい場合と比較して、複数の歯部のそれぞれを流れる電流の差が小さくなるように形成されている、電気加熱式担体に関する。
【0007】
項目2.本発明は、複数の歯部は、基部の延在方向に関して櫛歯の両端部に配置された複数の端部歯部と、端部歯部の間に配置された複数の中間歯部と、を有しており、端部歯部の電気抵抗が中間歯部の電気抵抗よりも高い、項目1に記載の電気加熱式担体に関していてよい。
【0008】
項目3.本発明は、複数の端部歯部は、歯部の延在方向に関して第1位置で電極層に接続された端部近位接続歯部と、歯部の延在方向に関して第2位置で電極層に接続された端部遠位接続歯部と、を有しており、複数の中間歯部は、歯部の延在方向に関して第1位置で電極層に接続された中間近位接続歯部と、歯部の延在方向に関して第2位置で電極層に接続された中間遠位接続歯部と、を有しており、端部近位接続歯部は、基部の延在方向に関して端部遠位接続歯部の内側に配置されており、中間近位接続歯部の少なくとも1つは、基部の延在方向に関して中間遠位接続歯部の内側に配置されており、端部近位接続歯部、端部遠位接続歯部、中間近位接続歯部、及び中間遠位接続歯部の順に電気抵抗が高い、項目2に記載の電気加熱式担体に関していてよい。
【0009】
項目4.本発明は、複数の歯部は、歯部本体の幅により電気抵抗が互いに異なるように形成されている、項目1から3までのいずれか1項に記載の電気加熱式担体に関していてよい。
【0010】
項目5.本発明は、複数の歯部は、歯部本体に付加された付加部材の厚みによるか、付加部材の有無によるか、又は歯部本体自体の厚みにより、電気抵抗が互いに異なるように形成されている、項目1から4までのいずれか1項に記載の電気加熱式担体に関していてよい。
(【0011】以降は省略されています)
この特許をJ-PlatPat(特許庁公式サイト)で参照する
関連特許
日本碍子株式会社
亜鉛二次電池
8日前
日本碍子株式会社
ウエハ載置台
2日前
日本碍子株式会社
空調システム
1日前
日本碍子株式会社
ハニカム構造体
6日前
日本碍子株式会社
電気加熱式担体
7日前
日本碍子株式会社
ハニカム構造体
7日前
日本碍子株式会社
ハニカム構造体
6日前
日本碍子株式会社
電気加熱式担体
6日前
日本碍子株式会社
メタン製造反応器
6日前
日本碍子株式会社
ハニカムフィルタ
6日前
日本碍子株式会社
セラミックサセプター
今日
日本碍子株式会社
三相型ハニカムヒータ
6日前
日本碍子株式会社
センサ素子及びガスセンサ
2日前
日本碍子株式会社
セラミックス部材の製造方法
8日前
日本碍子株式会社
セラミックス試料の酸分解方法
7日前
日本碍子株式会社
浄水膜構造体および浄水膜組立体
7日前
日本碍子株式会社
ハニカム構造体及びハニカムヒータ
6日前
日本碍子株式会社
放射性廃棄物の処理方法及び保管装置
7日前
日本碍子株式会社
半導体製造装置用部材及びその再生方法
6日前
日本碍子株式会社
半導体製造装置用部材及びその再生方法
6日前
日本碍子株式会社
半導体製造装置用部材及びその再生方法
6日前
日本碍子株式会社
トチの検査方法及びハニカム構造体の製造方法
6日前
日本碍子株式会社
金属コンポジット焼結板およびリチウムイオン電池
6日前
日本碍子株式会社
ハニカム構造体、電気加熱式担体及び排気ガス浄化装置
6日前
日本碍子株式会社
ハニカム構造体、成形原料組成物及び多孔質体の製造方法
6日前
日本碍子株式会社
複合基板
2日前
株式会社リコー
ノード、データ共有方法、及びプログラム
6日前
日本碍子株式会社
ガスセンサの試験装置、ガスセンサの試験方法、およびガスセンサの製造方法
7日前
日本碍子株式会社
リジェネレイティブバーナ、工業炉、焼成品の製造方法及び加熱処理品の製造方法
6日前
株式会社西部技研
除湿装置
今日
ユニチカ株式会社
複合中空糸膜
14日前
東レ株式会社
中空糸膜モジュール
13日前
株式会社MRT
微細バブル発生装置
17日前
株式会社笹山工業所
濁水処理システム
17日前
個人
攪拌装置
17日前
東京理化器械株式会社
クリップ
21日前
続きを見る
他の特許を見る