TOP
|
特許
|
意匠
|
商標
特許ウォッチ
Twitter
他の特許を見る
10個以上の画像は省略されています。
公開番号
2025162605
公報種別
公開特許公報(A)
公開日
2025-10-28
出願番号
2024065856
出願日
2024-04-16
発明の名称
浄水膜構造体の製造方法
出願人
日本碍子株式会社
代理人
弁理士法人松阪国際特許事務所
,
個人
,
個人
,
個人
主分類
B01D
63/06 20060101AFI20251021BHJP(物理的または化学的方法または装置一般)
要約
【課題】スリット状の連通流路を好適に形成する。
【解決手段】切削治具を用いて多孔質体に連通流路部を形成する工程は、治具長手方向に延びる帯状であって先端部に複数の鋸歯を有する切削治具を準備する工程(ステップS21)と、切削治具の先端部を多孔質体の外側面に接触させ、治具長手方向に垂直な治具幅方向が多孔質体の長手方向に平行となるように切削治具を配置する工程(ステップS22)と、切削治具を当該長手方向に平行に往復移動させつつ外側面から多孔質体の内部に向かって多孔質体を切削して連通流路を形成する工程(ステップS23)と、を備える。これにより、連通流路部を好適に形成することができる。
【選択図】図9B
特許請求の範囲
【請求項1】
原水から浄水を生成する浄水膜構造体の製造方法であって、
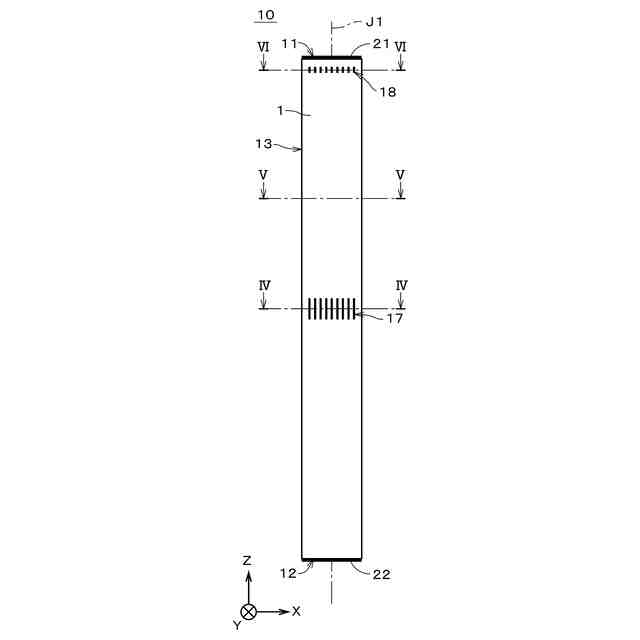
前記浄水膜構造体は、長手方向に延びる柱状の多孔質体を備え、
前記多孔質体は、
前記多孔質体の前記長手方向の一方側の端面である第1端面から前記長手方向の他方側の端面である第2端面まで前記多孔質体を前記長手方向に貫通するとともに原水が供給される複数の濾過セルと、
前記第1端面から前記長手方向に延びるとともに浄水が収集される集水孔と、
前記第1端面と前記第2端面とを繋ぐ外側面から前記複数の濾過セルを避けて前記長手方向に垂直な方向に延びるとともに前記集水孔に連通する連通流路部と、
を備え、
前記集水孔は、前記長手方向に平行に見た状態において前記第1端面の中央部に位置し、
前記連通流路部を構成する連通流路の流路長手方向に垂直な断面は、前記長手方向に長いスリット状であり、
前記浄水膜構造体の製造方法は、
a)前記複数の濾過セルおよび前記集水孔を有するとともに前記連通流路部が形成される前の前記多孔質体を準備する工程と、
b)切削治具を用いて前記多孔質体に前記連通流路部を形成する工程と、
を備え、
前記b)工程は、
c)治具長手方向に延びる帯状であって先端部に複数の鋸歯を有する前記切削治具を準備する工程と、
d)前記切削治具の前記先端部を前記多孔質体の前記外側面に接触させ、前記治具長手方向に垂直な治具幅方向が前記長手方向に平行となるように前記切削治具を配置する工程と、
e)前記切削治具を前記長手方向に平行に往復移動させつつ前記外側面から前記多孔質体の内部に向かって前記多孔質体を切削して前記連通流路を形成する工程と、
を備える浄水膜構造体の製造方法。
続きを表示(約 660 文字)
【請求項2】
請求項1に記載の浄水膜構造体の製造方法であって、
前記e)工程では、前記切削治具による形成途上の前記連通流路に、前記長手方向において前記切削治具よりも大きい保護治具が前記外側面から挿入され、前記切削治具と前記連通流路の内側面との間に配置される浄水膜構造体の製造方法。
【請求項3】
請求項1または2に記載の浄水膜構造体の製造方法であって、
前記e)工程では、前記切削治具による前記多孔質体の切削と、形成途上の前記連通流路内の切粉の除去と、が行われる浄水膜構造体の製造方法。
【請求項4】
請求項1または2に記載の浄水膜構造体の製造方法であって、
前記e)工程にて形成される前記連通流路の前記流路長手方向に垂直な流路幅方向の幅は、2mm未満である浄水膜構造体の製造方法。
【請求項5】
請求項1または2に記載の浄水膜構造体の製造方法であって、
前記e)工程にて形成される前記連通流路の前記外側面からの深さは、30mm以上である浄水膜構造体の製造方法。
【請求項6】
請求項1または2に記載の浄水膜構造体の製造方法であって、
前記e)工程において、前記切削治具による切削によって貫通される部位の厚さは、0.65mm以上である浄水膜構造体の製造方法。
【請求項7】
請求項1または2に記載の浄水膜構造体の製造方法であって、
前記複数の鋸歯の数は3以上である浄水膜構造体の製造方法。
発明の詳細な説明
【技術分野】
【0001】
本発明は、原水から浄水を生成する浄水膜構造体の製造方法に関する。
続きを表示(約 1,900 文字)
【背景技術】
【0002】
従来、浄水場等では、河川水や井戸水等の原水を濾過することによって浄水を生成する濾過装置が用いられている。
【0003】
例えば、特許文献1では、濾過装置において使用される浄水膜構造体として、円柱状の多孔質体に複数のセルが設けられたモノリス構造を有するものが提案されている。当該多孔質体の内部には、多孔質体を長手方向に貫通する複数の濾過セルと、長手方向に延びる複数の集水セルと、多孔質体の径方向中央にて長手方向に延びる集水孔と、多孔質体の外側面から複数の集水セルを貫通して集水孔に連通する集水スリットと、が設けられている。
【0004】
上記浄水膜構造体では、複数の濾過セルに供給された原水は、複数の濾過セルを形成する多孔質の隔壁を透過することによって濾過され、浄水として複数の集水セルに収集される。複数の集水セルに収集された浄水は、集水スリットを介して集水孔に収集され、浄水膜構造体の外部へと送出される。
【先行技術文献】
【特許文献】
【0005】
特開2023-56381号公報
【発明の概要】
【発明が解決しようとする課題】
【0006】
ところで、特許文献1のような集水スリットを多孔質体に設ける際には、集水セルおよび集水孔等が予め形成された多孔質体の基材に対して外側面側から切削加工等を行い、スリット状の孔を形成して集水セルおよび集水孔に連通させる必要がある。しかしながら、当該集水スリットのような連通流路は、幅が非常に狭く、かつ、奥行きが深いため、上述の切削加工に好適に利用することができる方法があまりない。
【0007】
例えば、電動ドリルを用いて切削加工を行おうとすると、連通流路の奥行きが深いため、細径ドリルが回転時に軸ブレしてスリット幅が所望の幅よりも増大するおそれがある。超音波を用いた切削加工も、連通流路の奥行きが深いため利用することが難しい。レーザ加工およびウォータージェット加工についても同様である。また、片刃のダイヤモンド電着やすり等を利用して手作業で切削加工を行うと、連通流路の幅が所望幅よりも大きくなるおそれがある。
【0008】
本発明は、上記課題に鑑みなされたものであり、スリット状の連通流路を好適に形成することを目的としている。
【課題を解決するための手段】
【0009】
態様1の発明は、原水から浄水を生成する浄水膜構造体の製造方法である。前記浄水膜構造体は、長手方向に延びる柱状の多孔質体を備える。前記多孔質体は、前記多孔質体の前記長手方向の一方側の端面である第1端面から前記長手方向の他方側の端面である第2端面まで前記多孔質体を前記長手方向に貫通するとともに原水が供給される複数の濾過セルと、前記第1端面から前記長手方向に延びるとともに浄水が収集される集水孔と、前記第1端面と前記第2端面とを繋ぐ外側面から前記複数の濾過セルを避けて前記長手方向に垂直な方向に延びるとともに前記集水孔に連通する連通流路部と、を備える。前記集水孔は、前記長手方向に平行に見た状態において前記第1端面の中央部に位置する。前記連通流路部を構成する連通流路の流路長手方向に垂直な断面は、前記長手方向に長いスリット状である。前記浄水膜構造体の製造方法は、a)前記複数の濾過セルおよび前記集水孔を有するとともに前記連通流路部が形成される前の前記多孔質体を準備する工程と、b)切削治具を用いて前記多孔質体に前記連通流路部を形成する工程と、を備える。前記b)工程は、c)治具長手方向に延びる帯状であって先端部に複数の鋸歯を有する前記切削治具を準備する工程と、d)前記切削治具の前記先端部を前記多孔質体の前記外側面に接触させ、前記治具長手方向に垂直な治具幅方向が前記長手方向に平行となるように前記切削治具を配置する工程と、e)前記切削治具を前記長手方向に平行に往復移動させつつ前記外側面から前記多孔質体の内部に向かって前記多孔質体を切削して前記連通流路を形成する工程と、を備える。
【0010】
態様2の発明は、態様1の浄水膜構造体の製造方法であって、前記e)工程では、前記切削治具による形成途上の前記連通流路に、前記長手方向において前記切削治具よりも大きい保護治具が前記外側面から挿入され、前記切削治具と前記連通流路の内側面との間に配置される。
(【0011】以降は省略されています)
この特許をJ-PlatPat(特許庁公式サイト)で参照する
関連特許
他の特許を見る