TOP
|
特許
|
意匠
|
商標
特許ウォッチ
Twitter
他の特許を見る
公開番号
2025154824
公報種別
公開特許公報(A)
公開日
2025-10-10
出願番号
2024058032
出願日
2024-03-29
発明の名称
ハニカム構造体
出願人
日本碍子株式会社
代理人
アクシス国際弁理士法人
主分類
C04B
38/00 20060101AFI20251002BHJP(セメント;コンクリート;人造石;セラミックス;耐火物)
要約
【課題】実用性のある熱容量を有すること、メンテナンスコストを低く維持できること、及び、メンテナンスが必要な時期をPM堆積量に基づいて圧力センサで検知し易いことという要求特性をすべて満足することのできるハニカム構造体を提供する。
【解決手段】外周側壁と複数の導入セルと複数の排出セルとを備える柱体状のハニカム構造体であって、複数の導入セルの少なくとも一部の導入セルは複数の排出セルの少なくとも一部の排出セルと隔壁を挟んで隣接しており、複数の導入セル及び複数の排出セルの合計数に基づくセル密度が29~43セル/cm
2
であり、隔壁の平均厚みは0.173mm以上0.236mm以下であり、複数の排出セルのうち外周側壁に隣接するものを除く排出セルの開口径の平均値をD
out
とし、複数の導入セルのうち外周側壁に隣接するものを除く導入セルの開口径の平均値をD
in
とすると、1.20≦D
in
/D
out
≦1.38を満たす、ハニカム構造体。
【選択図】図1
特許請求の範囲
【請求項1】
外周側壁と、外周側壁の内周側に配置され、入口端面から出口端面まで延び、入口端面に開口部を有し、出口端面に目封止部を有する複数の導入セルと、外周側壁の内周側に配置され、入口端面から出口端面まで延び、入口端面に目封止部を有し、出口端面に開口部を有する複数の排出セルとを備える柱体状のハニカム構造体であって、
前記複数の導入セルの少なくとも一部の導入セルは前記複数の排出セルの少なくとも一部の排出セルと隔壁を挟んで隣接しており、
前記複数の導入セル及び前記複数の排出セルの合計数に基づくセル密度が29~43セル/cm
2
であり、
前記隔壁の平均厚みは0.173mm以上0.236mm以下であり、
前記複数の排出セルのうち外周側壁に隣接するものを除く排出セルの開口径の平均値をD
out
とし、前記複数の導入セルのうち外周側壁に隣接するものを除く導入セルの開口径の平均値をD
in
とすると、1.20≦D
in
/D
out
≦1.38を満たす、
ハニカム構造体。
続きを表示(約 1,500 文字)
【請求項2】
前記複数の導入セルのそれぞれの開口径の平均値D
in
は、外周側壁に隣接するものを除き、1.48mm以上1.80mm以下であり、
前記複数の排出セルのそれぞれの開口径の平均値D
out
は、外周側壁に隣接するものを除き、1.16mm以上1.48mm以下である、
請求項1に記載のハニカム構造体。
【請求項3】
前記隔壁の平均気孔率が52~60%である請求項1又は2に記載のハニカム構造体。
【請求項4】
外形寸法から測定される密度が、0.288~0.410g/cm
3
である請求項1又は2に記載のハニカム構造体。
【請求項5】
前記複数の排出セルのうち外周側壁に隣接するものを除く排出セルの数に対する前記複数の導入セルのうち外周側壁に隣接するものを除く導入セルの数の比が0.9~1.1である請求項1又は2に記載のハニカム構造体。
【請求項6】
前記ハニカム構造体の単位体積当たりのススを含む粒子状物質の堆積質量が1g/Lのときに、温度250℃、流量480kg/hrの排ガスが前記入口端面から前記出口端面まで通過する時の圧損をP
1
とし、
前記ハニカム構造体の単位体積当たりのススを含む粒子状物質の堆積質量が3g/Lのときに、温度250℃、流量480kg/hrの排ガスが前記入口端面から前記出口端面まで通過する時の圧損をP
2
とすると、
45%≦(P
2
-P
1
)/P
1
を満たす、
請求項1又は2に記載のハニカム構造体。
【請求項7】
前記隔壁がコージェライトを含有する請求項1又は2に記載のハニカム構造体。
【請求項8】
外周側壁と、外周側壁の内周側に配置され、入口端面から出口端面まで延び、入口端面に開口部を有し、出口端面に目封止部を有する複数の導入セルと、外周側壁の内周側に配置され、入口端面から出口端面まで延び、入口端面に目封止部を有し、出口端面に開口部を有する複数の排出セルとを備える柱体状のハニカム構造体であって、
前記複数の導入セルの少なくとも一部の導入セルは前記複数の排出セルの少なくとも一部の排出セルと隔壁を挟んで隣接しており、
前記複数の導入セル及び前記複数の排出セルの合計数に基づくセル密度が29~36セル/cm
2
であり、
前記隔壁の平均厚みは0.231mm以上0.312mm以下であり、
前記複数の排出セルのうち外周側壁に隣接するものを除く排出セルの開口径の平均値をD
out
とし、前記複数の導入セルのうち外周側壁に隣接するものを除く導入セルの開口径の平均値をD
in
とすると、1.14≦D
in
/D
out
≦1.37を満たし、
前記隔壁の平均気孔率が57~63%である、
ハニカム構造体。
【請求項9】
前記複数の導入セルのそれぞれの開口径の平均値D
in
は、外周側壁に隣接するものを除き、1.52mm以上1.76mm以下であり、
前記複数の排出セルのそれぞれの開口径の平均値D
out
は、外周側壁に隣接するものを除き、1.20mm以上1.44mm以下である、
請求項8に記載のハニカム構造体。
【請求項10】
前記隔壁の平均細孔径が7~13μmである請求項8又は9に記載のハニカム構造体。
(【請求項11】以降は省略されています)
発明の詳細な説明
【技術分野】
【0001】
本発明はハニカム構造体に関する。
続きを表示(約 4,200 文字)
【背景技術】
【0002】
ディーゼルエンジンは、ガソリンエンジンに比較して熱効率が良いが、拡散燃焼によるススやアッシュなどの粒子状物質(PM)の発生がある。この粒子状物質は、発がん性が認められているので、その大気放出の防止が必須である。このため、現在では、欧州を中心に従来の重量による量規制に加えPM個数を規制する厳しい規制が課せられている。
【0003】
しかしながら、燃焼の改善によるPMの排出低減には限界があり、排気にDPF(Diesel Particulate Filter)と呼ばれるフィルタを設置することが現在唯一の有効な手段となっている。このフィルタとしては、多孔質の隔壁を排ガスが通過するように設計したウォールフロー型のフィルタが有効である。具体的には、ウォールフロー型のフィルタは、多孔質の隔壁を介して隣接している多数の導入セルと多数の排出セルを有しており、排ガスが隔壁を通過する間にPMを捕獲するハニカム構造体によって構成可能である。
【0004】
ハニカム構造体によって構成されるウォールフロー型のフィルタは、稼働時間の増加と共にPMがフィルタ内に溜まり、圧力損失が増大していく問題がある。そのため、このようなフィルタは、一定のPM堆積毎に燃料を余分に噴射し排ガス温度を上昇させ、ススを燃焼させる(フィルタ再生)ことで圧力損失を低減させている。加えて、アッシュは高温でも燃焼しないため、乗用車に比べて走行距離が長い(即ち、フィルタの稼働時間が長い)トラックやオフロード車両は、ハニカム構造体の洗浄処理をすることでフィルタ内に堆積するアッシュを定期的に除去し圧力損失を低減させる必要がある。PM堆積時の圧力損失がすぐに高くなってしまうと、フィルタ再生や洗浄処理の頻度が高くなり、燃料消費量及びメンテナンス費用の増大を招いてしまう。そこで、導入セル及び排出セルの配列や大きさに工夫を施すことでPM堆積時の圧力損失を低減する工夫がなされてきた(特許文献1、特許文献2)。
【先行技術文献】
【特許文献】
【0005】
国際公開第2019/104057号
国際公開第2013/187444号
【発明の概要】
【発明が解決しようとする課題】
【0006】
従来、フィルタ再生や洗浄処理の時期は圧力センサを用いてフィルタの入口と出口の間の圧損を測定することにより判断している。しかし、フィルタに大量にPMが溜まった後の圧力損失が低いままだと、圧力センサによってフィルタ再生制御を行なっている場合は圧力損失によるPM堆積量予測が高難易度化してPM過堆積となり、フィルタの破損に繋がってしまうという問題がある。そこで、PMが溜まった後の圧力損失が過度に大きくならないようにすることでフィルタ再生及び洗浄処理頻度を低減してメンテナンスコストを低減するのと同時に、PMが溜まった量に準じた圧力損失の変化量(圧損傾斜)を大きくすることで、フィルタ再生や洗浄処理に適したPM堆積量を圧力センサで検知し易くすることが望ましい。一方で、ハニカム構造体には、フィルタ再生時に過度に温度上昇して破損することがないような熱容量も要求される。
【0007】
本発明は、上記事情に鑑みてなされたものであり、一実施形態において、実用的な熱容量を有すること、メンテナンスコストを低く維持できること、及び、メンテナンスが必要な時期をPM堆積量に基づいて圧力センサで検知し易いことという要求特性をすべて満足することのできるハニカム構造体を提供することを課題とする。
【課題を解決するための手段】
【0008】
本発明者が上記課題を解決するべく鋭意検討したところ、セル密度、隔壁の平均厚み、開口径比、及び隔壁の平均気孔率等のハニカム構造に関するパラメータを適切に組み合わせることが課題解決に有効であることを見出し、以下に例示される本発明を完成させた。
[態様1]
外周側壁と、外周側壁の内周側に配置され、入口端面から出口端面まで延び、入口端面に開口部を有し、出口端面に目封止部を有する複数の導入セルと、外周側壁の内周側に配置され、入口端面から出口端面まで延び、入口端面に目封止部を有し、出口端面に開口部を有する複数の排出セルとを備える柱体状のハニカム構造体であって、
前記複数の導入セルの少なくとも一部の導入セルは前記複数の排出セルの少なくとも一部の排出セルと隔壁を挟んで隣接しており、
前記複数の導入セル及び前記複数の排出セルの合計数に基づくセル密度が29~43セル/cm
2
であり、
前記隔壁の平均厚みは0.173mm以上0.236mm以下であり、
前記複数の排出セルのうち外周側壁に隣接するものを除く排出セルの開口径の平均値をD
out
とし、前記複数の導入セルのうち外周側壁に隣接するものを除く導入セルの開口径の平均値をD
in
とすると、1.20≦D
in
/D
out
≦1.38を満たす、
ハニカム構造体。
[態様2]
前記複数の導入セルのそれぞれの開口径の平均値D
in
は、外周側壁に隣接するものを除き、1.48mm以上1.80mm以下であり、
前記複数の排出セルのそれぞれの開口径の平均値D
out
は、外周側壁に隣接するものを除き、1.16mm以上1.48mm以下である、
態様1に記載のハニカム構造体。
[態様3]
前記隔壁の平均気孔率が52~60%である態様1又は2に記載のハニカム構造体。
[態様4]
外形寸法から測定される密度が、0.288~0.410g/cm
3
である態様1~3の何れかに記載のハニカム構造体。
[態様5]
前記複数の排出セルのうち外周側壁に隣接するものを除く排出セルの数に対する前記複数の導入セルのうち外周側壁に隣接するものを除く導入セルの数の比が0.9~1.1である態様1~4の何れかに記載のハニカム構造体。
[態様6]
前記ハニカム構造体の単位体積当たりのススを含む粒子状物質の堆積質量が1g/Lのときに、温度250℃、流量480kg/hrの排ガスが前記入口端面から前記出口端面まで通過する時の圧損をP
1
とし、
前記ハニカム構造体の単位体積当たりのススを含む粒子状物質の堆積質量が3g/Lのときに、温度250℃、流量480kg/hrの排ガスが前記入口端面から前記出口端面まで通過する時の圧損をP
2
とすると、
45%≦(P
2
-P
1
)/P
1
を満たす、
態様1~5の何れかに記載のハニカム構造体。
[態様7]
前記隔壁がコージェライトを含有する態様1~6の何れかに記載のハニカム構造体。
[態様8]
外周側壁と、外周側壁の内周側に配置され、入口端面から出口端面まで延び、入口端面に開口部を有し、出口端面に目封止部を有する複数の導入セルと、外周側壁の内周側に配置され、入口端面から出口端面まで延び、入口端面に目封止部を有し、出口端面に開口部を有する複数の排出セルとを備える柱体状のハニカム構造体であって、
前記複数の導入セルの少なくとも一部の導入セルは前記複数の排出セルの少なくとも一部の排出セルと隔壁を挟んで隣接しており、
前記複数の導入セル及び前記複数の排出セルの合計数に基づくセル密度が29~36セル/cm
2
であり、
前記隔壁の平均厚みは0.231mm以上0.312mm以下であり、
前記複数の排出セルのうち外周側壁に隣接するものを除く排出セルの開口径の平均値をD
out
とし、前記複数の導入セルのうち外周側壁に隣接するものを除く導入セルの開口径の平均値をD
in
とすると、1.14≦D
in
/D
out
≦1.37を満たし、
前記隔壁の平均気孔率が57~63%である、
【発明の効果】
【0009】
本発明の一実施形態に係るハニカム構造体を排ガスフィルタとして使用することで、PMが溜まった後の圧力損失が過度に大きくならないようにすることでフィルタ再生及び洗浄処理頻度を低減するのと同時に、PMが溜まった量に準じた圧力損失の変化量(圧損傾斜)を大きくすることで、フィルタ再生や洗浄処理に適したPM堆積量を圧力センサで検知し易くすることが可能である。これにより、メンテナンスコストを低く維持でき、且つ、メンテナンスが必要な時期をPM堆積量に基づいて圧力センサで検知し易いフィルタを得ることができる。このため、PM過堆積によってフィルタが破損するおそれを低減することが可能となる。また、本発明の一実施形態に係るハニカム構造体は、実用的な熱容量を有することから、フィルタ再生時に過度に温度が上昇して破損するリスクが低い。このように、本発明の一実施形態によれば、実用上極めて優れたハニカム構造体が提供できるといえる。
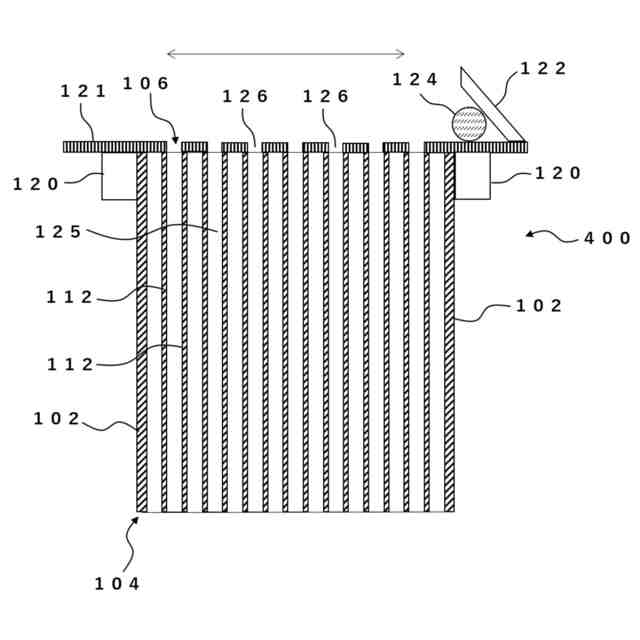
【図面の簡単な説明】
【0010】
ウォールフロー型のハニカム構造体を模式的に示す斜視図である。
ウォールフロー型のハニカム構造体をセルの延びる方向に平行な断面から観察したときの模式的な断面図である。
ハニカム構造体の隔壁をセルの延びる方向に直交する断面から観察したときの模式的な部分拡大図である。
スキージ方式による目封止部の形成方法の一例を模式的に示す説明図である。
【発明を実施するための形態】
(【0011】以降は省略されています)
この特許をJ-PlatPat(特許庁公式サイト)で参照する
関連特許
日本碍子株式会社
電気化学セル
1日前
日本碍子株式会社
ウエハ載置台
24日前
日本碍子株式会社
空調システム
23日前
日本碍子株式会社
電気加熱式担体
28日前
日本碍子株式会社
ハニカム構造体
28日前
日本碍子株式会社
ハニカム構造体
28日前
日本碍子株式会社
メタン製造反応器
28日前
日本碍子株式会社
ハニカムフィルタ
28日前
日本碍子株式会社
三相型ハニカムヒータ
28日前
日本碍子株式会社
セラミックサセプター
22日前
日本碍子株式会社
半導体製造装置用ヒータ
15日前
日本碍子株式会社
浄水膜構造体の製造方法
10日前
日本碍子株式会社
センサ素子及びガスセンサ
24日前
日本碍子株式会社
ハニカム構造体及びハニカムヒータ
28日前
日本碍子株式会社
半導体製造装置用部材及びその再生方法
28日前
日本碍子株式会社
半導体製造装置用部材及びその再生方法
28日前
日本碍子株式会社
半導体製造装置用部材及びその再生方法
28日前
日本碍子株式会社
トチの検査方法及びハニカム構造体の製造方法
28日前
日本碍子株式会社
車両用空調システム、及び調湿デバイスの使用方法
8日前
国立大学法人九州大学
耐水素材料及び耐水素構造部品
15日前
日本碍子株式会社
複合基板
24日前
日本碍子株式会社
ハニカム構造体、成形原料組成物及び多孔質体の製造方法
28日前
株式会社リコー
ノード、データ共有方法、及びプログラム
28日前
日本碍子株式会社
リジェネレイティブバーナ、工業炉、焼成品の製造方法及び加熱処理品の製造方法
28日前
個人
吸収材
今日
個人
振動吸収材
今日
個人
水質浄化剤
今日
個人
空気清浄材
今日
東ソー株式会社
焼結体
2日前
東ソー株式会社
焼結体
2日前
株式会社トクヤマ
水硬性組成物
1か月前
株式会社トクヤマ
窒化ケイ素基板
2か月前
株式会社トクヤマ
窒化ケイ素基板
1か月前
東ソー株式会社
焼結体の製造方法
21日前
株式会社トクヤマ
窒化ケイ素基板
1か月前
太平洋マテリアル株式会社
膨張材
1か月前
続きを見る
他の特許を見る