TOP
|
特許
|
意匠
|
商標
特許ウォッチ
Twitter
他の特許を見る
10個以上の画像は省略されています。
公開番号
2025174167
公報種別
公開特許公報(A)
公開日
2025-11-28
出願番号
2024080279
出願日
2024-05-16
発明の名称
回収システム
出願人
日本碍子株式会社
,
エヌジーケイ・キルンテック株式会社
代理人
弁理士法人 快友国際特許事務所
主分類
F27B
9/39 20060101AFI20251120BHJP(炉,キルン,窯;レトルト)
要約
【課題】被処理物を好適に回収することができる技術を開示する。
【解決手段】回収システムは、被処理物を回収する。回収システムは、熱処理炉から搬出された複数の匣鉢を、前記複数の匣鉢を搬送する搬送方向に対して直交する列方向に複数列に並べられた状態で搬送する搬送装置と、前記搬送装置により搬送された前記複数の匣鉢から前記被処理物を、前記複数の匣鉢が前記複数列に並べられた状態で同時に回収する回収装置と、を備えている。
【選択図】図8
特許請求の範囲
【請求項1】
被処理物を回収する回収システムであって、
熱処理炉から搬出された複数の匣鉢を、前記複数の匣鉢を搬送する搬送方向に対して直交する列方向に複数列に並べられた状態で搬送する搬送装置と、
前記搬送装置により搬送された前記複数の匣鉢から前記被処理物を、前記複数の匣鉢が前記複数列に並べられた状態で同時に回収する回収装置と、を備えている、回収システム。
続きを表示(約 890 文字)
【請求項2】
前記回収装置は、
前記被処理物を回収する回収容器と、
前記複数の匣鉢が前記複数列に並べられた状態で、前記複数の匣鉢を前記搬送装置から持ち上げるリフタと、を備えており、
前記リフタは、持ち上げた前記複数の匣鉢内の前記被処理物を前記回収容器に移動させる、請求項1に記載の回収システム。
【請求項3】
前記複数の匣鉢のそれぞれは、上端に開口を有しており、
前記リフタは、持ち上げた前記複数の匣鉢を反転させることにより、前記被処理物を前記回収容器に移動させる、請求項2に記載の回収システム。
【請求項4】
前記回収装置は、前記複数の匣鉢のそれぞれの上面に当接する押さえ部材をさらに備えており、
前記リフタは、前記複数の匣鉢のそれぞれの下面を支持する支持部材を備えている、請求項3に記載の回収システム。
【請求項5】
前記押さえ部材は、前記複数の匣鉢の前記上面に当接する当接位置と、前記複数の匣鉢の前記上面に当接しない非当接位置との間を移動し、
前記押さえ部材が前記当接位置に位置するときに前記リフタが前記複数の匣鉢を反転させると、前記押さえ部材は、前記複数の匣鉢とともに反転する、請求項4に記載の回収システム。
【請求項6】
前記列方向における前記回収容器の回収口の幅は、前記複数の匣鉢が前記複数列に並べられている状態での前記列方向における前記複数の匣鉢の幅よりも大きい、請求項2に記載の回収システム。
【請求項7】
前記回収装置は、前記複数の匣鉢が前記複数列に並べられている状態で前記複数の匣鉢を前記列方向に整列させる一対のサイドクランプをさらに備えている、請求項1から6のいずれか一項に記載の回収システム。
【請求項8】
前記回収装置は、前記搬送方向に前記複数の匣鉢のそれぞれと当接可能であり、前記搬送方向における前記複数の匣鉢の位置を調整するストッパをさらに備えている、請求項1から6のいずれか一項に記載の回収システム。
発明の詳細な説明
【技術分野】
【0001】
本明細書に開示する技術は、回収システムに関する。
続きを表示(約 1,700 文字)
【背景技術】
【0002】
特許文献1には、回収システムが開示されている。回収システムは、熱処理炉から搬出された匣鉢を搬送する搬送装置と、搬出装置により搬送された匣鉢から被処理物を回収する回収装置と、を備えている。
【先行技術文献】
【特許文献】
【0003】
特許第7041300号
【発明の概要】
【発明が解決しようとする課題】
【0004】
上記の回収システムでは、回収装置は、1度の動作で、1個の匣鉢から被処理物を回収する。このため、複数の匣鉢が複数列に並べられた状態で搬送されると、複数の匣鉢のそれぞれから被処理物を回収するためには、多数の回収動作が必要となる。
【0005】
本明細書は、被処理物を好適に回収することができる技術を開示する。
【課題を解決するための手段】
【0006】
本明細書に開示する技術の第1の態様では、回収システムは、被処理物を回収する。回収システムは、熱処理炉から搬出された複数の匣鉢を、前記複数の匣鉢を搬送する搬送方向に対して直交する列方向に複数列に並べられた状態で搬送する搬送装置と、前記搬送装置により搬送された前記複数の匣鉢から前記被処理物を、前記複数の匣鉢が前記複数列に並べられた状態で同時に回収する回収装置と、を備えている。
【0007】
上記の構成によれば、回収装置は、複数の匣鉢が列方向に複数列に並べられた状態で、複数の匣鉢から被処理物を同時に回収する。これにより、複数の匣鉢のそれぞれから被処理物を少ない回数の回収動作で回収することができる。
【図面の簡単な説明】
【0008】
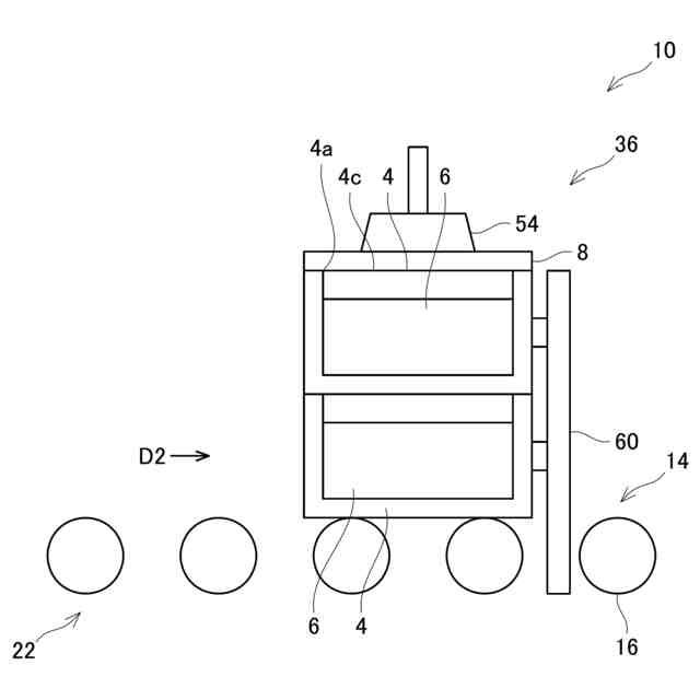
実施例の熱処理炉と回収装置の概略図である。
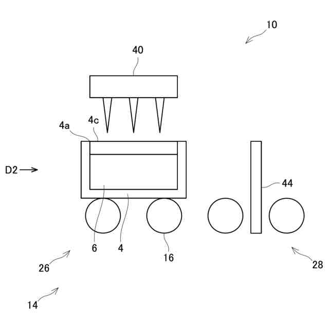
実施例の搬送装置と蓋外し装置と匣鉢を側方から見た図である。
実施例の搬送装置と蓋外し装置と匣鉢を上側から見た図である。
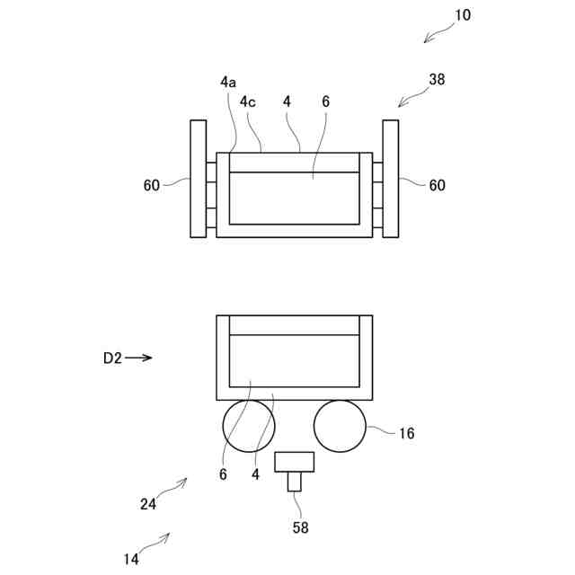
実施例の搬送装置と段バラシ装置と匣鉢を上側から見た図である。
実施例において、リフタが上昇している状態での搬送装置と段バラシ装置と匣鉢を側方から見た図である。
実施例において、リフタが下降している状態での搬送装置と段バラシ装置と匣鉢を側方から見た図である。
実施例の搬送装置と解砕装置と匣鉢を側方から見た図である。
実施例の搬送装置と回収装置と匣鉢を上側から見た図である。
実施例において、支持部材が非支持位置に位置しており、かつ、第2押さえ部材が非当接位置に位置する状態での搬送装置と回収装置と匣鉢を側方から見た図である。
実施例において、リフタが回動する前の搬送装置と回収装置と匣鉢を側方から見た図である。
実施例の搬送装置と回収装置と匣鉢を第2搬送方向に見た図である。
実施例のストッパとリフタと第1押さえ部と第2押さえ部材を上側から見た図である。
実施例において、支持部材が非支持位置に位置しており、かつ、第2押さえ部材が当接位置に位置する状態での搬送装置と回収装置と匣鉢を側方から見た図である。
実施例において、リフタが回動した後の搬送装置と回収装置と匣鉢を側方から見た図である。
【発明を実施するための形態】
【0009】
以下に説明する実施例の主要な特徴を列記しておく。なお、以下に記載する技術要素は、それぞれ独立した技術要素であって、単独であるいは各種の組合せによって技術的有用性を発揮するものであり、出願時請求項記載の組合せに限定されるものではない。
【0010】
本明細書に開示する技術の第2の態様では、上記の第1の態様において、前記回収装置は、前記被処理物を回収する回収容器と、前記複数の匣鉢が前記複数列に並べられた状態で、前記複数の匣鉢を前記搬送装置から持ち上げるリフタと、を備えている。前記リフタは、持ち上げた前記複数の匣鉢内の前記被処理物を前記回収容器に移動させる。上記の構成によれば、リフタを用いる簡素な構成により、複数の匣鉢のそれぞれから被処理物を同時に回収することができる。
(【0011】以降は省略されています)
この特許をJ-PlatPat(特許庁公式サイト)で参照する
関連特許
日本碍子株式会社
蒸発器
1日前
日本碍子株式会社
熱交換器
1か月前
日本碍子株式会社
熱交換器
2か月前
日本碍子株式会社
把持方法
1か月前
日本碍子株式会社
亜鉛二次電池
1か月前
日本碍子株式会社
空調システム
1か月前
日本碍子株式会社
回収システム
1日前
日本碍子株式会社
ウエハ載置台
1か月前
日本碍子株式会社
電気化学セル
23日前
日本碍子株式会社
ハニカム構造体
1か月前
日本碍子株式会社
電気加熱式担体
1か月前
日本碍子株式会社
ハニカム構造体
1か月前
日本碍子株式会社
ハニカム構造体
1か月前
日本碍子株式会社
電気加熱式担体
1か月前
日本碍子株式会社
ハニカム構造体
1か月前
日本碍子株式会社
ハニカム構造体
2か月前
日本碍子株式会社
メタン製造反応器
1か月前
日本碍子株式会社
セラミックヒータ
2日前
日本碍子株式会社
アルカリ二次電池
2か月前
日本碍子株式会社
ハニカムフィルタ
1か月前
日本碍子株式会社
導波素子の製造方法
2か月前
日本碍子株式会社
車両用調湿システム
1日前
日本碍子株式会社
車両用空調システム
1日前
日本碍子株式会社
ウォーキングビーム炉
1か月前
日本碍子株式会社
三相型ハニカムヒータ
1か月前
日本碍子株式会社
セラミックサセプター
1か月前
日本碍子株式会社
半導体製造装置用ヒータ
1か月前
日本碍子株式会社
浄水膜構造体の製造方法
1か月前
日本碍子株式会社
センサ素子及びガスセンサ
1か月前
日本碍子株式会社
セラミックス部材の製造方法
1か月前
日本碍子株式会社
センサ素子およびガスセンサ
1か月前
日本碍子株式会社
AlN単結晶基板及びデバイス
2か月前
日本碍子株式会社
ロボットハンドおよびロボット
1か月前
日本碍子株式会社
ロボットハンドおよびロボット
1か月前
日本碍子株式会社
セラミックス試料の酸分解方法
1か月前
日本碍子株式会社
浄水膜構造体および浄水膜組立体
1か月前
続きを見る
他の特許を見る