TOP
|
特許
|
意匠
|
商標
特許ウォッチ
Twitter
他の特許を見る
10個以上の画像は省略されています。
公開番号
2025174236
公報種別
公開特許公報(A)
公開日
2025-11-28
出願番号
2024080385
出願日
2024-05-16
発明の名称
蒸発器
出願人
日本碍子株式会社
代理人
アクシス国際弁理士法人
主分類
F24F
6/04 20060101AFI20251120BHJP(加熱;レンジ;換気)
要約
【課題】液体の供給量を容易に調整でき、液体や発生する蒸気を有効利用することが可能な蒸発器を提供する。
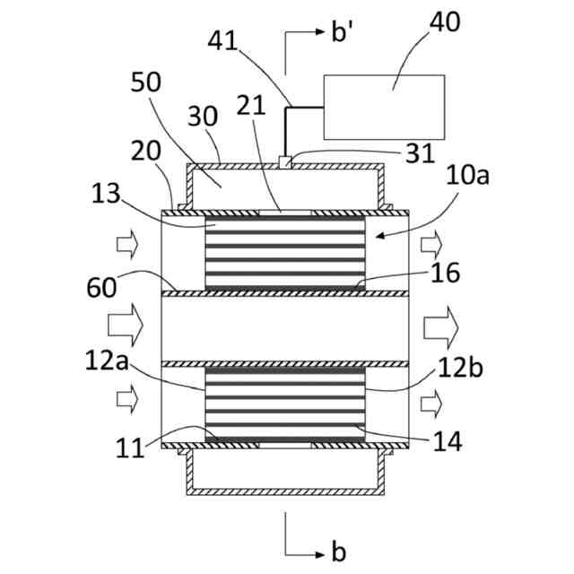
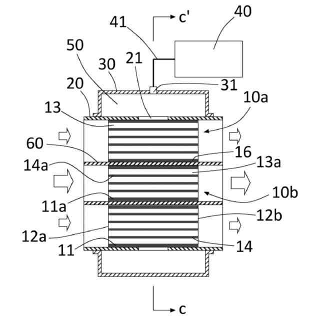
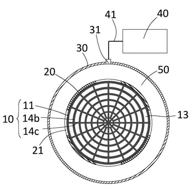
【解決手段】外周壁11と、外周壁11の内側に配設され、第1端面12aから第2端面12bまで延びる第1流体の流路となる複数のセル13を区画形成する隔壁14とを有する多孔質の第1ハニカム構造体10と、外周壁11に嵌合され、液体が流通可能な貫通部21を有する第1筒状部材20と、第1筒状部材20の径方向外側に液体の流路50を構成するように間隔をもって配置されるジャケット部材30と、液体の流路50に液体を供給し且つその供給量を調整可能な液体供給装置40とを備える蒸発器である。
【選択図】図1A
特許請求の範囲
【請求項1】
外周壁と、前記外周壁の内側に配設され、第1端面から第2端面まで延びる第1流体の流路となる複数のセルを区画形成する隔壁とを有する多孔質の第1ハニカム構造体と、
前記外周壁に嵌合され、液体が流通可能な貫通部を有する第1筒状部材と、
前記第1筒状部材の径方向外側に前記液体の流路を構成するように間隔をもって配置されるジャケット部材と、
前記液体の流路に前記液体を供給し且つその供給量を調整可能な液体供給装置と
を備える蒸発器。
続きを表示(約 1,000 文字)
【請求項2】
前記第1ハニカム構造体の前記外周壁及び前記隔壁の少なくとも一部に、前記第1ハニカム構造体の径方向に貫通する液体供給部が設けられている、請求項1に記載の蒸発器。
【請求項3】
前記液体供給部が、スリット及び/又は貫通孔である、請求項2に記載の蒸発器。
【請求項4】
前記第1ハニカム構造体の前記外周壁の少なくとも一部に溝部が設けられている、請求項1に記載の蒸発器。
【請求項5】
前記第1流体の流れ方向を基準として、前記第1ハニカム構造体の上流側に前記第1流体の加熱部が設けられている、請求項1~4のいずれか一項に記載の蒸発器。
【請求項6】
前記第1ハニカム構造体が、内周壁を更に有し、前記内周壁と前記外周壁との間に前記隔壁が配設された中空型のハニカム構造体であり、
加熱された第2流体が前記内周壁内を流通可能であるか又は前記内周壁内に加熱部が設けられている、請求項1~4のいずれか一項に記載の蒸発器。
【請求項7】
前記第1ハニカム構造体の前記内周壁内に、外周壁と、前記外周壁の内側に配設され、第1端面から第2端面まで延びる前記第2流体の流路となる複数のセルを区画形成する隔壁とを有する第2ハニカム構造体が配置されている、請求項6に記載の蒸発器。
【請求項8】
前記内周壁に嵌合される第2筒状部材を更に備え、
加熱された第2流体が前記第2筒状部材内を流通可能であるか又は前記第2筒状部材内に加熱部が設けられている、請求項6に記載の蒸発器。
【請求項9】
前記第2筒状部材内に、外周壁と、前記外周壁の内側に配設され、第1端面から第2端面まで延びる前記第2流体の流路となる複数のセルを区画形成する隔壁とを有する第2ハニカム構造体が配置されている、請求項8に記載の蒸発器。
【請求項10】
前記第1ハニカム構造体が、内周壁を更に有し、前記内周壁と前記外周壁との間に前記隔壁が配設された中空型のハニカム構造体であり、
前記内周壁に嵌合される第2筒状部材を更に備え、加熱された第2流体が前記第2筒状部材内を流通可能であり、
前記第1流体の流れ方向を基準として、前記第1ハニカム構造体の上流側に前記第1流体を加熱するための第1熱交換器が設けられている、請求項1~4のいずれか一項に記載の蒸発器。
(【請求項11】以降は省略されています)
発明の詳細な説明
【技術分野】
【0001】
本発明は、蒸発器に関する。
続きを表示(約 1,300 文字)
【背景技術】
【0002】
水蒸気などの蒸気は、加湿器、吸収式冷凍機、燃料電池などの様々な分野で利用されている。
蒸気を発生させる方法の1つとして気化方式(自然蒸発方式)がある。気化方式は、水などの液体を湿潤させた気体透過性の膜に空気などの気体を通過させることによって液体を気化蒸発させることができる。
しかしながら、気化方式は、膜の空気抵抗が大きいため、送風機に対する負荷が大きく、送風機の小型化が難しいという問題がある。
そこで、多孔質セラミックスのような高吸水率の材料で形成され多数の貫通孔を有する蒸発器が提案されている(特許文献1)。この蒸発器は、送風機から送られてくる空気の通過を多数の貫通孔によって高め、送風機の圧力損失を低減することができる。
【先行技術文献】
【特許文献】
【0003】
特開平6-66437号公報
【発明の概要】
【発明が解決しようとする課題】
【0004】
特許文献1の蒸発器は、蒸発器の周囲に吸水材を密着させて取り付け、吸水材をタンクの中に入れられた水に浸し、全周から蒸発器に水分を供給しているため、水の供給量を調整することが難しい。
また、吸収材の周囲が露出しているため、タンクに供給された水や吸収材の周囲で発生した蒸気を有効利用できない可能性がある。
さらに、蒸発器の全周から吸水させるためには蒸発器の周囲に吸水材を設ける必要もある。
【0005】
本発明は、上記のような課題を解決するためになされたものであり、液体の供給量を容易に調整でき、液体や発生する蒸気を有効利用することが可能な蒸発器を提供することを目的とする。
【課題を解決するための手段】
【0006】
本発明者らは、蒸発器について鋭意研究を行った結果、所定の構造とすることにより、上記の課題を解決し得ることを見出し、本発明を完成するに至った。すなわち、本発明は、以下のように例示される。
【0007】
<1> 外周壁と、前記外周壁の内側に配設され、第1端面から第2端面まで延びる第1流体の流路となる複数のセルを区画形成する隔壁とを有する多孔質の第1ハニカム構造体と、
前記外周壁に嵌合され、液体が流通可能な貫通部を有する第1筒状部材と、
前記第1筒状部材の径方向外側に前記液体の流路を構成するように間隔をもって配置されるジャケット部材と、
前記液体の流路に前記液体を供給し且つその供給量を調整可能な液体供給装置と
を備える蒸発器。
【0008】
<2> 前記第1ハニカム構造体の前記外周壁及び前記隔壁の少なくとも一部に、前記第1ハニカム構造体の径方向に貫通する液体供給部が設けられている、<1>に記載の蒸発器。
【0009】
<3> 前記液体供給部が、スリット及び/又は貫通孔である、<2>に記載の蒸発器。
【0010】
<4> 前記第1ハニカム構造体の前記外周壁の少なくとも一部に溝部が設けられている、<1>~<3>のいずれか一つに記載の蒸発器。
(【0011】以降は省略されています)
この特許をJ-PlatPat(特許庁公式サイト)で参照する
関連特許
日本碍子株式会社
蒸発器
1日前
日本碍子株式会社
熱交換器
2か月前
日本碍子株式会社
熱交換器
1か月前
日本碍子株式会社
把持方法
1か月前
日本碍子株式会社
空調システム
1か月前
日本碍子株式会社
電気化学セル
23日前
日本碍子株式会社
ウエハ載置台
1か月前
日本碍子株式会社
回収システム
1日前
日本碍子株式会社
亜鉛二次電池
1か月前
日本碍子株式会社
電気加熱式担体
1か月前
日本碍子株式会社
ハニカム構造体
1か月前
日本碍子株式会社
ハニカム構造体
1か月前
日本碍子株式会社
電気加熱式担体
1か月前
日本碍子株式会社
ハニカム構造体
1か月前
日本碍子株式会社
ハニカム構造体
1か月前
日本碍子株式会社
メタン製造反応器
1か月前
日本碍子株式会社
ハニカムフィルタ
1か月前
日本碍子株式会社
アルカリ二次電池
2か月前
日本碍子株式会社
セラミックヒータ
2日前
日本碍子株式会社
車両用空調システム
1日前
日本碍子株式会社
車両用調湿システム
1日前
日本碍子株式会社
セラミックサセプター
1か月前
日本碍子株式会社
三相型ハニカムヒータ
1か月前
日本碍子株式会社
ウォーキングビーム炉
1か月前
日本碍子株式会社
半導体製造装置用ヒータ
1か月前
日本碍子株式会社
浄水膜構造体の製造方法
1か月前
日本碍子株式会社
センサ素子及びガスセンサ
1か月前
日本碍子株式会社
セラミックス部材の製造方法
1か月前
日本碍子株式会社
センサ素子およびガスセンサ
1か月前
日本碍子株式会社
ロボットハンドおよびロボット
1か月前
日本碍子株式会社
セラミックス試料の酸分解方法
1か月前
日本碍子株式会社
ロボットハンドおよびロボット
1か月前
日本碍子株式会社
浄水膜構造体および浄水膜組立体
1か月前
日本碍子株式会社
ハニカム構造体及びハニカムヒータ
1か月前
日本碍子株式会社
放射性廃棄物の処理方法及び保管装置
1か月前
日本碍子株式会社
半導体製造装置用部材及びその再生方法
1か月前
続きを見る
他の特許を見る