TOP
|
特許
|
意匠
|
商標
特許ウォッチ
Twitter
他の特許を見る
公開番号
2025150923
公報種別
公開特許公報(A)
公開日
2025-10-09
出願番号
2024052086
出願日
2024-03-27
発明の名称
電気加熱式担体
出願人
日本碍子株式会社
代理人
アクシス国際弁理士法人
主分類
B01J
35/50 20240101AFI20251002BHJP(物理的または化学的方法または装置一般)
要約
【課題】電気加熱式担体の抵抗上昇率を緩やかにできる電気加熱式担体を提供する。
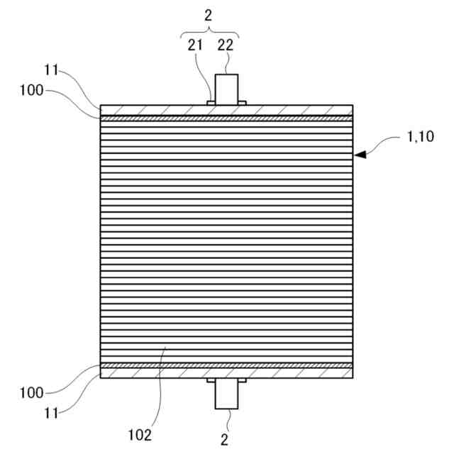
【解決手段】本発明による電気加熱式担体は、外周壁100と、外周壁100の内側に配設され、一方の端面から他方の端面まで延びる流路を形成する複数のセル102を区画形成する隔壁101とを有するハニカム構造部10を備えるハニカム構造体1と、ハニカム構造体1に電圧を印加するための一対の電極とを備え、外周壁100及び隔壁101がセラミックス多孔質体によって構成されており、セラミックス多孔質体が0.01m
2
/g以上かつ0.20m
2
/g以下の比表面積を有する。
【選択図】図1
特許請求の範囲
【請求項1】
外周壁と、前記外周壁の内側に配設され、一方の端面から他方の端面まで延びる流路を形成する複数のセルを区画形成する隔壁とを有するハニカム構造部を備えるハニカム構造体と、
前記ハニカム構造体に電圧を印加するための一対の電極と
を備え、
前記外周壁及び前記隔壁がセラミックス多孔質体によって構成されており、前記セラミックス多孔質体が0.01m
2
/g以上かつ0.20m
2
/g以下の比表面積を有する、
電気加熱式担体。
続きを表示(約 400 文字)
【請求項2】
前記セラミックス多孔質体は金属ケイ素及び炭化ケイ素の複合材であり、前記セラミックス多孔質体における前記金属ケイ素の体積割合が18vol%以上である、
請求項1に記載の電気加熱式担体。
【請求項3】
前記セラミックス多孔質体の嵩密度が2.7g/cm
3
以下である、
請求項1に記載の電気加熱式担体。
【請求項4】
前記セラミックス多孔質体の比表面積が0.05m
2
/g以上かつ0.16m
2
/g以下である、
請求項1から3までのいずれか1項に記載の電気加熱式担体。
【請求項5】
前記セラミックス多孔質体の比表面積が0.08m
2
/g以上かつ0.14m
2
/g以下である、
請求項4に記載の電気加熱式担体。
発明の詳細な説明
【技術分野】
【0001】
本発明は、電気加熱式担体に関する。
続きを表示(約 1,200 文字)
【背景技術】
【0002】
一般に、導電性セラミックスからなるハニカム構造体に電極を配設し、通電によりハニカム構造体自体を発熱させることで、ハニカム構造体に担持された触媒をエンジン始動前に活性温度まで昇温させて、内燃機関が始動開始直後の際に排出される排気ガスの浄化を狙う電気加熱式担体(EHC)が知られている。
【0003】
電気加熱式担体には様々な電圧の電源が使用される。従って、使用する電圧に合わせるために、電気加熱式担体の抵抗値を所定値に合わせ込む必要がある。しかしながら、高温環境下における電気加熱式担体の劣化により導電経路が遮断して抵抗が上昇してしまい、所定時間内に目標とする温度まで昇温できないことがある。導電経路の遮断は、高温環境下で導電経路が大気に触れることで、導電経路の表面から酸化膜が成長し、導電経路が狭くなることに起因すると考えられる。
【0004】
下記の特許文献1では、高温環境下における耐酸化性と耐熱衝撃性とのバランスに優れたハニカム構造体を実現するために、ハニカム構造体を加熱処理する温度及び時間を調整して、外周壁及び隔壁を構成するセラミックスのケイ素の表面に形成される酸化膜の厚み調整することが提案されている。
【先行技術文献】
【特許文献】
【0005】
特開2022-145495号公報
【発明の概要】
【発明が解決しようとする課題】
【0006】
上記の特許文献1では酸化膜の厚みを調整しているが、電気加熱式担体の抵抗上昇率に改善の余地がある。
【0007】
本発明は、上記のような課題を解決するためになされたものであり、その目的の一つは、電気加熱式担体の抵抗上昇率を緩やかにできる電気加熱式担体を提供することである。
【課題を解決するための手段】
【0008】
項目1.本発明は、一実施形態において、外周壁と、外周壁の内側に配設され、一方の端面から他方の端面まで延びる流路を形成する複数のセルを区画形成する隔壁とを有するハニカム構造部を備えるハニカム構造体と、ハニカム構造体に電圧を印加するための一対の電極とを備え、外周壁及び隔壁がセラミックス多孔質体によって構成されており、セラミックス多孔質体が0.01m
2
/g以上かつ0.20m
2
/g以下の比表面積を有する、電気加熱式担体に関する。
【0009】
項目2.本発明は、セラミックス多孔質体は金属ケイ素及び炭化ケイ素の複合材であり、セラミックス多孔質体における金属ケイ素の体積割合が18vol%以上である、項目1に記載の電気加熱式担体に関していてよい。
【0010】
項目3.本発明は、セラミックス多孔質体の嵩密度が2.7g/cm
3
以下である、項目1又は2に記載の電気加熱式担体に関していてよい。
(【0011】以降は省略されています)
この特許をJ-PlatPat(特許庁公式サイト)で参照する
関連特許
日本碍子株式会社
熱交換器
27日前
日本碍子株式会社
把持方法
1か月前
日本碍子株式会社
亜鉛二次電池
26日前
日本碍子株式会社
空調システム
19日前
日本碍子株式会社
ウエハ載置台
20日前
日本碍子株式会社
電気加熱式担体
25日前
日本碍子株式会社
ハニカム構造体
25日前
日本碍子株式会社
電気加熱式担体
24日前
日本碍子株式会社
ハニカム構造体
24日前
日本碍子株式会社
ハニカム構造体
1か月前
日本碍子株式会社
ハニカム構造体
24日前
日本碍子株式会社
ハニカムフィルタ
24日前
日本碍子株式会社
メタン製造反応器
24日前
日本碍子株式会社
ウォーキングビーム炉
26日前
日本碍子株式会社
セラミックサセプター
18日前
日本碍子株式会社
三相型ハニカムヒータ
24日前
日本碍子株式会社
半導体製造装置用ヒータ
11日前
日本碍子株式会社
浄水膜構造体の製造方法
6日前
日本碍子株式会社
センサ素子及びガスセンサ
20日前
日本碍子株式会社
セラミックス部材の製造方法
26日前
日本碍子株式会社
センサ素子およびガスセンサ
1か月前
日本碍子株式会社
セラミックス試料の酸分解方法
25日前
日本碍子株式会社
ロボットハンドおよびロボット
1か月前
日本碍子株式会社
ロボットハンドおよびロボット
1か月前
日本碍子株式会社
浄水膜構造体および浄水膜組立体
25日前
日本碍子株式会社
ハニカム構造体及びハニカムヒータ
24日前
日本碍子株式会社
放射性廃棄物の処理方法及び保管装置
25日前
日本碍子株式会社
半導体製造装置用部材及びその再生方法
24日前
日本碍子株式会社
半導体製造装置用部材及びその再生方法
24日前
日本碍子株式会社
半導体製造装置用部材及びその再生方法
24日前
日本碍子株式会社
トチの検査方法及びハニカム構造体の製造方法
24日前
日本碍子株式会社
金属コンポジット焼結板およびリチウムイオン電池
24日前
日本碍子株式会社
車両用空調システム、及び調湿デバイスの使用方法
4日前
日本碍子株式会社
センサ素子、ガスセンサ、および素子本体の製造方法
27日前
日本碍子株式会社
ハニカム構造体、電気加熱式担体及び排気ガス浄化装置
24日前
国立大学法人九州大学
耐水素材料及び耐水素構造部品
11日前
続きを見る
他の特許を見る