TOP
|
特許
|
意匠
|
商標
特許ウォッチ
Twitter
他の特許を見る
公開番号
2025154871
公報種別
公開特許公報(A)
公開日
2025-10-10
出願番号
2024058116
出願日
2024-03-29
発明の名称
ハニカム構造体
出願人
日本碍子株式会社
代理人
アクシス国際弁理士法人
主分類
C04B
38/00 20060101AFI20251002BHJP(セメント;コンクリート;人造石;セラミックス;耐火物)
要約
【課題】フィルム剥離時の目封止部剥がれを抑制可能なハニカム構造体を提供する。
【解決手段】外周側壁と、外周側壁の内周側に配置され、第一底面から第二底面まで延び、第一底面に開口部を有し、第二底面に目封止部を有する複数の第1セルと、外周側壁の内周側に配置され、第一底面から第二底面まで延び、第一底面に目封止部を有し、第二底面に開口部を有する複数の第2セルとを備え、複数の第1セルと複数の第2セルは隔壁を挟んで交互に隣接配置されているハニカム構造体であって、前記目封止部は、MgO:9.0~13.4質量%、Al
2
O
3
:29.8~35.0質量%、SiO
2
:49.8~57.2質量%を含有するセラミックスで構成されており、第一底面及び第二底面における前記目封止部の算術平均高さSaはそれぞれ、18.0μm以下である、ハニカム構造体。
【選択図】図2
特許請求の範囲
【請求項1】
外周側壁と、外周側壁の内周側に配置され、第一底面から第二底面まで延び、第一底面に開口部を有し、第二底面に目封止部を有する複数の第1セルと、外周側壁の内周側に配置され、第一底面から第二底面まで延び、第一底面に目封止部を有し、第二底面に開口部を有する複数の第2セルとを備え、複数の第1セルと複数の第2セルは隔壁を挟んで交互に隣接配置されているハニカム構造体であって、
前記目封止部は、MgO:9.0~13.4質量%、Al
2
O
3
:29.0~35.5質量%、SiO
2
:50.0~58.0質量%を含有するセラミックスで構成されており、
第一底面及び第二底面における前記目封止部の算術平均高さSaはそれぞれ、18.0μm以下である、
ハニカム構造体。
続きを表示(約 700 文字)
【請求項2】
前記目封止部は、MgO:9.0~12.0質量%、Al
2
O
3
:29.8~32.0質量%、SiO
2
:54.0~57.2質量%を含有するセラミックスで構成されている請求項1に記載のハニカム構造体。
【請求項3】
第一底面及び第二底面における前記目封止部の算術平均高さSaはそれぞれ、5.0~17.5μmである請求項1に記載のハニカム構造体。
【請求項4】
第一底面及び第二底面における前記目封止部の算術平均高さSaはそれぞれ、5.0~12.0μmである請求項1に記載のハニカム構造体。
【請求項5】
前記目封止部は未焼成の状態である請求項1に記載のハニカム構造体。
【請求項6】
前記目封止部を構成する前記セラミックスは、コージェライト粒子と当該粒子同士を結合するコロイダルシリカとを含有する請求項5に記載のハニカム構造体。
【請求項7】
前記目封止部は焼成されている請求項1に記載のハニカム構造体。
【請求項8】
前記目封止部を構成するセラミックスは、コージェライトの焼結体である請求項7に記載のハニカム構造体。
【請求項9】
前記目封止部を構成するセラミックスのメジアン径は、5~25μmである請求項1に記載のハニカム構造体。
【請求項10】
第一底面及び第二底面における前記目封止部の平均気孔率はそれぞれ、30~70%である請求項1に記載のハニカム構造体。
(【請求項11】以降は省略されています)
発明の詳細な説明
【技術分野】
【0001】
本発明はハニカム構造体に関する。
続きを表示(約 1,500 文字)
【背景技術】
【0002】
ディーゼルエンジン等の内燃機関から排出される排ガスには、環境汚染の原因となる炭素を主成分とするパティキュレート(粒子状物質)が多量に含まれている。そのため、一般的にディーゼルエンジン等の排気系には、パティキュレートを捕集するためのフィルタ(Diesel Particulate Filter:DPF)が搭載されている。また近年ではガソリンエンジンから排出されるパティキュレートも問題視されており、ガソリンエンジンにもフィルタ(Gasoline Particulate Filter:GPF)が搭載されるようになってきている。
【0003】
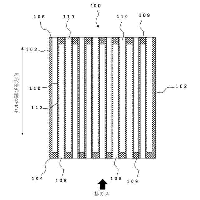
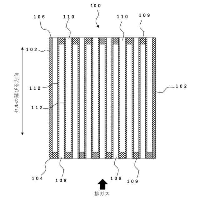
フィルタとしては、外周側壁と、外周側壁の内周側に配置され、第一底面から第二底面まで延び、第一底面が開口して第二底面に目封止部を有する複数の第1セルと、外周側壁の内周側に配置され、第一底面から第二底面まで延び、第一底面に目封止部を有し、第二底面が開口する複数の第2セルとを、隔壁を挟んで交互に隣接配置したウォールフロー式のハニカム構造体が知られている。
【0004】
ウォールフロー式のハニカム構造体において、目封止部は捕捉された粒子状物質がフィルタから漏れ出す(エロージョン)のを防止する役割を果たしている。このため、目封止部が剥離することなく、所定の位置に所定の深さで形成されていることがフィルタ性能を確保する上で重要となる。
【0005】
特許文献1には、目封止部及び基材にクラックが発生したり、目封止部が基材からの剥離や脱落を起こしたりすることのないハニカムフィルタを提供することを課題として、目封止材が該セラミックス基材と同じ材質のセラミックス粉砕物から構成されていることを特徴とするハニカムフィルタが記載されている。
【0006】
特許文献2には、耐熱衝撃性に優れたセラミックハニカムフィルタを得ることを課題として、コージェライトを主結晶とする材料からなるハニカムフィルタであって、少なくとも目封止部の一部が、セラミック粒子及びそれらの間に存在するコロイド状酸化物から形成された非晶質酸化物マトリックスで構成されているハニカムフィルタが記載されている。
【0007】
特許文献3には、キャニング時の目封止剥がれ等の不良を抑制できると共に、エロージョンを効果的に予防できるハニカム構造体を提供することを課題として、目封止部の平均空隙率が4%以下に制御されたハニカム構造体が記載されている。
【先行技術文献】
【特許文献】
【0008】
特開2002-136817号公報
特開2005-125318号公報
特開2021-159868号公報
【発明の概要】
【発明が解決しようとする課題】
【0009】
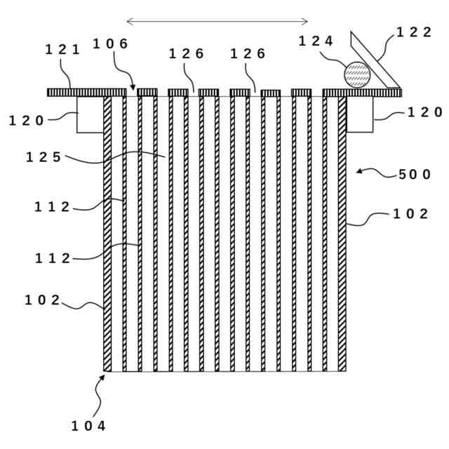
目封止部を形成する際は、目封止部を形成すべきセルとそれ以外のセルを区別するためにマスキング用のフィルムがハニカム構造体の底面に一時的に貼着される。フィルムは最終的に剥がされるが、その際に局所的に目封止部剥がれが発生し、修正時間にかなりの時間を要してしまい、場合によっては不良品になることもある。従来技術では、フィルム剥離時の目封止部剥がれについては十分な対策ができているとは言えず改善の余地が残されている。
【0010】
本発明は上記事情に鑑みてなされたものであり、一実施形態において、フィルム剥離時の目封止部剥がれを抑制可能なハニカム構造体を提供することを課題とする。
【課題を解決するための手段】
(【0011】以降は省略されています)
この特許をJ-PlatPat(特許庁公式サイト)で参照する
関連特許
日本碍子株式会社
蒸発器
2日前
日本碍子株式会社
熱交換器
1か月前
日本碍子株式会社
熱交換器
2か月前
日本碍子株式会社
把持方法
1か月前
日本碍子株式会社
空調システム
1か月前
日本碍子株式会社
回収システム
2日前
日本碍子株式会社
ウエハ載置台
1か月前
日本碍子株式会社
亜鉛二次電池
1か月前
日本碍子株式会社
電気化学セル
24日前
日本碍子株式会社
ハニカム構造体
1か月前
日本碍子株式会社
ハニカム構造体
1か月前
日本碍子株式会社
電気加熱式担体
1か月前
日本碍子株式会社
ハニカム構造体
2か月前
日本碍子株式会社
電気加熱式担体
1か月前
日本碍子株式会社
ハニカム構造体
1か月前
日本碍子株式会社
ハニカム構造体
2か月前
日本碍子株式会社
ハニカム構造体
1か月前
日本碍子株式会社
ハニカムフィルタ
1か月前
日本碍子株式会社
アルカリ二次電池
2か月前
日本碍子株式会社
メタン製造反応器
1か月前
日本碍子株式会社
セラミックヒータ
3日前
日本碍子株式会社
車両用空調システム
2日前
日本碍子株式会社
車両用調湿システム
2日前
日本碍子株式会社
導波素子の製造方法
2か月前
日本碍子株式会社
三相型ハニカムヒータ
1か月前
日本碍子株式会社
ウォーキングビーム炉
1か月前
日本碍子株式会社
セラミックサセプター
1か月前
日本碍子株式会社
浄水膜構造体の製造方法
1か月前
日本碍子株式会社
半導体製造装置用ヒータ
1か月前
日本碍子株式会社
センサ素子及びガスセンサ
1か月前
日本碍子株式会社
セラミックス部材の製造方法
1か月前
日本碍子株式会社
センサ素子およびガスセンサ
2か月前
日本碍子株式会社
ロボットハンドおよびロボット
1か月前
日本碍子株式会社
ロボットハンドおよびロボット
1か月前
日本碍子株式会社
AlN単結晶基板及びデバイス
2か月前
日本碍子株式会社
セラミックス試料の酸分解方法
1か月前
続きを見る
他の特許を見る