TOP
|
特許
|
意匠
|
商標
特許ウォッチ
Twitter
他の特許を見る
公開番号
2025174238
公報種別
公開特許公報(A)
公開日
2025-11-28
出願番号
2024080388
出願日
2024-05-16
発明の名称
車両用空調システム
出願人
日本碍子株式会社
代理人
アクシス国際弁理士法人
主分類
B60H
3/00 20060101AFI20251120BHJP(車両一般)
要約
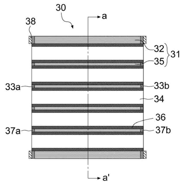
【課題】調湿機能を確保しつつ小型化及び省電力化することが可能な車両用空調システムを提供する。
【解決手段】車室又は車外からの空気が流通可能な空調ダクトと、空調ダクト内に配置される通風機と、外周壁と、外周壁の内側に配設され、第1端面33aから第2端面33bまで延びる空気の流路となる複数のセル34を区画形成する隔壁35とを有するハニカム構造体31、及び隔壁35の表面上に設けられた吸湿層36を有し、通風機の下流側の空調ダクト内に配置される調湿デバイス30とを備える車両用空調システムである。
【選択図】図2A
特許請求の範囲
【請求項1】
車室又は車外からの空気が流通可能な空調ダクトと、
前記空調ダクト内に配置される通風機と、
外周壁と、前記外周壁の内側に配設され、第1端面から第2端面まで延びる前記空気の流路となる複数のセルを区画形成する隔壁とを有するハニカム構造体、及び前記隔壁の表面上に設けられた吸湿層を有し、前記通風機の下流側の前記空調ダクト内に配置される調湿デバイスと
を備える車両用空調システムであって、
前記空調ダクトは、前記通風機の下流側で、前記調湿デバイスが配置された第1流路と、前記調湿デバイスが配置されていない第2流路とに分岐しており、
前記第1流路は、前記車室に前記空気を流入させる第3流路と、前記車外に前記空気を流出させる第4流路とに更に分岐しており、
前記第2流路には、前記空気の流入量を調整可能な第2バルブが配置されており、
前記第3流路と前記第4流路との分岐部には、前記第3流路と前記第4流路との間で前記空気の流れを切替え可能な第3バルブが配置されている、車両用空調システム。
続きを表示(約 830 文字)
【請求項2】
前記第1流路には、前記調湿デバイスの上流側で前記空気の流入量を調整可能な第1バルブが配置されている、請求項1に記載の車両用空調システム。
【請求項3】
前記第1バルブ、前記第2バルブ及び前記第3バルブを制御可能な制御部を更に備える、請求項2に記載の車両用空調システム。
【請求項4】
前記制御部は、前記調湿デバイスの吸湿モード時又は再生モード時に、前記第1バルブ及び前記第2バルブの開度を制御する、請求項3に記載の車両用空調システム。
【請求項5】
前記通風機により生じる前記空気の流量が3m
3
/分以下の場合に、前記制御部は、前記第1バルブの開度に対する前記第2バルブの開度の比を0.5以下に制御する、請求項4に記載の車両用空調システム。
【請求項6】
前記通風機により生じる前記空気の流量が3m
3
/分超の場合に、前記制御部は、前記第1バルブの開度に対する前記第2バルブの開度の比を0.3以上に制御する、請求項4に記載の車両用空調システム。
【請求項7】
前記第2流路の最小断面積が前記第1流路の最小断面積よりも大きく、前記第4流路の最小断面積が前記第3流路の最小断面積よりも小さい、請求項1~6のいずれか一項に記載の車両用空調システム。
【請求項8】
前記第2流路の最小断面積が、前記第3流路の最小断面積の2倍以上である、請求項7に記載の車両用空調システム。
【請求項9】
前記第3流路の最小断面積が、前記第4流路の最小断面積の4倍以上である、請求項7に記載の車両用空調システム。
【請求項10】
前記ハニカム構造体は、少なくとも前記隔壁がPTC特性を有する材料で構成されている、請求項1~6のいずれか一項に記載の車両用空調システム。
(【請求項11】以降は省略されています)
発明の詳細な説明
【技術分野】
【0001】
本発明は、車両用空調システムに関する。
続きを表示(約 1,800 文字)
【背景技術】
【0002】
自動車などの各種車両において、車室環境の向上に対する要求が高まっている。具体的な要求としては、車室内を調湿することなどが例示される。このような要求に有効な対策として換気が挙げられるが、換気は、冬場のヒーターエネルギーを大きくロスする要因となり、冬場のエネルギー効率の低下を招く。特に電気自動車(BEV:Battery Electric Vehicle)では、そのエネルギーロスにより、航続距離が大幅に減少するという問題がある。
【0003】
上記の問題を解決する方法として、特許文献1には、第1加熱装置、第1吸着ブロック及び第1流路切り替え機構を備え、車両の車室と連通する第1流路と;第2加熱装置、第2吸着ブロック及び第2流路切り替え機構を備え、車両の車室と連通する第2流路と;車室からの空気を流通させる送風機と;車室から流れる空気を第1流路と第2流路とに分配する空気分配機構と;第1吸着ブロックを通過した空気と、第2吸着ブロックを通過した空気とを流す流路を切り替える際に、浄化対象物質を脱着している側の流路から車室に空気が流れるのを抑制可能なタイミングで、それぞれの構成要素を制御する制御装置とを備える車両用空調システム(車両用空気浄化システム)が提案されている。
【先行技術文献】
【特許文献】
【0004】
特開2020-104774号公報
【発明の概要】
【発明が解決しようとする課題】
【0005】
特許文献1の車両用空調システムは、2つの流路(第1流路及び第2流路)に吸着ブロックを配置し、吸着ブロックの下流側で流路を更に分岐させ、各流路の分岐部にバルブ(空気分配機構)を設けている。このような構成を有する車両用空調システムは、各流路に配置された吸着ブロックによって交互に吸着させることで水蒸気(水分)などの浄化対象物質を確実に除去できるものの、流路(配管)やバルブの数が多くなるため、システムサイズが大きくなってしまう。また、各流路内を流れる空気は常に吸着ブロックを通過する必要があるため、通風機の負荷が大きく、消費電力が増大する要因となる。
【0006】
本発明は、上記のような問題を解決するためになされたものであり、調湿機能を確保しつつ小型化及び省電力化することが可能な車両用空調システムを提供することを目的とする。
【課題を解決するための手段】
【0007】
本発明者らは、調湿デバイスを備える車両用空調システムについて鋭意研究を行った結果、特定の構造とすることにより、調湿デバイスを各流路に設けなくても調湿機能を確保でき、それにより小型化及び省電力化が可能になることを見出し、本発明を完成するに至った。すなわち、本発明は、以下のように例示される。
【0008】
<1> 車室又は車外からの空気が流通可能な空調ダクトと、
前記空調ダクト内に配置される通風機と、
外周壁と、前記外周壁の内側に配設され、第1端面から第2端面まで延びる前記空気の流路となる複数のセルを区画形成する隔壁とを有するハニカム構造体、及び前記隔壁の表面上に設けられた吸湿層を有し、前記通風機の下流側の前記空調ダクト内に配置される調湿デバイスと
を備える車両用空調システムであって、
前記空調ダクトは、前記通風機の下流側で、前記調湿デバイスが配置された第1流路と、前記調湿デバイスが配置されていない第2流路とに分岐しており、
前記第1流路は、前記車室に前記空気を流入させる第3流路と、前記車外に前記空気を流出させる第4流路とに更に分岐しており、
前記第2流路には、前記空気の流入量を調整可能な第2バルブが配置されており、
前記第3流路と前記第4流路との分岐部には、前記第3流路と前記第4流路との間で前記空気の流れを切替え可能な第3バルブが配置されている、車両用空調システム。
【0009】
<2> 前記第1流路には、前記調湿デバイスの上流側で前記空気の流入量を調整可能な第1バルブが配置されている、<1>に記載の車両用空調システム。
【0010】
<3> 前記第1バルブ、前記第2バルブ及び前記第3バルブを制御可能な制御部を更に備える、<2>に記載の車両用空調システム。
(【0011】以降は省略されています)
この特許をJ-PlatPat(特許庁公式サイト)で参照する
関連特許
日本碍子株式会社
蒸発器
1日前
日本碍子株式会社
熱交換器
1か月前
日本碍子株式会社
把持方法
1か月前
日本碍子株式会社
熱交換器
2か月前
日本碍子株式会社
ガスセンサ
2か月前
日本碍子株式会社
電気化学セル
23日前
日本碍子株式会社
亜鉛二次電池
1か月前
日本碍子株式会社
空調システム
1か月前
日本碍子株式会社
ウエハ載置台
1か月前
日本碍子株式会社
回収システム
1日前
日本碍子株式会社
ハニカム構造体
1か月前
日本碍子株式会社
ハニカム構造体
2か月前
日本碍子株式会社
ハニカム構造体
2か月前
日本碍子株式会社
電気加熱式担体
1か月前
日本碍子株式会社
ハニカム構造体
1か月前
日本碍子株式会社
電気加熱式担体
1か月前
日本碍子株式会社
ハニカム構造体
1か月前
日本碍子株式会社
ハニカム構造体
1か月前
日本碍子株式会社
アルカリ二次電池
2か月前
日本碍子株式会社
メタン製造反応器
1か月前
日本碍子株式会社
ハニカムフィルタ
1か月前
日本碍子株式会社
セラミックヒータ
2日前
日本碍子株式会社
車両用空調システム
1日前
日本碍子株式会社
導波素子の製造方法
2か月前
日本碍子株式会社
車両用調湿システム
1日前
日本碍子株式会社
三相型ハニカムヒータ
1か月前
日本碍子株式会社
ウォーキングビーム炉
1か月前
日本碍子株式会社
半導体製造装置用部材
2か月前
日本碍子株式会社
セラミックサセプター
1か月前
日本碍子株式会社
半導体製造装置用ヒータ
1か月前
日本碍子株式会社
浄水膜構造体の製造方法
1か月前
日本碍子株式会社
センサ素子及びガスセンサ
1か月前
日本碍子株式会社
セラミックス部材の製造方法
1か月前
日本碍子株式会社
センサ素子およびガスセンサ
1か月前
日本碍子株式会社
ロボットハンドおよびロボット
1か月前
日本碍子株式会社
ロボットハンドおよびロボット
1か月前
続きを見る
他の特許を見る