TOP
|
特許
|
意匠
|
商標
特許ウォッチ
Twitter
他の特許を見る
公開番号
2025156992
公報種別
公開特許公報(A)
公開日
2025-10-15
出願番号
2024059790
出願日
2024-04-02
発明の名称
空調システム
出願人
日本碍子株式会社
代理人
アクシス国際弁理士法人
主分類
F25B
1/00 20060101AFI20251007BHJP(冷凍または冷却;加熱と冷凍との組み合わせシステム;ヒートポンプシステム;氷の製造または貯蔵;気体の液化または固体化)
要約
【課題】消費電力を抑えつつ初期暖房性能を向上させることが可能な空調システムを提供する。
【解決手段】冷媒が循環可能な冷媒配管20と、冷媒を圧縮可能なコンプレッサ30とを有するヒートポンプサイクルを備える空調システムである。冷媒が流通可能であり且つ冷媒を電磁誘導によって加熱可能な加熱部100が冷媒配管20の途中に接続されている。
【選択図】図1A
特許請求の範囲
【請求項1】
冷媒が循環可能な冷媒配管と、前記冷媒を圧縮可能なコンプレッサとを有するヒートポンプサイクルを備える空調システムであって、
前記冷媒が流通可能であり且つ前記冷媒を電磁誘導によって加熱可能な加熱部が前記冷媒配管の途中に接続されている空調システム。
続きを表示(約 1,000 文字)
【請求項2】
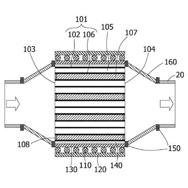
前記加熱部は、外周壁と、前記外周壁の内側に配設され、第1端面から第2端面まで延びる複数のセルを区画形成する隔壁とを有し、少なくとも1つの前記セルに磁性体が配置されたハニカム構造体、及び前記ハニカム構造体の外周を螺旋状に周回するコイル配線を備える、請求項1に記載の空調システム。
【請求項3】
前記加熱部は、外周壁と、前記外周壁の内側に配設され、第1端面から第2端面まで延びる複数のセルを区画形成する隔壁とを有し、少なくとも前記隔壁が磁性体を含むハニカム構造体、及び前記ハニカム構造体の外周を螺旋状に周回するコイル配線を備える、請求項1に記載の空調システム。
【請求項4】
前記加熱部は、前記ハニカム構造体及び前記コイル配線を収容する金属製の外筒部材を更に備える、請求項2又は3に記載の空調システム。
【請求項5】
前記加熱部は、前記ハニカム構造体と前記コイル配線との間に内筒部材を更に備える、請求項4に記載の空調システム。
【請求項6】
前記加熱部は、前記ハニカム構造体と前記内筒部材との間に保持部材を更に備える、請求項5に記載の空調システム。
【請求項7】
前記加熱部は、前記冷媒の流れ方向を基準として、前記コンプレッサの上流側、下流側又はそれらの両方の前記冷媒配管の途中に接続されている、請求項1~3のいずれか一項に記載の空調システム。
【請求項8】
前記磁性体は、Fe、Cr、Ni、Mn、Zn、Co、Cu及びSiの群から選ばれた少なくとも1つの元素を含む、請求項2又は3に記載の空調システム。
【請求項9】
前記ヒートポンプサイクル及び前記加熱部を制御する制御部を更に備え、
前記制御部は、前記ヒートポンプサイクルの暖房運転モードの開始時に、前記加熱部において前記冷媒を電磁誘導によって加熱するように制御することを含む、請求項1~3のいずれか一項に記載の空調システム。
【請求項10】
前記ヒートポンプサイクルは、空調ダクト内を流通する空気と前記冷媒との熱交換を行うコンデンサを更に有し、
前記暖房運転モードは、前記冷媒を前記コンプレッサで圧縮し、前記コンプレッサから吐出された前記冷媒を前記コンデンサに導入して前記空気を加熱することを含む、請求項9に記載の空調システム。
(【請求項11】以降は省略されています)
発明の詳細な説明
【技術分野】
【0001】
本発明は、空調システムに関する。
続きを表示(約 1,700 文字)
【背景技術】
【0002】
ヒートポンプサイクルを利用して冷房及び暖房を行うことが可能な空調システムが知られている。この空調システムは、省電力などの利点を有することから、電気自動車(BEV:Battery Electric Vehicle)などの車両においても利用されている。ヒートポンプサイクルは、コンプレッサ(圧縮機)、コンデンサ(凝縮器)、エバポレータ(蒸発器)、膨張弁などの部品が冷媒配管によって環状に接続された構成を有しており、冷媒の気化熱や凝縮熱を利用することにより冷房及び暖房を行うことができる。
【0003】
しかしながら、ヒートポンプサイクルを利用した空調システムは、外気を熱に変換するため、寒冷時に初期暖房性能が低下する(暖房の立ち上がりが遅くなる)という問題がある。具体的には、寒冷時にはヒートポンプサイクルを流れる冷媒の温度が低いため、暖房の立ち上げ時に冷媒の温度及び圧力が上昇し難い。その結果、暖房の立ち上がりが遅くなって温風を供給するまでに時間がかかってしまう。
そこで、このような問題を解決するために、特許文献1には、暖房開始時に放熱器となる車室内熱交換器への送風量を低下させるように制御する空調システム(車両用空調装置)が提案されている。また、特許文献2には、暖房の立ち上がりを早めるために、冷媒加熱器による冷媒の加熱量を増加させる空調システム(車両用空調装置)が提案されている。
【先行技術文献】
【特許文献】
【0004】
特開2014-24371号公報
特開2014-131914号公報
【発明の概要】
【発明が解決しようとする課題】
【0005】
しかしながら、特許文献1の空調システムは、暖房開始時に放熱器(車室内熱交換器)への送風量を低下させることにより、圧縮機から吐出した冷媒が放熱器を流通する際に外部空気と熱交換する量を低減して冷媒の温度を上昇させ易くしているものの、冷媒を加熱しているわけではないため、初期暖房性能が十分とはいえない。
また、特許文献2の空調システムは、シーズヒーター(電気式ヒーター)で構成された冷媒加熱器によって冷媒を加熱しているため、消費電力が多くなる。このため、例えば、この空調システムを電気自動車に用いた場合、エネルギーロスにより、航続距離が大幅に減少するという問題がある。
【0006】
本発明は、上記のような課題を解決するためになされたものであり、消費電力を抑えつつ初期暖房性能を向上させることが可能な空調システムを提供することを目的とする。
【課題を解決するための手段】
【0007】
本発明者らは、ヒートポンプサイクルを利用した空調システムについて鋭意研究を行った結果、冷媒が流通する冷媒配管の途中に所定の加熱部を接続して冷媒を加熱することにより、上記の課題を解決し得ることを見出し、本発明を完成するに至った。すなわち、本発明は、以下のように例示される。
【0008】
[1] 冷媒が循環可能な冷媒配管と、前記冷媒を圧縮可能なコンプレッサとを有するヒートポンプサイクルを備える空調システムであって、
前記冷媒が流通可能であり且つ前記冷媒を電磁誘導によって加熱可能な加熱部が前記冷媒配管の途中に接続されている空調システム。
【0009】
[2] 前記加熱部は、外周壁と、前記外周壁の内側に配設され、第1端面から第2端面まで延びる複数のセルを区画形成する隔壁とを有し、少なくとも1つの前記セルに磁性体が配置されたハニカム構造体、及び前記ハニカム構造体の外周を螺旋状に周回するコイル配線を備える、[1]に記載の空調システム。
【0010】
[3] 前記加熱部は、外周壁と、前記外周壁の内側に配設され、第1端面から第2端面まで延びる複数のセルを区画形成する隔壁とを有し、少なくとも前記隔壁が磁性体を含むハニカム構造体、及び前記ハニカム構造体の外周を螺旋状に周回するコイル配線を備える、[1]に記載の空調システム。
(【0011】以降は省略されています)
この特許をJ-PlatPat(特許庁公式サイト)で参照する
関連特許
日本碍子株式会社
空調システム
22日前
日本碍子株式会社
電気化学セル
今日
日本碍子株式会社
セラミックサセプター
21日前
日本碍子株式会社
浄水膜構造体の製造方法
9日前
日本碍子株式会社
半導体製造装置用ヒータ
14日前
日本碍子株式会社
車両用空調システム、及び調湿デバイスの使用方法
7日前
国立大学法人九州大学
耐水素材料及び耐水素構造部品
14日前
株式会社不二工機
膨張弁
15日前
株式会社不二工機
膨張弁
15日前
ホシザキ株式会社
製氷機
1か月前
個人
ヒートポンプ型空気調和機
1か月前
ホシザキ株式会社
冷凍装置
20日前
フクシマガリレイ株式会社
断熱扉
16日前
富士電機株式会社
冷却装置
1か月前
富士電機株式会社
自動販売機
14日前
富士ベンダーサービス株式会社
保管庫
1か月前
ダイキン工業株式会社
冷凍装置
27日前
富士電機株式会社
冷却システム
1か月前
フクシマガリレイ株式会社
冷却貯蔵庫
20日前
フクシマガリレイ株式会社
冷却貯蔵庫
9日前
三菱重工冷熱株式会社
低温冷水供給装置
1か月前
フクシマガリレイ株式会社
ショーケース
29日前
アクア株式会社
冷蔵庫
1か月前
ダイキン工業株式会社
冷媒充填方法
27日前
ホシザキ株式会社
液体凍結装置
2か月前
シャープ株式会社
冷蔵庫
1か月前
フクシマガリレイ株式会社
商品販売システム
22日前
シャープ株式会社
冷蔵庫
1か月前
島田工業株式会社
製氷装置及び製氷方法
1か月前
株式会社アイシン
冷暖房システム
1か月前
株式会社前川製作所
冷却装置
27日前
株式会社富士通ゼネラル
冷凍サイクル装置
28日前
株式会社富士通ゼネラル
冷凍サイクル装置
28日前
株式会社富士通ゼネラル
冷凍サイクル装置
21日前
株式会社オカムラ
故障予知システム
1か月前
東芝ライフスタイル株式会社
冷却装置
22日前
続きを見る
他の特許を見る