TOP
|
特許
|
意匠
|
商標
特許ウォッチ
Twitter
他の特許を見る
公開番号
2025119485
公報種別
公開特許公報(A)
公開日
2025-08-14
出願番号
2024014392
出願日
2024-02-01
発明の名称
空調システム
出願人
日本碍子株式会社
代理人
アクシス国際弁理士法人
主分類
B60H
1/22 20060101AFI20250806BHJP(車両一般)
要約
【課題】消費電力を抑えつつ初期暖房性能を向上させることが可能な空調システムを提供する。
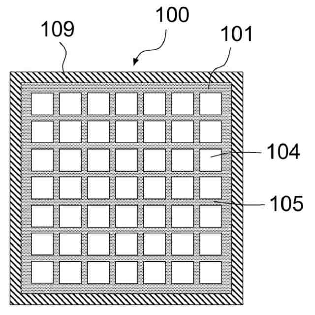
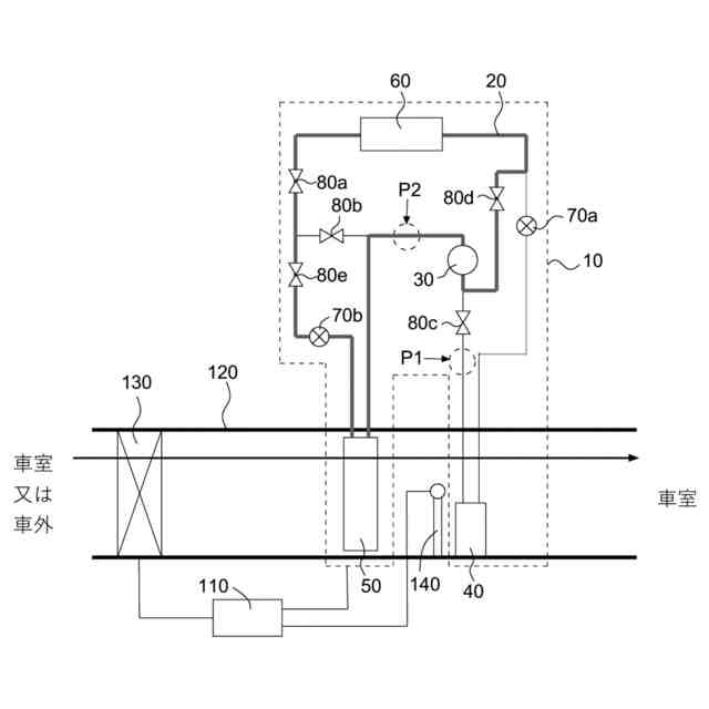
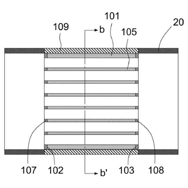
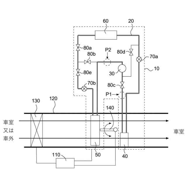
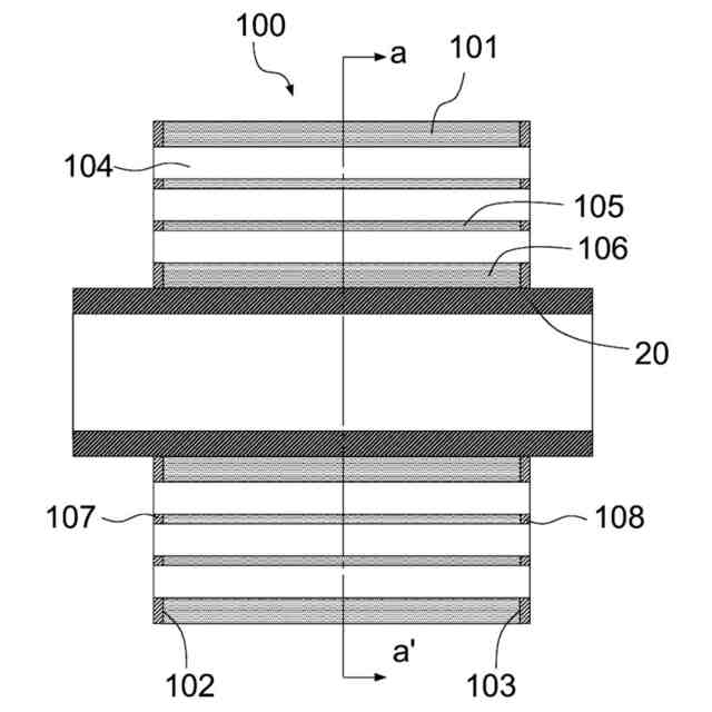
【解決手段】冷媒が循環可能な冷媒配管20と、冷媒を圧縮可能なコンプレッサ30とを有するヒートポンプサイクル10を備える空調システムである。冷媒の流れ方向を基準として、コンプレッサ30の上流側、下流側又はそれらの両方の冷媒配管20に冷媒を加熱可能な加熱部100が設けられている。加熱部100は、外周壁101と、外周壁101の内側に配設され、第1端面102から第2端面103まで延びる複数のセル104を区画形成する隔壁105とを有し、少なくとも隔壁105がPTC特性を有する材料で構成されたハニカム構造体を備える。
【選択図】図1A
特許請求の範囲
【請求項1】
冷媒が循環可能な冷媒配管と、前記冷媒を圧縮可能なコンプレッサとを有するヒートポンプサイクルを備える空調システムであって、
前記冷媒の流れ方向を基準として、前記コンプレッサの上流側、下流側又はそれらの両方の前記冷媒配管に前記冷媒を加熱可能な加熱部が設けられており、
前記加熱部は、外周壁と、前記外周壁の内側に配設され、第1端面から第2端面まで延びる複数のセルを区画形成する隔壁とを有し、少なくとも前記隔壁がPTC特性を有する材料で構成されたハニカム構造体を備える空調システム。
続きを表示(約 660 文字)
【請求項2】
前記ヒートポンプサイクル及び前記加熱部を制御する制御部を更に備え、
前記制御部は、前記ヒートポンプサイクルの暖房運転モードの開始時に、前記ハニカム構造体に電圧を印加して前記冷媒を加熱するように制御することを含む、請求項1に記載の空調システム。
【請求項3】
前記ヒートポンプサイクルは、空調ダクト内を流通する空気と前記冷媒との熱交換を行うコンデンサを更に有し、
前記暖房運転モードは、前記冷媒を前記コンプレッサで圧縮し、前記コンプレッサから吐出された前記冷媒を前記コンデンサに導入して前記空気を加熱することを含む、請求項2に記載の空調システム。
【請求項4】
前記ヒートポンプサイクルは、
空調ダクト内を流通する前記空気と前記冷媒との熱交換を行うエバポレータと、
外気と前記冷媒との熱交換を行う室外熱交換器と
を更に備える、請求項3に記載の空調システム。
【請求項5】
前記加熱部は、前記コンプレッサと前記コンデンサとの間、前記コンプレッサと前記エバポレータ又は前記室外熱交換器との間、又はそれらの両方の前記冷媒配管に設けられている、請求項4に記載の空調システム。
【請求項6】
PTC特性を有する前記材料はチタン酸バリウムを主成分とする、請求項1~5のいずれか一項に記載の空調システム。
【請求項7】
前記空調システムが車両用である、請求項1~5のいずれか一項に記載の空調システム。
発明の詳細な説明
【技術分野】
【0001】
本発明は、空調システムに関する。
続きを表示(約 1,800 文字)
【背景技術】
【0002】
ヒートポンプサイクルを利用して冷房及び暖房を行うことが可能な空調システムが知られている。この空調システムは、省電力などの利点を有することから、電気自動車(BEV:Battery Electric Vehicle)などの車両においても利用されている。ヒートポンプサイクルは、コンプレッサ(圧縮機)、コンデンサ(凝縮器)、エバポレータ(蒸発器)、膨張弁などの部品が冷媒配管によって環状に接続された構成を有しており、冷媒の気化熱や凝縮熱を利用することにより冷房及び暖房を行うことができる。
【0003】
しかしながら、ヒートポンプサイクルを利用した空調システムは、外気を熱に変換するため、寒冷時に初期暖房性能が低下する(暖房の立ち上がりが遅くなる)という問題がある。具体的には、寒冷時にはヒートポンプサイクルを流れる冷媒の温度が低いため、暖房の立ち上げ時に冷媒の温度及び圧力が上昇し難い。その結果、暖房の立ち上がりが遅くなって温風を供給するまでに時間がかかってしまう。
そこで、このような問題を解決するために、特許文献1には、暖房開始時に放熱器となる車室内熱交換器への送風量を低下させるように制御する空調システム(車両用空調装置)が提案されている。また、特許文献2には、暖房の立ち上がりを早めるために、冷媒加熱器による冷媒の加熱量を増加させる空調システム(車両用空調装置)が提案されている。
【先行技術文献】
【特許文献】
【0004】
特開2014-24371号公報
特開2014-131914号公報
【発明の概要】
【発明が解決しようとする課題】
【0005】
しかしながら、特許文献1の空調システムは、暖房開始時に放熱器(車室内熱交換器)への送風量を低下させることにより、圧縮機から吐出した冷媒が放熱器を流通する際に外部空気と熱交換する量を低減して冷媒の温度を上昇させ易くしているものの、冷媒を加熱しているわけではないため、初期暖房性能が十分とはいえない。
また、特許文献2の空調システムは、シーズヒーター(電気式ヒーター)で構成された冷媒加熱器によって冷媒を加熱しているため、消費電力が多くなる。このため、例えば、この空調システムを電気自動車に用いた場合、エネルギーロスにより、航続距離が大幅に減少するという問題がある。
【0006】
本発明は、上記のような課題を解決するためになされたものであり、消費電力を抑えつつ初期暖房性能を向上させることが可能な空調システムを提供することを目的とする。
【課題を解決するための手段】
【0007】
本発明者らは、ヒートポンプサイクルを利用した空調システムについて鋭意研究を行った結果、冷媒が流通する冷媒配管に所定の加熱部を設けて冷媒を加熱することにより、上記の課題を解決し得ることを見出し、本発明を完成するに至った。すなわち、本発明は、以下のように例示される。
【0008】
[1] 冷媒が循環可能な冷媒配管と、前記冷媒を圧縮可能なコンプレッサとを有するヒートポンプサイクルを備える空調システムであって、
前記冷媒の流れ方向を基準として、前記コンプレッサの上流側、下流側又はそれらの両方の前記冷媒配管に前記冷媒を加熱可能な加熱部が設けられており、
前記加熱部は、外周壁と、前記外周壁の内側に配設され、第1端面から第2端面まで延びる複数のセルを区画形成する隔壁とを有し、少なくとも前記隔壁がPTC特性を有する材料で構成されたハニカム構造体を備える空調システム。
【0009】
[2] 前記ヒートポンプサイクル及び前記加熱部を制御する制御部を更に備え、
前記制御部は、前記ヒートポンプサイクルの暖房運転モードの開始時に、前記ハニカム構造体に電圧を印加して前記冷媒を加熱するように制御することを含む、[1]に記載の空調システム。
【0010】
[3] 前記ヒートポンプサイクルは、空調ダクト内を流通する空気と前記冷媒との熱交換を行うコンデンサを更に有し、
前記暖房運転モードは、前記冷媒を前記コンプレッサで圧縮し、前記コンプレッサから吐出された前記冷媒を前記コンデンサに導入して前記空気を加熱することを含む、[2]に記載の空調システム。
(【0011】以降は省略されています)
この特許をJ-PlatPat(特許庁公式サイト)で参照する
関連特許
日本碍子株式会社
電池
3か月前
日本碍子株式会社
蒸発器
1日前
日本碍子株式会社
熱交換器
2か月前
日本碍子株式会社
熱交換器
1か月前
日本碍子株式会社
把持方法
1か月前
日本碍子株式会社
ガスセンサ
2か月前
日本碍子株式会社
回収システム
1日前
日本碍子株式会社
ウエハ載置台
1か月前
日本碍子株式会社
電気化学セル
23日前
日本碍子株式会社
空調システム
1か月前
日本碍子株式会社
亜鉛二次電池
1か月前
日本碍子株式会社
電気加熱式担体
1か月前
日本碍子株式会社
電気加熱式担体
1か月前
日本碍子株式会社
ハニカム構造体
1か月前
日本碍子株式会社
ハニカム構造体
1か月前
日本碍子株式会社
ハニカム構造体
2か月前
日本碍子株式会社
ハニカム構造体
1か月前
日本碍子株式会社
ハニカム構造体
2か月前
日本碍子株式会社
ハニカム構造体
1か月前
日本碍子株式会社
ハニカム構造体
2か月前
日本碍子株式会社
メタン製造反応器
1か月前
日本碍子株式会社
ハニカムフィルタ
1か月前
日本碍子株式会社
セラミックヒータ
2日前
日本碍子株式会社
アルカリ二次電池
2か月前
日本碍子株式会社
車両用調湿システム
1日前
日本碍子株式会社
車両用空調システム
1日前
日本碍子株式会社
導波素子の製造方法
2か月前
日本碍子株式会社
三相型ハニカムヒータ
1か月前
日本碍子株式会社
半導体製造装置用部材
2か月前
日本碍子株式会社
ウォーキングビーム炉
1か月前
日本碍子株式会社
セラミックサセプター
1か月前
日本碍子株式会社
浄水膜構造体の製造方法
1か月前
日本碍子株式会社
半導体製造装置用ヒータ
1か月前
日本碍子株式会社
センサ素子及びガスセンサ
1か月前
日本碍子株式会社
センサ素子およびガスセンサ
1か月前
日本碍子株式会社
セラミックス部材の製造方法
1か月前
続きを見る
他の特許を見る