TOP
|
特許
|
意匠
|
商標
特許ウォッチ
Twitter
他の特許を見る
公開番号
2025142454
公報種別
公開特許公報(A)
公開日
2025-10-01
出願番号
2024041810
出願日
2024-03-18
発明の名称
センサ素子およびガスセンサ
出願人
日本碍子株式会社
代理人
弁理士法人アイテック国際特許事務所
主分類
G01N
27/409 20060101AFI20250924BHJP(測定;試験)
要約
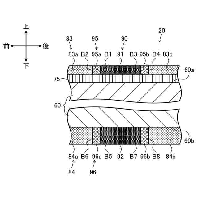
【課題】センサ素子にクラックが生じるのを抑制する。
【解決手段】センサ素子20は、素子本体60と、上側、下側コネクタ電極71,72と、上側、下側多孔質層83,84と、上側、下側緻密層91,92とを備える。更に、センサ素子20は、気孔率が上側、下側多孔質層83,84よりも低く且つ上側、下側緻密層91,92よりも高く、素子本体60の前端側および後端側の一方側で上側、下側緻密層91,92と接し且つ前端側および後端側の他方側で上側、下側多孔質層83,84と接し且つ素子本体60の側面を被覆する上側、下側中間層95,96を備える。
【選択図】図5
特許請求の範囲
【請求項1】
被測定ガス中の特定ガスの濃度を検出するためのセンサ素子であって、
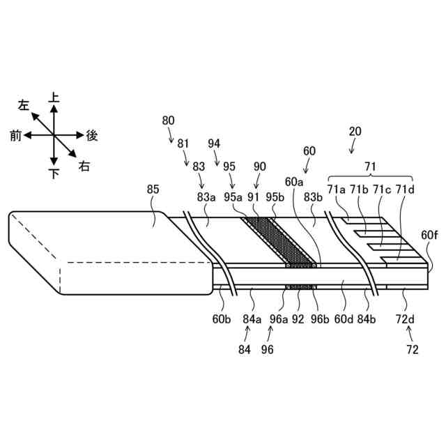
長手方向に沿った両端である前端および後端、前記長手方向に沿った表面である側面を有し、前記前端側が前記被測定ガスに晒される素子本体と、
前記側面の前記後端側に配設され、外部と電気的に導通するためのコネクタ電極と、
前記側面の前後方向における一部を被覆する多孔質層と、
気孔率が前記多孔質層よりも低く、前記側面の前記前後方向における前記多孔質層とは異なる位置で且つ前記コネクタ電極よりも前記前端側を被覆する緻密層と、
気孔率が前記多孔質層よりも低く且つ前記緻密層よりも高く、前記前端側および前記後端側の一方側で前記緻密層と接し且つ前記前端側および前記後端側の他方側で前記多孔質層と接し且つ前記側面を被覆する中間層と、
を備えるセンサ素子。
続きを表示(約 950 文字)
【請求項2】
請求項1記載のセンサ素子であって、
前記緻密層、前記中間層、前記多孔質層のうち互いに接する2層の気孔率差は、何れも20%以下である、
センサ素子。
【請求項3】
請求項2記載のセンサ素子であって、
前記互いに接する2層の気孔率差は、何れも5%以下である、
センサ素子。
【請求項4】
請求項1記載のセンサ素子であって、
前記中間層として、気孔率が低い順に第1~第N(N≧2)中間層を有し、
前記第1~第N中間層は、前記緻密層と前記多孔質層との間にこの順に且つ隣り合う2層が互いに接するように配置されている、
センサ素子。
【請求項5】
請求項4記載のセンサ素子であって、
前記緻密層、前記第1~第N中間層、前記多孔質層のうち互いに接する2層の気孔率差は、何れも20%以下である、
センサ素子。
【請求項6】
請求項5記載のセンサ素子であって、
前記互いに接する2層の気孔率差は、何れも5%以下である、
センサ素子。
【請求項7】
請求項1ないし6のうちの何れか1つの請求項に記載のセンサ素子であって、
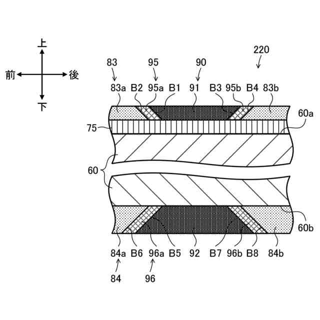
各々が前記緻密層、前記中間層、前記多孔質層のうち互いに接する2層の境界部である複数の境界部のうちの少なくとも1つは、前記前端側または前記後端側への傾斜を伴って前記側面に接近するように延在している、
センサ素子。
【請求項8】
請求項7記載のセンサ素子であって、
前記複数の境界部のうちの少なくとも1つは、前記2層のうち気孔率が低い側の層の厚みが薄くなりながら前記側面に接近するように延在している、
センサ素子。
【請求項9】
請求項8記載のセンサ素子であって、
前記側面の前記前端側に配設された外側電極と、
前記側面に配設され、前記外側電極と前記コネクタ電極とを導通する外側リード部と、
を更に備えるセンサ素子。
【請求項10】
請求項1ないし6のうちの何れか1つの請求項に記載のセンサ素子を備えるガスセンサ。
発明の詳細な説明
【技術分野】
【0001】
本発明は、センサ素子およびガスセンサに関する。
続きを表示(約 1,600 文字)
【背景技術】
【0002】
従来、内燃機関の排気ガスなどの被測定ガス中のNOxなどの特定ガスの濃度を検出するためのセンサ素子が知られている(例えば、特許文献1参照)。特許文献1のセンサ素子は、素子本体とコネクタ電極と多孔質層と緻密層とを備えている。素子本体の前端側は、被測定ガスに晒される。コネクタ電極は、素子本体の側面の後端側に配設されており、コネクタの接触部と電気的に導通される。多孔質層は、素子本体の側面の前後方向における一部に配設される。緻密層は、素子本体の側面の前後方向における多孔質層とは異なる位置で且つコネクタ電極よりも素子本体の前端側に、前後方向において多孔質層と接するように配設される。このセンサ素子では、被測定ガス中の水が多孔質層内を毛細管現象により素子本体の後端側に向かって移動した場合に、その水が緻密層内を通過しにくいことにより、水がコネクタ電極に到達するのを抑制している。
【先行技術文献】
【特許文献】
【0003】
国際公開2022/209529号
【発明の概要】
【発明が解決しようとする課題】
【0004】
特許文献1のように多孔質層と緻密層とが接するセンサ素子において、多孔質層と緻密層との気孔率差が比較的大きい場合、両者間の残留応力差が比較的大きいことによりセンサ素子にクラックが生じる懸念があった。
【0005】
本発明のセンサ素子およびガスセンサは、センサ素子にクラックが生じるのを抑制することを主目的とする。
【課題を解決するための手段】
【0006】
本発明のセンサ素子およびガスセンサは、上述の主目的を達成するために以下の手段を採った。
【0007】
[1]本発明のセンサ素子は、
被測定ガス中の特定ガスの濃度を検出するためのセンサ素子であって、
長手方向に沿った両端である前端および後端、前記長手方向に沿った表面である側面を有し、前記前端側が前記被測定ガスに晒される素子本体と、
前記側面の前記後端側に配設され、外部と電気的に導通するためのコネクタ電極と、
前記側面の前後方向における一部を被覆する多孔質層と、
気孔率が前記多孔質層よりも低く、前記側面の前記前後方向における前記多孔質層とは異なる位置で且つ前記コネクタ電極よりも前記前端側を被覆する緻密層と、
気孔率が前記多孔質層よりも低く且つ前記緻密層よりも高く、前記前端側および前記後端側の一方側で前記緻密層と接し且つ前記前端側および前記後端側の他方側で前記多孔質層と接し且つ前記側面を被覆する中間層と、
を備えることを要旨とする。
【0008】
本発明のセンサ素子では、気孔率が多孔質層よりも低く且つ緻密層よりも高く、前端側および後端側の一方側で緻密層と接し且つ前端側および後端側の他方側で多孔質層と接し且つ側面を被覆する中間層を備える。これにより、中間層を備えずに緻密層と多孔質層とが直接に接する場合に比して、互いに接する2層の気孔率差を小さくすることができるから、互いに接する2層の残留応力差(互いに接する2層の境界部に作用する応力)を小さくすることができる。この結果、センサ素子にクラックが生じるのを抑制することができる。
【0009】
[2]本発明のセンサ素子(上述の[1]に記載のセンサ素子)において、前記緻密層、前記中間層、前記多孔質層のうち互いに接する2層の気孔率差は、何れも20%以下であってもよい。
【0010】
[3]この場合(上述の[2]に記載のセンサ素子)において、前記互いに接する2層の気孔率差は、何れも5%以下であってもよい。
(【0011】以降は省略されています)
この特許をJ-PlatPat(特許庁公式サイト)で参照する
関連特許
浜松ホトニクス株式会社
干渉計測装置
1日前
株式会社デンソー
コネクタピン検査装置、コネクタピン検査方法
1日前
キヤノンメディカルシステムズ株式会社
核医学診断装置
1日前
奈視科技股ふん有限公司
X線計測システム及びX線計測方法
2日前
ミネベアミツミ株式会社
ひずみ検出システム
2日前
株式会社日立ハイテク
分析装置
2日前
クリンゲルンベルク・アクチェンゲゼルシャフト
平歯車の転がり試験のセットアップ
1日前
NTTドコモソリューションズ株式会社
河川水位予測システム、河川水位予測方法、および河川水位予測プログラム
2日前
国立大学法人 東京大学
蛍光測定装置及び蛍光測定方法
1日前
株式会社安川電機
エンコーダ、サーボモータ、サーボシステム
2日前
日本車輌製造株式会社
鉄道車両用車輪偏摩耗検知システム、および、鉄道車両用車輪偏摩耗検知方法
1日前
住友電気工業株式会社
システム、サーバ、警告方法、及びコンピュータプログラム
2日前
西安建築科技大学
データ処理方法及び機器、記憶媒体
1日前
ノースイースト・ガス・アソシエイション
改善されたロボットインラインパイプ検査システムおよび装置
2日前
ダンマルクス テクニスケ ウニベルシテット
非晶質材料及び半結晶性材料を分析するためのX線回折方法
2日前
クエスト ダイアグノスティックス インヴェストメンツ エルエルシー
質量分析による抗うつ剤の定量
2日前
ホンブレヒティコン システムズ エンジニアリング アクチェンゲゼルシャフト
自動実験室用装置及び試料を処理する方法
2日前
ジェイ・エイ・ウーラム・カンパニー・インコーポレイテッド
サンプル検査システム、及び、サンプル検査の方法
2日前
ドクトル・ヨハネス・ハイデンハイン・ゲゼルシヤフト・ミツト・ベシユレンクテル・ハフツング
位置測定装置
1日前
ドクトル・ヨハネス・ハイデンハイン・ゲゼルシヤフト・ミツト・ベシユレンクテル・ハフツング
位置測定装置
1日前
シーメンス メディカル ソリューションズ ユーエスエー インコーポレイテッド
半導体ベースの単一光子放出計算断層撮影検出器のためのインタポーザ
2日前
他の特許を見る