TOP
|
特許
|
意匠
|
商標
特許ウォッチ
Twitter
他の特許を見る
公開番号
2025140169
公報種別
公開特許公報(A)
公開日
2025-09-29
出願番号
2024039369
出願日
2024-03-13
発明の名称
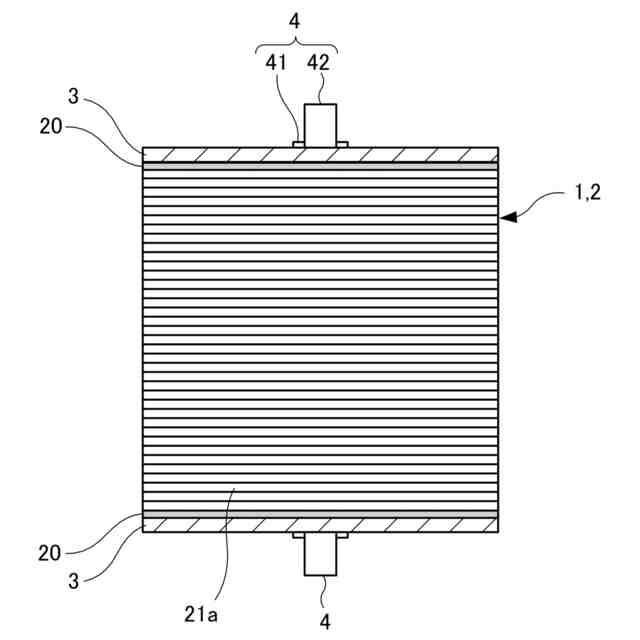
ハニカム構造体
出願人
日本碍子株式会社
代理人
アクシス国際弁理士法人
主分類
B01J
35/50 20240101AFI20250919BHJP(物理的または化学的方法または装置一般)
要約
【課題】ハニカム構造体の熱膨張差による耐熱衝撃性の悪化を抑えつつ、経時的な抵抗上昇を抑制できるハニカム構造体を提供する。
【解決手段】本発明によるハニカム構造体1は、外周壁20と、外周壁20の内側に配設され、一方の端面から他方の端面まで延びる流路を形成する複数のセル21aを区画形成する隔壁21と、を有し、外周壁20及び隔壁21が炭化珪素と珪素とを含有するセラミックスで構成されたハニカム構造部2と、外周壁20の外面上に、ハニカム構造部2の中心軸を挟んで対向するように設けられ、ハニカム構造部2に対する電流の出入に用いられる一対の電極層3とを備え、セル21aの延在方向に直交するハニカム構造部2の面において、ハニカム構造部2の軸中心を半径0%の位置とし、ハニカム構造部2の外縁を半径100%の位置としたとき、半径99%以上100%以下の外縁領域2orのSiO
2
結晶質量割合(Ro)が、半径1%以下の中心領域2crのSiO
2
結晶質量割合(Rc)よりも大きい。
【選択図】図1
特許請求の範囲
【請求項1】
外周壁と、前記外周壁の内側に配設され、一方の端面から他方の端面まで延びる流路を形成する複数のセルを区画形成する隔壁と、を有し、前記外周壁及び前記隔壁が炭化珪素と珪素とを含有するセラミックスで構成されたハニカム構造部と、
前記外周壁の外面上に、前記ハニカム構造部の中心軸を挟んで対向するように設けられ、前記ハニカム構造部に対する電流の出入に用いられる一対の電極層と
を備え、
前記セルの延在方向に直交する前記ハニカム構造部の面において、前記ハニカム構造部の軸中心を半径0%の位置とし、前記ハニカム構造部の外縁を半径100%の位置としたとき、半径99%以上100%以下の外縁領域のSiO
2
結晶質量割合(Ro)が、半径1%以下の中心領域のSiO
2
結晶質量割合(Rc)よりも大きい、
ハニカム構造体。
続きを表示(約 190 文字)
【請求項2】
前記中心領域のSiO
2
結晶質量割合(Rc)に対する前記外縁領域のSiO
2
結晶質量割合(Ro)の比率(Ro/Rc)が、1.1以上2.4以下である、
請求項1に記載のハニカム構造体。
【請求項3】
前記比率(Ro/Rc)が、1.4以上2.3以下である、
請求項2に記載のハニカム構造体。
発明の詳細な説明
【技術分野】
【0001】
本発明は、ハニカム構造体に関する。
続きを表示(約 1,500 文字)
【背景技術】
【0002】
一般に、ハニカム構造体に電極を配設し、通電によりハニカム構造体自体を発熱させることで、ハニカム構造体に担持された触媒をエンジン始動前に活性温度まで昇温させて、内燃機関が始動開始直後の際に排出される排気ガスの浄化を狙う電気加熱式担体(EHC)が知られている。
【0003】
EHCは酸化により抵抗が上昇する。酸化による抵抗上昇が著しい場合、所定時間内に触媒の活性温度まで到達できない虞がある。例えば、抵抗上昇による電流集中で局所発熱し、ハニカム構造部体内の温度差でハニカム構造部にクラックが生じたり、ハニカム構造部体に電流を導入する金属電極が破損したりする虞がある。
【0004】
下記の特許文献1には、ハニカム構造体に酸化処理を施し、1.0質量%以上のクリストバライト(SiO
2
結晶)をハニカム構造体に含ませることで、EHCの抵抗上昇を抑制することが提案されている。
【先行技術文献】
【特許文献】
【0005】
特開2022-145495号公報
【発明の概要】
【発明が解決しようとする課題】
【0006】
上記の特許文献1に記載されているように、SiO
2
結晶の割合を増やすことで、ハニカム構造体の経時的な抵抗上昇を抑えることができる。しかしながら、SiO
2
結晶は、外周壁及び隔壁を構成する炭化珪素及び珪素を含有するセラミックスよりも熱膨張係数が大きいので、ハニカム構造体に含まれるSiO
2
結晶の割合を全体的に増やすと、ハニカム構造体の耐熱衝撃性が悪化する懸念が生じる。
【0007】
本発明は、上記のような課題を解決するためになされたものであり、その目的の一つは、ハニカム構造体の熱膨張差による耐熱衝撃性の悪化を抑えつつ、経時的な抵抗上昇を抑制できるハニカム構造体を提供することである。
【課題を解決するための手段】
【0008】
項目1.本発明は、一実施形態において、外周壁と、前記外周壁の内側に配設され、一方の端面から他方の端面まで延びる流路を形成する複数のセルを区画形成する隔壁と、を有し、前記外周壁及び前記隔壁が炭化珪素と珪素とを含有するセラミックスで構成されたハニカム構造部と、前記外周壁の外面上に、前記ハニカム構造部の中心軸を挟んで対向するように設けられ、前記ハニカム構造部に対する電流の出入に用いられる一対の電極層とを備え、前記セルの延在方向に直交する前記ハニカム構造部の面において、前記ハニカム構造部の軸中心を半径0%の位置とし、前記ハニカム構造部の外縁を半径100%の位置としたとき、半径99%以上100%以下の外縁領域のSiO
2
結晶質量割合(Ro)が、半径1%以下の中心領域のSiO
2
結晶質量割合(Rc)よりも大きい、ハニカム構造体に関する。
【0009】
項目2.本発明は、中心領域のSiO
2
結晶質量割合(Rc)に対する外縁領域のSiO
2
結晶質量割合(Ro)の比率(Ro/Rc)が、1.1以上2.4以下である、項目1に記載のハニカム構造体に関していてよい。
【0010】
項目3.本発明は、比率(Ro/Rc)が、1.4以上2.3以下である、項目2に記載のハニカム構造体に関していてよい。
【発明の効果】
(【0011】以降は省略されています)
この特許をJ-PlatPat(特許庁公式サイト)で参照する
関連特許
日本碍子株式会社
電池
1か月前
日本碍子株式会社
熱交換器
4日前
日本碍子株式会社
把持方法
今日
日本碍子株式会社
ガスセンサ
25日前
日本碍子株式会社
空調システム
1か月前
日本碍子株式会社
ハニカム構造体
1か月前
日本碍子株式会社
ハニカム構造体
4日前
日本碍子株式会社
ハニカム構造体
15日前
日本碍子株式会社
ハニカム構造体
今日
日本碍子株式会社
アルカリ二次電池
4日前
日本碍子株式会社
金属溶湯濾過部材
1か月前
日本碍子株式会社
導波素子の製造方法
7日前
日本碍子株式会社
半導体製造装置用部材
1か月前
日本碍子株式会社
半導体製造装置用部材
23日前
日本碍子株式会社
センサ素子およびガスセンサ
2日前
日本碍子株式会社
センサ素子およびガスセンサ
1か月前
日本碍子株式会社
ロボットハンドおよびロボット
今日
日本碍子株式会社
AlN単結晶基板及びデバイス
4日前
日本碍子株式会社
ロボットハンドおよびロボット
今日
日本碍子株式会社
流体処理装置用筒状部材の製造方法
1か月前
日本碍子株式会社
車両用空調システム及びその制御方法
1か月前
日本碍子株式会社
センサ素子の製造方法およびスラリー付着装置
4日前
日本碍子株式会社
センサ素子の製造方法およびスラリー付着装置
4日前
日本碍子株式会社
微細構造材料の設計支援方法および設計支援装置
1か月前
日本碍子株式会社
ハニカム構造体の電気抵抗を測定するための方法
15日前
日本碍子株式会社
微細構造材料のモデル生成方法およびモデル生成装置
1か月前
日本碍子株式会社
センサ素子
1か月前
日本碍子株式会社
フォトニック結晶素子
16日前
日本碍子株式会社
半導体製造装置用部材
23日前
日本碍子株式会社
複合基板、弾性表面波素子および複合基板の製造方法
今日
ユニチカ株式会社
複合中空糸膜
1日前
東レ株式会社
中空糸膜モジュール
今日
株式会社ニクニ
液体処理装置
14日前
株式会社大善
濃縮脱水機
24日前
日本化薬株式会社
メタノール改質触媒
15日前
三機工業株式会社
ろ過装置
1か月前
続きを見る
他の特許を見る