TOP
|
特許
|
意匠
|
商標
特許ウォッチ
Twitter
他の特許を見る
公開番号
2025155793
公報種別
公開特許公報(A)
公開日
2025-10-14
出願番号
2024226355
出願日
2024-12-23
発明の名称
センサ素子及びガスセンサ
出願人
日本碍子株式会社
代理人
個人
,
個人
主分類
G01N
27/416 20060101AFI20251002BHJP(測定;試験)
要約
【課題】センサ素子の温度が変化した場合であっても、高い測定精度を維持できるセンサ素子を提供する。
【解決手段】酸素イオン伝導性の固体電解質層1,2,3,4,5,6を含む長尺板状の基体部102と、ガス導入口10と第1拡散律速通路11を介して連通する第1内部空所20とを有する被測定ガス流通空所15と、第1内部空所20内に配設された空所内酸素ポンプ電極22と、空所内酸素ポンプ電極22と対応している空所外酸素ポンプ電極23とを含む酸素ポンプセル21と、を含み、空所内酸素ポンプ電極22と空所外酸素ポンプ電極23との間のインピーダンスに関して、周波数1Hzにおけるインピーダンスの実部(1Hzにおける抵抗値R1)の周波数0.1Hzにおけるインピーダンスの実部(0.1Hzにおける抵抗値R0)に対する比R1/R0が93%以下である、センサ素子及びガスセンサ。
【選択図】図1
特許請求の範囲
【請求項1】
被測定ガス中の測定対象ガスを検出するセンサ素子であって、
前記センサ素子は、
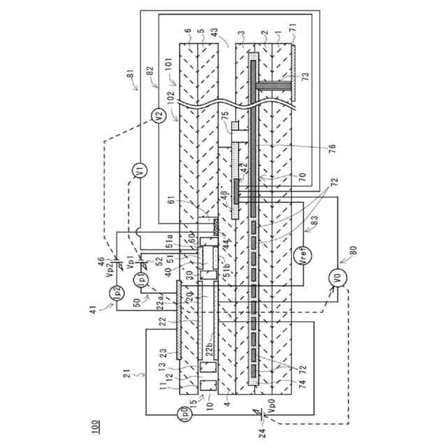
酸素イオン伝導性の固体電解質層を含む長尺板状の基体部と、
前記基体部の表面に開口するガス導入口と、前記ガス導入口と第1拡散律速通路を介して連通する第1内部空所とを有する被測定ガス流通空所と、
前記被測定ガス流通空所の前記第1内部空所内に配設された空所内酸素ポンプ電極と、前記基体部の前記被測定ガス流通空所とは異なる位置に配設された、前記空所内酸素ポンプ電極と対応している空所外酸素ポンプ電極とを含む酸素ポンプセルと、
を含み、
前記酸素ポンプセルの前記空所内酸素ポンプ電極と前記空所外酸素ポンプ電極との間のインピーダンスに関して、周波数1Hzにおけるインピーダンスの実部を1Hzにおける抵抗値R1と表し、周波数0.1Hzにおけるインピーダンスの実部を0.1Hzにおける抵抗値R0と表した時、前記1Hzにおける抵抗値R1の前記0.1Hzにおける抵抗値R0に対する比R1/R0が93%以下である、センサ素子。
続きを表示(約 1,000 文字)
【請求項2】
前記酸素ポンプセルの前記空所内酸素ポンプ電極と前記空所外酸素ポンプ電極との間の前記0.1Hzにおける抵抗値R0は、前記酸素ポンプセルの温度低下1℃当たりの抵抗増加が、1Ω/℃未満である、請求項1に記載のセンサ素子。
【請求項3】
前記空所内酸素ポンプ電極及び前記空所外酸素ポンプ電極の少なくとも一方の電極において、厚みが4μm以上40μm以下である、請求項1に記載のセンサ素子。
【請求項4】
前記空所内酸素ポンプ電極及び前記空所外酸素ポンプ電極の少なくとも一方の電極は、金属と酸素イオン伝導性の固体電解質とのサーメット電極であり、
前記少なくとも一方の電極の表面をX線光電子分光法(XPS)により測定した時に得られるスペクトルにおいて、ケイ素のピーク強度のジルコニウムのピーク強度に対するピーク強度比が20以下である、請求項1に記載のセンサ素子。
【請求項5】
酸素濃度20.5%の被測定ガスが前記第1内部空所内に導入された場合において、前記酸素ポンプセルにより前記第1内部空所内の酸素を汲み出す時に、前記酸素ポンプセルに流れるポンプ電流の電流値が0.5mA以上4.0mA以下である、請求項1に記載のセンサ素子。
【請求項6】
前記第1内部空所とは第2拡散律速通路を介して連通する第2内部空所と、
前記被測定ガス流通空所の前記第2内部空所内に配設された空所内補助ポンプ電極と、前記基体部の前記被測定ガス流通空所とは異なる位置に配設された、前記空所内補助ポンプ電極と対応している空所外補助ポンプ電極とを含む補助ポンプセルと、
前記被測定ガス流通空所の前記第2内部空所内の前記空所内補助ポンプ電極よりも前記第2拡散律速通路から遠い位置、又は、前記第2内部空所とは第3拡散律速通路を介して連通する前記第3内部空所内に配設された空所内測定電極と、前記基体部の前記被測定ガス流通空所とは異なる位置に配設された、前記空所内測定電極と対応している空所外測定電極とを含む測定用ポンプセルと、
前記基体部の内部に、前記被測定ガス流通空所とは離隔して形成された基準ガス室と、
前記基準ガス室内に配設された基準電極と、
を、さらに含む、請求項1に記載のセンサ素子。
【請求項7】
請求項1に記載のセンサ素子と、前記センサ素子を制御する制御装置を含み、被測定ガス中の測定対象ガスを検出するガスセンサ。
発明の詳細な説明
【技術分野】
【0001】
本発明は、被測定ガス中の測定対象ガスを検出するセンサ素子及びガスセンサに関する。
続きを表示(約 2,000 文字)
【背景技術】
【0002】
ガスセンサは、自動車の排気ガス等の被測定ガス中の対象とするガス成分(酸素O
2
、窒素酸化物NOx、アンモニアNH
3
、炭化水素HC、二酸化炭素CO
2
等)の検出や濃度の測定に使用されている。このようなガスセンサとしては、ジルコニア(ZrO
2
)等の酸素イオン伝導性の固体電解質を用いたセンサ素子を備えたガスセンサが知られている(例えば、特許第6678134号公報、特開2020-165966号公報、及び特許第6934828号公報)。
【0003】
例えば、特許第6678134号公報には、固体電解質体と、前記固体電解質体の一方面に設けられた第1の電極膜と、前記固体電解質体の他方面に設けられた第2の電極膜とを有するガスセンサ素子が開示されている。前記ガスセンサ素子の前記電極膜の少なくとも一方において、電極膜内部全体の静電容量、及び、電極膜断面当たりの貴金属粒子と固体電解質粒子とによる二層界面の総長さの電極膜断面当たりの固体電解質粒子の総周長に対する比を、所定の範囲にすることにより、ガス切り替わり時のガスセンサの応答性を向上させることができることが開示されている。
【0004】
例えば、特開2020-165966号公報には、基準電極と、基準ガスを導入して前記基準電極まで流通させる基準ガス導入部とを有するセンサ素子を備えるガスセンサが開示されている。前記ガスセンサにおいて、前記基準電極の反応抵抗R1と前記基準ガス導入部の拡散抵抗R2との比R1/R2を所定の範囲にすることにより、基準電極の周囲の酸素濃度変化に起因する特定ガス濃度の検出精度低下を抑制することが開示されている。
【先行技術文献】
【特許文献】
【0005】
特許第6678134号公報
特開2020-165966号公報
特許第6934828号公報
【発明の概要】
【発明が解決しようとする課題】
【0006】
ガスセンサが測定対象ガスの測定を行う際には、通常、センサ素子が高温(例えば、800℃程度)に保たれ、センサ素子を構成する固体電解質が酸素イオン伝導性を発現するようになされている。しかしながら、例えば、被測定ガスの流速が速い等の外部環境により、ガスセンサのセンサ素子が冷やされて、一時的に通常の駆動温度よりも低い温度になることが起こり得る。また、ガスセンサが自動車の排気経路上に取り付けられている場合などには、自動車の振動の影響より、ガスセンサの内部の電気的な接続部の抵抗が増加し(接点不良)、センサ素子の温度制御が変動してセンサ素子の温度が変化することも起こり得る。
【0007】
このようなセンサ素子の温度変化が起こった場合に、測定対象ガスの測定精度が低下することは好ましくない。
【0008】
そこで、本発明は、何らかの要因でセンサ素子の温度が変化した場合であっても、高い測定精度を維持できるガスセンサを提供することを目的とする。
【課題を解決するための手段】
【0009】
本発明者らは、鋭意検討し、ガスセンサにおいて、被測定ガス中の酸素のポンピングを行う酸素ポンプセルの抵抗値を所定の範囲として、前記抵抗値の温度依存性を低減することにより、高い測定精度を維持できることを見出した。本発明には、以下の発明が含まれる。
【0010】
(1) 被測定ガス中の測定対象ガスを検出するセンサ素子であって、
前記センサ素子は、
酸素イオン伝導性の固体電解質層を含む長尺板状の基体部と、
前記基体部の表面に開口するガス導入口と、前記ガス導入口と第1拡散律速通路を介して連通する第1内部空所とを有する被測定ガス流通空所と、
前記被測定ガス流通空所の前記第1内部空所内に配設された空所内酸素ポンプ電極と、前記基体部の前記被測定ガス流通空所とは異なる位置に配設された、前記空所内酸素ポンプ電極と対応している空所外酸素ポンプ電極とを含む酸素ポンプセルと、
を含み、
前記酸素ポンプセルの前記空所内酸素ポンプ電極と前記空所外酸素ポンプ電極との間のインピーダンスに関して、周波数1Hzにおけるインピーダンスの実部を1Hzにおける抵抗値R1と表し、周波数0.1Hzにおけるインピーダンスの実部を0.1Hzにおける抵抗値R0と表した時、前記1Hzにおける抵抗値R1の前記0.1Hzにおける抵抗値R0に対する比R1/R0が93%以下である、センサ素子。
(【0011】以降は省略されています)
この特許をJ-PlatPat(特許庁公式サイト)で参照する
関連特許
日本碍子株式会社
蒸発器
2日前
日本碍子株式会社
把持方法
1か月前
日本碍子株式会社
熱交換器
1か月前
日本碍子株式会社
熱交換器
2か月前
日本碍子株式会社
ウエハ載置台
1か月前
日本碍子株式会社
回収システム
2日前
日本碍子株式会社
空調システム
1か月前
日本碍子株式会社
亜鉛二次電池
1か月前
日本碍子株式会社
電気化学セル
24日前
日本碍子株式会社
ハニカム構造体
1か月前
日本碍子株式会社
電気加熱式担体
1か月前
日本碍子株式会社
ハニカム構造体
1か月前
日本碍子株式会社
ハニカム構造体
1か月前
日本碍子株式会社
ハニカム構造体
1か月前
日本碍子株式会社
電気加熱式担体
1か月前
日本碍子株式会社
ハニカム構造体
2か月前
日本碍子株式会社
ハニカム構造体
2か月前
日本碍子株式会社
セラミックヒータ
3日前
日本碍子株式会社
メタン製造反応器
1か月前
日本碍子株式会社
ハニカムフィルタ
1か月前
日本碍子株式会社
アルカリ二次電池
2か月前
日本碍子株式会社
導波素子の製造方法
2か月前
日本碍子株式会社
車両用空調システム
2日前
日本碍子株式会社
車両用調湿システム
2日前
日本碍子株式会社
ウォーキングビーム炉
1か月前
日本碍子株式会社
半導体製造装置用部材
2か月前
日本碍子株式会社
三相型ハニカムヒータ
1か月前
日本碍子株式会社
セラミックサセプター
1か月前
日本碍子株式会社
半導体製造装置用ヒータ
1か月前
日本碍子株式会社
浄水膜構造体の製造方法
1か月前
日本碍子株式会社
センサ素子及びガスセンサ
1か月前
日本碍子株式会社
センサ素子およびガスセンサ
2か月前
日本碍子株式会社
セラミックス部材の製造方法
1か月前
日本碍子株式会社
ロボットハンドおよびロボット
1か月前
日本碍子株式会社
ロボットハンドおよびロボット
1か月前
日本碍子株式会社
セラミックス試料の酸分解方法
1か月前
続きを見る
他の特許を見る