TOP
|
特許
|
意匠
|
商標
特許ウォッチ
Twitter
他の特許を見る
10個以上の画像は省略されています。
公開番号
2025173436
公報種別
公開特許公報(A)
公開日
2025-11-27
出願番号
2024079028
出願日
2024-05-14
発明の名称
セラミックヒータ
出願人
日本碍子株式会社
代理人
個人
,
個人
,
個人
主分類
H01L
21/683 20060101AFI20251119BHJP(基本的電気素子)
要約
【課題】セラミックプレートの均熱性を有意に向上可能なシャフト付きセラミックヒータを提供する。
【解決手段】このセラミックヒータは、第一面及び第二面を有し、かつ、ヒータ電極が埋設されたセラミックプレートと、セラミックプレートの第二面に取り付けられたセラミックシャフトと、セラミックシャフトを構成する側壁内に貫通して設けられるシャフト穴と、セラミックプレートの第二面及び/又はセラミックシャフトの上端面に円周方向に延在するように設けられ、上端面及び/又は第二面と共にシャフト穴に連通した真空吸引経路を形成する真空吸引溝と、シャフト穴及び/又は真空吸引溝に連通し、かつ、第一面に到達するように設けられる、セラミックプレートを厚さ方向に貫通する貫通穴とを備える。平面視した場合に、セラミックシャフトと第二面との接合部分及び真空吸引溝の合計面積に占める真空吸引溝の面積の割合が60~96%である。
【選択図】図1
特許請求の範囲
【請求項1】
ウェハが載置されるための第一面と、前記第一面と対向する第二面とを有し、かつ、ヒータ電極が埋設された円板状のセラミックプレートと、
前記セラミックプレートの第二面に取り付けられた円筒状のセラミックシャフトと、
前記セラミックシャフトを構成する側壁内に、前記セラミックシャフトの一端から他端まで貫通して設けられるシャフト穴と、
前記セラミックプレートの第二面及び/又は前記セラミックシャフトの上端面に円周方向に延在するように設けられ、前記上端面及び/又は前記第二面と共に前記シャフト穴に連通した真空吸引経路を形成する真空吸引溝と、
前記シャフト穴及び/又は前記真空吸引溝に連通し、かつ、前記第一面に到達するように設けられる、前記セラミックプレートを厚さ方向に貫通する貫通穴と、
を備えた、セラミックヒータであって、
前記セラミックヒータが、前記シャフト穴が真空吸引された場合に、前記シャフト穴、前記真空吸引溝及び前記貫通穴を経て前記セラミックプレートの第一面を真空吸引可能に構成されており、
前記セラミックシャフトの中心軸方向に平面視した場合に、前記セラミックシャフトと前記第二面との接合部分及び前記真空吸引溝の合計面積に占める、前記真空吸引溝の面積の割合が、60~96%である、セラミックヒータ。
続きを表示(約 750 文字)
【請求項2】
前記セラミックシャフトと前記第二面との接合部分及び前記真空吸引溝の合計面積に占める、前記真空吸引溝の面積の割合が、65~85%である、請求項1に記載のセラミックヒータ。
【請求項3】
前記セラミックシャフトの中心軸方向に平面視した場合に、前記シャフト穴と前記貫通穴が互いに重なる位置に配置されている、請求項1又は2に記載のセラミックヒータ。
【請求項4】
前記真空吸引溝の深さが、0.5~30mmである、請求項1又は2に記載のセラミックヒータ。
【請求項5】
前記セラミックシャフトと前記第二面との接合部分の各々の幅が、0.5~3.0mmである、請求項1又は2に記載のセラミックヒータ。
【請求項6】
前記貫通穴を複数個備えており、前記複数個の前記貫通穴が、前記セラミックシャフトの中心軸に関して、互いに回転対称な位置に配置されている、請求項1又は2に記載のセラミックヒータ。
【請求項7】
前記貫通穴の数が2又は3である、請求項6に記載のセラミックヒータ。
【請求項8】
前記真空吸引溝を複数個備えており、
前記複数個の前記真空吸引溝の各々の長手方向の端部に前記貫通穴が位置しており、
前記複数個の前記真空吸引溝が、円周方向に互いに離間して配置されている、請求項6に記載のセラミックヒータ。
【請求項9】
前記真空吸引溝の数が2又は3である、請求項1又は2に記載のセラミックヒータ。
【請求項10】
前記真空吸引溝が円環状又は円弧状に設けられている、請求項1又は2に記載のセラミックヒータ。
(【請求項11】以降は省略されています)
発明の詳細な説明
【技術分野】
【0001】
本開示は、セラミックヒータに関するものである。
続きを表示(約 3,800 文字)
【背景技術】
【0002】
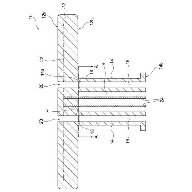
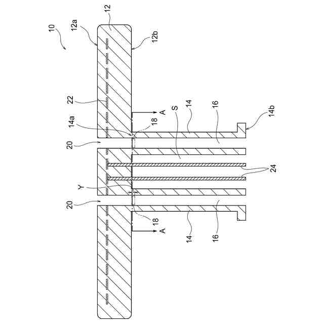
半導体製造プロセス用の成膜装置において、ウェハの温度を均一に制御するための支持ステージとして、セラミックヒータが用いられている。そのようなセラミックヒータとして、ウェハが載置されるためのセラミックプレートと、このセラミックプレートに取り付けられた円筒状のセラミックシャフトとを備えたものが広く用いられている。
【0003】
特許文献1(特許第7352765号公報)には、発熱体が埋設されたセラミック製のヒータープレートと、ヒータープレートの下面に結合するシャフトと、ヒータープレート及びシャフトの接合面に沿って設けられた連続的又は断続的なエアポケットとを含む、セラミックヒータが開示されている。エアポケットは溝を含み、この溝は、ヒータープレートに接合するシャフト上端の曲げ部における接合面に沿ってヒータープレートに形成されている。
【先行技術文献】
【特許文献】
【0004】
特許第7352765号公報
【発明の概要】
【0005】
高い成膜品質を確保するため、セラミックヒータには、ウェハが載置される面内における温度差が小さいこと(すなわち均熱性)が求められている。とりわけ、近年のプロセスの微細化及び高集積化に伴い、セラミックヒータにはより一層の均熱性が求められている。しかしながら、図17に模式的に示されるように、従来のシャフト付きセラミックヒータ110では、セラミックプレート112の全体から輻射や対流による熱の移動(矢印B参照)が生じるのに加えて、セラミックプレート112の裏面に取り付けられたセラミックシャフト114から設備側への熱伝導による熱の移動が発生する(矢印A参照)。その結果、セラミックヒータ110のシャフト部分の熱伝達が大きくなり、セラミックプレート112の中心部の温度が他の部位よりも低くなりやすく、結果として均熱性が損なわれやすい。
【0006】
本発明者らは、今般、セラミックプレート及びセラミックシャフトの接合面に沿って所定の面積割合で真空吸引溝を設けて真空吸引可能に構成することで、セラミックシャフトを介した(特にシャフト下端からの)放熱を効果的に抑制し、それによりセラミックプレートの均熱性を有意に向上できることを見出した。
【0007】
したがって、本発明の目的は、セラミックシャフトを介した(特にシャフト下端からの)放熱を効果的に抑制し、それによりセラミックプレートの均熱性を有意に向上可能なシャフト付きセラミックヒータを提供することにある。
【0008】
本開示によれば、以下の態様が提供される。
[態様1]
ウェハが載置されるための第一面と、前記第一面と対向する第二面とを有し、かつ、ヒータ電極が埋設された円板状のセラミックプレートと、
前記セラミックプレートの第二面に取り付けられた円筒状のセラミックシャフトと、
前記セラミックシャフトを構成する側壁内に、前記セラミックシャフトの一端から他端まで貫通して設けられるシャフト穴と、
前記セラミックプレートの第二面及び/又は前記セラミックシャフトの上端面に円周方向に延在するように設けられ、前記上端面及び/又は前記第二面と共に前記シャフト穴に連通した真空吸引経路を形成する真空吸引溝と、
前記シャフト穴及び/又は前記真空吸引溝に連通し、かつ、前記第一面に到達するように設けられる、前記セラミックプレートを厚さ方向に貫通する貫通穴と、
を備えた、セラミックヒータであって、
前記セラミックヒータが、前記シャフト穴が真空吸引された場合に、前記シャフト穴、前記真空吸引溝及び前記貫通穴を経て前記セラミックプレートの第一面を真空吸引可能に構成されており、
前記セラミックシャフトの中心軸方向に平面視した場合に、前記セラミックシャフトと前記第二面との接合部分及び前記真空吸引溝の合計面積に占める、前記真空吸引溝の面積の割合が、60~96%である、セラミックヒータ。
[態様2]
前記セラミックシャフトと前記第二面との接合部分及び前記真空吸引溝の合計面積に占める、前記真空吸引溝の面積の割合が、65~85%である、態様1に記載のセラミックヒータ。
[態様3]
前記セラミックシャフトの中心軸方向に平面視した場合に、前記シャフト穴と前記貫通穴が互いに重なる位置に配置されている、態様1又は2に記載のセラミックヒータ。
[態様4]
前記真空吸引溝の深さが、0.5~30mmである、態様1~3のいずれか一つに記載のセラミックヒータ。
[態様5]
前記セラミックシャフトと前記第二面との接合部分の各々の幅が、0.5~3.0mmである、態様1~4のいずれか一つに記載のセラミックヒータ。
[態様6]
前記貫通穴を複数個備えており、前記複数個の前記貫通穴が、前記セラミックシャフトの中心軸に関して、互いに回転対称な位置に配置されている、態様1~5のいずれか一つに記載のセラミックヒータ。
[態様7]
前記貫通穴の数が2又は3である、態様6に記載のセラミックヒータ。
[態様8]
前記真空吸引溝を複数個備えており、
前記複数個の前記真空吸引溝の各々の長手方向の端部に前記貫通穴が位置しており、
前記複数個の前記真空吸引溝が、円周方向に互いに離間して配置されている、態様6又は7に記載のセラミックヒータ。
[態様9]
前記真空吸引溝の数が2又は3である、態様1~8のいずれか一つに記載のセラミックヒータ。
[態様10]
前記真空吸引溝が円環状又は円弧状に設けられている、態様1~9のいずれか一つに記載のセラミックヒータ。
[態様11]
前記真空吸引溝が蛇行しながら円周方向に進行するように設けられている、態様1~10のいずれか一つに記載のセラミックヒータ。
[態様12]
前記真空吸引溝が、円周方向に沿った進行、折り返し、及び円周方向に沿った逆行を含むパターンで形成される、態様1~11のいずれか一つに記載のセラミックヒータ。
[態様13]
前記真空吸引溝の断面形状が、長方形、台形、半円形、及び菱形からなる群から選択される少なくとも1種である、態様1~12のいずれか一つに記載のセラミックヒータ。
【図面の簡単な説明】
【0009】
本発明によるセラミックヒータの一例を示す模式断面図である。
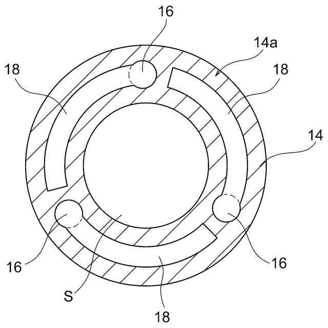
真空吸引溝及び貫通穴の平面視形状の一例を示す模式断面図であり、図1のA-A線断面矢視図に相当する。
真空吸引溝及び貫通穴の平面視形状の他の一例を示す模式断面図である。
真空吸引溝及び貫通穴の平面視形状の他の一例を示す模式断面図である。
真空吸引溝及び貫通穴の平面視形状の他の一例を示す模式断面図である。
真空吸引溝及び貫通穴の平面視形状の他の一例を示す模式断面図である。
真空吸引溝及び貫通穴の断面形状の一例を示す模式断面図である。
真空吸引溝及び貫通穴の断面形状の他の一例を示す模式断面図である。
真空吸引溝及び貫通穴の断面形状の他の一例を示す模式断面図である。
真空吸引溝及び貫通穴の断面形状の他の一例を示す模式断面図である。
例1(比較例)で作製したセラミックヒータを示す模式断面図である。
例2~13で作製したセラミックヒータを示す模式断面図である。
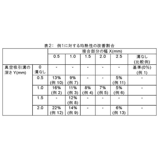
例1~6で作製したセラミックヒータについて測定された均熱性の改善割合を、接合部分の幅との関係において示すグラフである。
例1~6で作製したセラミックヒータについて測定された、シャフト端放熱量の減少割合とシャフト端温度の減少割合を、接合部分の幅との関係において示すグラフである。
例1、7、3、8及び9で作製したセラミックヒータについて測定された均熱性の改善割合を、接合部分の幅との関係において示すグラフである。
例1、7、3、8及び9で作製したセラミックヒータについて測定された、シャフト端放熱量の減少割合とシャフト端温度の減少割合を、接合部分の幅との関係において示すグラフである。
従来のセラミックヒータの一例を示す模式断面図である。
【発明を実施するための形態】
【0010】
本発明によるセラミックヒータは、半導体製造装置内においてウェハを温度制御しながら支持するためのセラミック製の台である。典型的には、本発明によるセラミックヒータは、半導体成膜装置用のセラミックヒータでありうる。成膜装置の典型的な例としては、CVD(化学気相成長)装置(例えば、熱CVD装置、プラズマCVD装置、光CVD装置、及びMOCVD装置)並びにPVD(物理気相成長)装置が挙げられる。
(【0011】以降は省略されています)
この特許をJ-PlatPat(特許庁公式サイト)で参照する
関連特許
日本碍子株式会社
ウエハ載置台
1か月前
日本碍子株式会社
空調システム
1か月前
日本碍子株式会社
電気化学セル
21日前
日本碍子株式会社
電気加熱式担体
1か月前
日本碍子株式会社
ハニカム構造体
1か月前
日本碍子株式会社
ハニカム構造体
1か月前
日本碍子株式会社
メタン製造反応器
1か月前
日本碍子株式会社
ハニカムフィルタ
1か月前
日本碍子株式会社
セラミックヒータ
今日
日本碍子株式会社
セラミックサセプター
1か月前
日本碍子株式会社
三相型ハニカムヒータ
1か月前
日本碍子株式会社
浄水膜構造体の製造方法
1か月前
日本碍子株式会社
半導体製造装置用ヒータ
1か月前
日本碍子株式会社
センサ素子及びガスセンサ
1か月前
日本碍子株式会社
ハニカム構造体及びハニカムヒータ
1か月前
日本碍子株式会社
半導体製造装置用部材及びその再生方法
1か月前
日本碍子株式会社
半導体製造装置用部材及びその再生方法
1か月前
日本碍子株式会社
トチの検査方法及びハニカム構造体の製造方法
1か月前
日本碍子株式会社
車両用空調システム、及び調湿デバイスの使用方法
28日前
国立大学法人九州大学
耐水素材料及び耐水素構造部品
1か月前
日本碍子株式会社
ハニカム構造体、成形原料組成物及び多孔質体の製造方法
1か月前
日本碍子株式会社
複合基板
1か月前
日本碍子株式会社
混合ガス分離方法
13日前
学校法人神奈川大学
酸素還元反応触媒、酸素還元用電極、及び電池
1日前
日本碍子株式会社
リジェネレイティブバーナ、工業炉、焼成品の製造方法及び加熱処理品の製造方法
1か月前
日本碍子株式会社
電力需給管理システム、電力需給管理方法、電力需給管理プログラムおよび記録媒体
15日前
東ソー株式会社
絶縁電線
1か月前
APB株式会社
蓄電セル
1か月前
個人
フレキシブル電気化学素子
1か月前
日新イオン機器株式会社
イオン源
1か月前
株式会社東芝
端子台
28日前
マクセル株式会社
電源装置
28日前
株式会社ユーシン
操作装置
1か月前
ローム株式会社
半導体装置
1か月前
株式会社ホロン
冷陰極電子源
1か月前
オムロン株式会社
電磁継電器
1か月前
続きを見る
他の特許を見る