TOP
|
特許
|
意匠
|
商標
特許ウォッチ
Twitter
他の特許を見る
10個以上の画像は省略されています。
公開番号
2025170088
公報種別
公開特許公報(A)
公開日
2025-11-14
出願番号
2025150749,2023580082
出願日
2025-09-11,2022-11-30
発明の名称
混合ガス分離方法
出願人
日本碍子株式会社
代理人
弁理士法人松阪国際特許事務所
主分類
B01D
53/22 20060101AFI20251107BHJP(物理的または化学的方法または装置一般)
要約
【課題】混合ガスの分離性能を向上する。
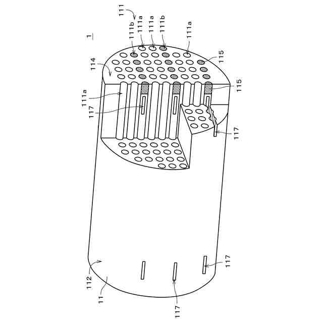
【解決手段】複数の第1セル(111a)のそれぞれは、長手方向両端において開口し、その内側面には分離膜(12)が設けられる。第2セル(111b)は、長手方向両端において閉口する。支持体(11)の長手方向の両端部には、支持体(11)の外側面(112)から第2セル(111b)に至るスリット(117)がさらに設けられる。混合ガスは、分離膜複合体(1)の長手方向の一方の端面(114)に供給される。スイープガスは、長手方向の一方の端部において支持体(11)の外側面112に開口するスリット(117)に供給されて第2セル(111b)を流れる。スイープガスは、長手方向の他方の端部において支持体(11)の外側面(112)に開口するスリット(117)から、100kPa以下の圧力損失にて排出される。
【選択図】図2
特許請求の範囲
【請求項1】
混合ガス分離方法であって、
a)分離膜および多孔質の支持体を備える分離膜複合体を準備する工程と、
b)複数種類のガスを含む混合ガスを前記分離膜に供給し、前記混合ガス中の高透過性ガスを、前記分離膜を透過させることにより前記混合ガスから分離する工程と、
を備え、
前記支持体は、長手方向に延びる柱状であり、
前記支持体には、縦方向および横方向にマトリクス状に配置される複数のセルが設けられ、
前記複数のセルは、
それぞれが長手方向両端において開口するとともに内側面に前記分離膜が設けられる複数の成膜セルと、
長手方向両端において閉口する排出セルと、
を含み、
前記支持体の長手方向の両端部には、前記支持体の外側面から前記排出セルに至る側部流路がさらに設けられ、
前記b)工程において、前記混合ガスは、前記分離膜複合体の長手方向の一方の端面に供給され、スイープガスは、前記長手方向の一方の端部において前記支持体の外側面に開口する前記側部流路に供給されて前記排出セルを流れ、前記長手方向の他方の端部において前記支持体の外側面に開口する前記側部流路から、100kPa以下の圧力損失にて排出される、混合ガス分離方法。
続きを表示(約 130 文字)
【請求項2】
請求項1に記載の混合ガス分離方法であって、
前記複数の成膜セル内には、原料物質の化学反応を促進させる触媒が配置され、
前記混合ガスは、前記原料物質が前記触媒存在下で化学反応することにより生成されたガスである、混合ガス分離方法。
発明の詳細な説明
【技術分野】
【0001】
本発明は、混合ガス分離方法に関する。
[関連出願の参照]
本願は、2022年2月8日に出願された日本国特許出願JP2022-017639からの優先権の利益を主張し、当該出願の全ての開示は、本願に組み込まれる。
続きを表示(約 2,200 文字)
【背景技術】
【0002】
現在、ゼオライト膜等の分離膜による特定の分子の分離や吸着等について、様々な研究や開発が行われている。
【0003】
例えば、国際公開第2016/104048号(文献1)および国際公開第2016/104049号(文献2)では、多孔質支持体上にガス分離膜が形成されたガス分離膜構造体により、混合ガスから特定のガスを分離するガス分離モジュールが開示されている。当該ガス分離モジュールでは、板状のガス分離膜構造体によってハウジングの内部空間が二分割されており、一方の空間(すなわち、供給側空間)に混合ガスが供給される。そして、混合ガス中の特定のガス(以下、「透過対象ガス」と呼ぶ。)が、ガス分離膜構造体を透過して他方の空間(すなわち、透過側空間)へと移動して混合ガスから分離される。当該ガス分離モジュールでは、混合ガス中における透過対象ガスの濃度が低い場合、透過側空間にスイープガスを流すことにより、透過側空間における透過対象ガスの分圧を低下させ、透過対象ガスの透過を促進させる。
【0004】
ところで、混合ガスから特定のガスを分離させる分離膜構造体の1つとして、モノリス型の分離膜複合体が知られている。当該分離膜複合体では、柱状の多孔質支持体を長手方向に貫通する複数のセルがマトリクス状に配置されており、分離膜はセルの内側面に設けられる。これにより、分離膜複合体の単位体積当たりの分離膜の面積を大きくして、分離膜複合体の分離性能を向上することができる。
【0005】
このようなモノリス型の分離膜複合体を用いた混合ガス分離装置において、透過対象ガスの濃度が低い混合ガスの分離を行う場合、柱状の多孔質支持体の外側の空間にスイープガスを流すことが考えられる。しかしながら、スイープガスが流れる空間からの距離が大きいセル(例えば、多孔質支持体の長手方向に垂直な断面において中央部近傍に位置するセル)では、スイープガスによる透過促進効果があまり発揮されないため、混合ガス分離装置における混合ガスの分離性能向上に限界がある。
【発明の概要】
【0006】
本発明は、混合ガス分離方法に向けられており、混合ガスの分離性能を向上することを目的としている。
【0007】
本発明は、混合ガス分離方法にも向けられている。本発明の好ましい一の形態に係る混合ガス分離方法は、a)分離膜および多孔質の支持体を備える分離膜複合体を準備する工程と、b)複数種類のガスを含む混合ガスを前記分離膜に供給し、前記混合ガス中の高透過性ガスを、前記分離膜を透過させることにより前記混合ガスから分離する工程と、を備える。前記支持体は、長手方向に延びる柱状である。前記支持体には、縦方向および横方向にマトリクス状に配置される複数のセルが設けられる。前記複数のセルは、それぞれが長手方向両端において開口するとともに内側面に前記分離膜が設けられる複数の成膜セルと、長手方向両端において閉口する排出セルと、を含む。前記支持体の長手方向の両端部には、前記支持体の外側面から前記排出セルに至る側部流路がさらに設けられる。前記b)工程において、前記混合ガスは、前記分離膜複合体の長手方向の一方の端面に供給され、スイープガスは、前記長手方向の一方の端部において前記支持体の外側面に開口する前記側部流路に供給されて前記排出セルを流れ、前記長手方向の他方の端部において前記支持体の外側面に開口する前記側部流路から、100kPa以下の圧力損失にて排出される。
好ましくは、前記複数の成膜セル内には、原料物質の化学反応を促進させる触媒が配置される。前記混合ガスは、前記原料物質が前記触媒存在下で化学反応することにより生成されたガスである。
【0008】
上述の目的および他の目的、特徴、態様および利点は、添付した図面を参照して以下に行うこの発明の詳細な説明により明らかにされる。
【図面の簡単な説明】
【0009】
第1の実施の形態に係る分離装置の側面図である。
分離膜複合体の斜視図である。
分離膜複合体の端面を示す図である。
分離膜複合体の縦断面の一部を拡大して示す図である。
分離膜複合体の端面を示す図である。
分離膜複合体の製造の流れを示す図である。
分離装置の断面図である。
混合ガスの分離の流れを示す図である。
分離装置の側面図である。
第2の実施の形態に係る分離装置の側面図である。
分離装置の断面図である。
混合ガス分離システムの側面図である。
膜反応装置の断面図である。
膜反応装置の運転方法を示す図である。
分離装置の側面図である。
【発明を実施するための形態】
【0010】
図1は、本発明の第1の実施の形態に係る混合ガス分離装置2を示す側面図である。混合ガス分離装置2(以下、単に「分離装置2」とも呼ぶ。)は、複数種類のガスを含む混合ガスから特定の種類のガスを分離させる装置である。
(【0011】以降は省略されています)
この特許をJ-PlatPat(特許庁公式サイト)で参照する
関連特許
日本碍子株式会社
把持方法
1か月前
日本碍子株式会社
熱交換器
1か月前
日本碍子株式会社
ウエハ載置台
1か月前
日本碍子株式会社
電気化学セル
13日前
日本碍子株式会社
亜鉛二次電池
1か月前
日本碍子株式会社
空調システム
1か月前
日本碍子株式会社
ハニカム構造体
1か月前
日本碍子株式会社
電気加熱式担体
1か月前
日本碍子株式会社
ハニカム構造体
1か月前
日本碍子株式会社
ハニカム構造体
1か月前
日本碍子株式会社
電気加熱式担体
1か月前
日本碍子株式会社
ハニカム構造体
1か月前
日本碍子株式会社
ハニカムフィルタ
1か月前
日本碍子株式会社
メタン製造反応器
1か月前
日本碍子株式会社
セラミックサセプター
1か月前
日本碍子株式会社
三相型ハニカムヒータ
1か月前
日本碍子株式会社
ウォーキングビーム炉
1か月前
日本碍子株式会社
半導体製造装置用ヒータ
27日前
日本碍子株式会社
浄水膜構造体の製造方法
22日前
日本碍子株式会社
センサ素子及びガスセンサ
1か月前
日本碍子株式会社
セラミックス部材の製造方法
1か月前
日本碍子株式会社
ロボットハンドおよびロボット
1か月前
日本碍子株式会社
セラミックス試料の酸分解方法
1か月前
日本碍子株式会社
ロボットハンドおよびロボット
1か月前
日本碍子株式会社
浄水膜構造体および浄水膜組立体
1か月前
日本碍子株式会社
ハニカム構造体及びハニカムヒータ
1か月前
日本碍子株式会社
放射性廃棄物の処理方法及び保管装置
1か月前
日本碍子株式会社
半導体製造装置用部材及びその再生方法
1か月前
日本碍子株式会社
半導体製造装置用部材及びその再生方法
1か月前
日本碍子株式会社
半導体製造装置用部材及びその再生方法
1か月前
日本碍子株式会社
トチの検査方法及びハニカム構造体の製造方法
1か月前
日本碍子株式会社
金属コンポジット焼結板およびリチウムイオン電池
1か月前
日本碍子株式会社
車両用空調システム、及び調湿デバイスの使用方法
20日前
日本碍子株式会社
センサ素子、ガスセンサ、および素子本体の製造方法
1か月前
日本碍子株式会社
ハニカム構造体、電気加熱式担体及び排気ガス浄化装置
1か月前
国立大学法人九州大学
耐水素材料及び耐水素構造部品
27日前
続きを見る
他の特許を見る