TOP
|
特許
|
意匠
|
商標
特許ウォッチ
Twitter
他の特許を見る
10個以上の画像は省略されています。
公開番号
2025144785
公報種別
公開特許公報(A)
公開日
2025-10-03
出願番号
2024044630
出願日
2024-03-21
発明の名称
ロボットハンドおよびロボット
出願人
日本碍子株式会社
,
エヌジーケイ・キルンテック株式会社
代理人
弁理士法人 快友国際特許事務所
主分類
B25J
19/00 20060101AFI20250926BHJP(手工具;可搬型動力工具;手工具用の柄;作業場設備;マニプレータ)
要約
【課題】本明細書は、ハンドアーム部が高温となることによりロボットハンドの動作不良が発生することを抑制することができる技術を開示する。
【解決手段】ロボットハンドは、熱処理炉から搬出された匣鉢を把持する。ロボットハンドは、前記匣鉢を把持するハンドアーム部と、前記ハンドアーム部を冷却する冷却機構と、を備えている。また、ロボットは、ロボットアームと、前記ロボットアームに取り付けられており、熱処理炉から搬出された匣鉢を把持するロボットハンドと、を備えている。
【選択図】図5
特許請求の範囲
【請求項1】
熱処理炉から搬出された匣鉢を把持するロボットハンドであって、
前記匣鉢を把持するハンドアーム部と、
前記ハンドアーム部を冷却する冷却機構と、を備えている、ロボットハンド。
続きを表示(約 960 文字)
【請求項2】
前記冷却機構は、前記ハンドアーム部に設けられている、請求項1に記載のロボットハンド。
【請求項3】
前記ハンドアーム部は、第1開口と第2開口と内部空間を有しているハンドアームを備えており、
前記冷却機構は、前記第1開口に取り付けられており、前記第1開口を介して前記内部空間に流体を供給し、前記第2開口から前記流体を排出する供給装置を備えている、請求項1に記載のロボットハンド。
【請求項4】
前記ハンドアーム部は、前記匣鉢を把持しているときに前記匣鉢と当接する当接部材をさらに備えており、
前記ハンドアームは、
前記当接部材が取り付けられている第1壁と、
前記第1開口が配置されており、前記第1壁と異なる第2壁と、を備えている、請求項3に記載のロボットハンド。
【請求項5】
前記供給装置は、前記第2開口に取り付けられており、
前記第2開口は、前記第2壁に配置されている、請求項4に記載のロボットハンド。
【請求項6】
前記流体は、冷却ガスまたは圧縮空気である、請求項3に記載のロボットハンド。
【請求項7】
前記ハンドアーム部を支持するベース部と、
前記ベース部をロボットアームに取り付け可能とする取付部材と、をさらに備えており、
前記取付部材の熱伝導率は、前記ベース部の熱伝導率よりも小さい、請求項1から6のいずれか一項に記載のロボットハンド。
【請求項8】
前記匣鉢が前記ハンドアーム部に把持されているときに前記匣鉢と前記ベース部との間に配置される遮熱部材と、をさらに備えている、請求項7に記載のロボットハンド。
【請求項9】
前記遮熱部材は、前記ベース部に取り付けられている、請求項8に記載のロボットハンド。
【請求項10】
ロボットアームと、
前記ロボットアームに取り付けられており、熱処理炉から搬出された匣鉢を把持するロボットハンドと、を備えており、
前記ロボットハンドは、
前記匣鉢を把持するハンドアーム部と、
前記ハンドアーム部を冷却する冷却機構と、を備えている、ロボット。
発明の詳細な説明
【技術分野】
【0001】
本明細書に開示する技術は、ロボットハンドおよびロボットに関する。
続きを表示(約 1,800 文字)
【背景技術】
【0002】
特許文献1には、ロボットハンドが開示されている。ロボットハンドは、匣鉢が熱処理炉から搬出された後に、ハンドアーム部を用いて、匣鉢を把持する。
【先行技術文献】
【特許文献】
【0003】
特許第6949260号公報
【発明の概要】
【発明が解決しようとする課題】
【0004】
上記のロボットハンドでは、高温の匣鉢がハンドアーム部により把持される。これにより、ハンドアーム部が高温となり、ロボットハンドの動作不良が発生することがある。
【0005】
本明細書は、ハンドアーム部が高温となることによりロボットハンドの動作不良が発生することを抑制することができる技術を開示する。
【課題を解決するための手段】
【0006】
本明細書に開示する技術の第1の態様では、ロボットハンドは、熱処理炉から搬出された匣鉢を把持する。ロボットハンドは、前記匣鉢を把持するハンドアーム部と、前記ハンドアーム部を冷却する冷却機構と、を備えている。
【0007】
上記の構成によれば、ハンドアーム部は、冷却機構により冷却される。これにより、ハンドアーム部が高温の匣鉢を把持しても、ハンドアーム部が高温となることを抑制することができる。これにより、ロボットハンドの動作不良が発生することを抑制することができる。
【0008】
本明細書に開示する技術の第10の態様では、ロボットは、ロボットアームと、前記ロボットアームに取り付けられており、熱処理炉から搬出された匣鉢を把持するロボットハンドと、を備えている。前記ロボットハンドは、前記匣鉢を把持するハンドアーム部と、前記ハンドアーム部を冷却する冷却機構と、を備えている。
【0009】
上記の構成によれば、上記のロボットハンドの効果と同様の効果を奏することができる。
【図面の簡単な説明】
【0010】
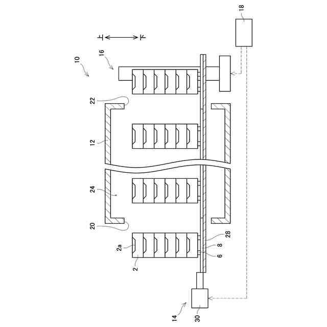
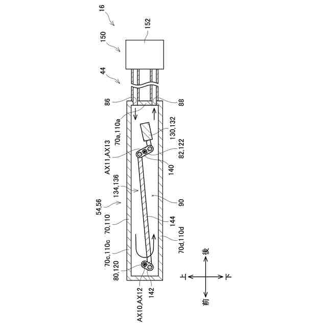
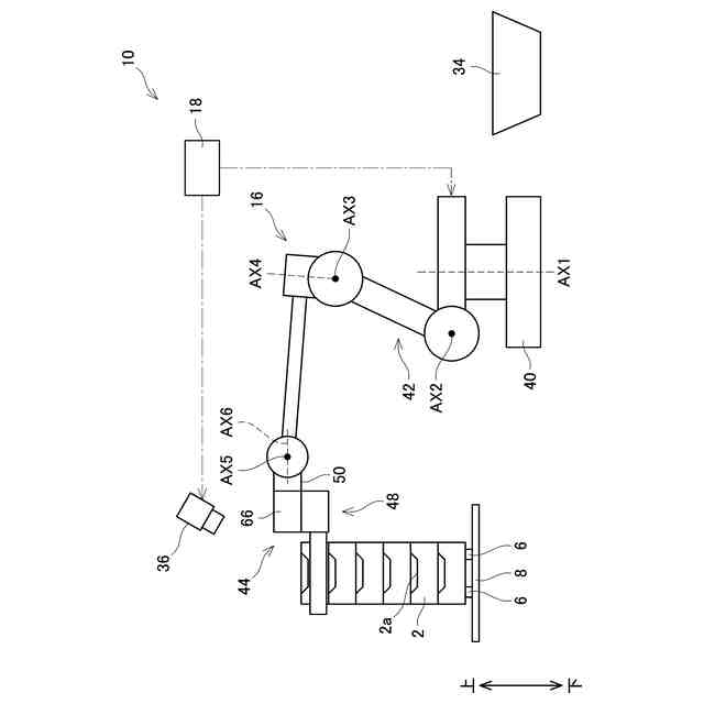
第1実施例の熱処理システムの概略断面図である。
第1実施例の熱処理システムの概略図である。
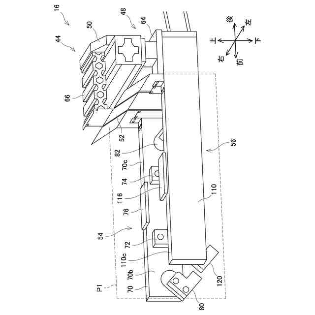
第1実施例のロボットハンドの斜視図である。
第1実施例のロボットハンドの右ハンドアーム部の斜視図である。
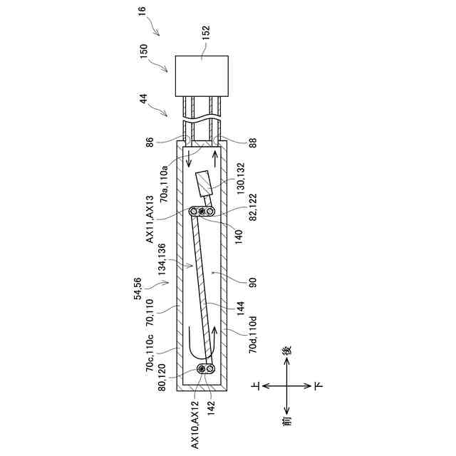
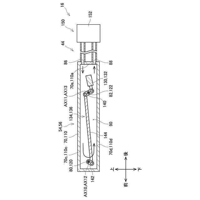
第1実施例において、第1右把持部材と第2右把持部材と第1左把持部材と第2左把持部材が第2位置に位置するときの第1右ハンドアーム部と左ハンドアーム部と冷却機構の断面図である。
第1実施例のロボットハンドの左ハンドアーム部の斜視図である。
第1実施例において、第1右把持部材と第2右把持部材と第1左把持部材と第2左把持部材が第1位置に位置するときの第1右ハンドアーム部と左ハンドアーム部と冷却機構の断面図である。
第1実施例において、シャッタが開位置に位置するときの匣鉢とハンドアームの断面図である。
第1実施例において、シャッタが閉位置に位置するときの匣鉢とハンドアームの断面図である。
第1実施例での準備工程後の匣鉢とハンドアームの上面図である。
第1実施例での第1把持工程または第2把持工程後の匣鉢とハンドアームの上面図である。
第1実施例での第1把持工程または第2把持工程後の匣鉢とハンドアームの側面図である。
第1実施例での持ち上げ工程後の匣鉢とハンドアームの側面図である。
第1実施例での位置決め工程後の匣鉢とハンドアームの側面図である。
第1実施例での第1反転工程後の匣鉢とハンドアームの側面図である。
第1実施例での第2移動工程後の匣鉢とハンドアームの側面図である。
第1実施例での把持解除工程後の匣鉢とハンドアームの側面図である。
第2実施例での第1把持工程後の匣鉢とハンドアームの側面図である。
第2実施例のハンドアームの上面図である。
第2実施例において、位置決め工程で第2右押付部材と第3右押付部材と第2左押付部材と第3左押付部材が移動する前の匣鉢とハンドアームの側面図である。
第2実施例での位置決め工程後の匣鉢とハンドアームの側面図である。
【発明を実施するための形態】
(【0011】以降は省略されています)
この特許をJ-PlatPat(特許庁公式サイト)で参照する
関連特許
日本碍子株式会社
熱交換器
1か月前
日本碍子株式会社
ウエハ載置台
1か月前
日本碍子株式会社
電気化学セル
13日前
日本碍子株式会社
亜鉛二次電池
1か月前
日本碍子株式会社
空調システム
1か月前
日本碍子株式会社
ハニカム構造体
1か月前
日本碍子株式会社
電気加熱式担体
1か月前
日本碍子株式会社
ハニカム構造体
1か月前
日本碍子株式会社
電気加熱式担体
1か月前
日本碍子株式会社
ハニカム構造体
1か月前
日本碍子株式会社
ハニカムフィルタ
1か月前
日本碍子株式会社
メタン製造反応器
1か月前
日本碍子株式会社
三相型ハニカムヒータ
1か月前
日本碍子株式会社
セラミックサセプター
1か月前
日本碍子株式会社
ウォーキングビーム炉
1か月前
日本碍子株式会社
半導体製造装置用ヒータ
27日前
日本碍子株式会社
浄水膜構造体の製造方法
22日前
日本碍子株式会社
センサ素子及びガスセンサ
1か月前
日本碍子株式会社
セラミックス部材の製造方法
1か月前
日本碍子株式会社
セラミックス試料の酸分解方法
1か月前
日本碍子株式会社
浄水膜構造体および浄水膜組立体
1か月前
日本碍子株式会社
ハニカム構造体及びハニカムヒータ
1か月前
日本碍子株式会社
放射性廃棄物の処理方法及び保管装置
1か月前
日本碍子株式会社
半導体製造装置用部材及びその再生方法
1か月前
日本碍子株式会社
半導体製造装置用部材及びその再生方法
1か月前
日本碍子株式会社
半導体製造装置用部材及びその再生方法
1か月前
日本碍子株式会社
トチの検査方法及びハニカム構造体の製造方法
1か月前
日本碍子株式会社
金属コンポジット焼結板およびリチウムイオン電池
1か月前
日本碍子株式会社
車両用空調システム、及び調湿デバイスの使用方法
20日前
日本碍子株式会社
センサ素子、ガスセンサ、および素子本体の製造方法
1か月前
日本碍子株式会社
ハニカム構造体、電気加熱式担体及び排気ガス浄化装置
1か月前
国立大学法人九州大学
耐水素材料及び耐水素構造部品
27日前
日本碍子株式会社
ハニカム構造体、成形原料組成物及び多孔質体の製造方法
1か月前
日本碍子株式会社
複合基板
1か月前
株式会社リコー
ノード、データ共有方法、及びプログラム
1か月前
日本碍子株式会社
混合ガス分離方法
5日前
続きを見る
他の特許を見る