TOP
|
特許
|
意匠
|
商標
特許ウォッチ
Twitter
他の特許を見る
10個以上の画像は省略されています。
公開番号
2025155656
公報種別
公開特許公報(A)
公開日
2025-10-14
出願番号
2024181488
出願日
2024-10-17
発明の名称
ウエハ載置台
出願人
日本碍子株式会社
代理人
弁理士法人アイテック国際特許事務所
主分類
H01L
21/683 20060101AFI20251002BHJP(基本的電気素子)
要約
【課題】絶縁性ガス通過プラグのうち導電性プレート側の端部周辺での放電を抑制する。
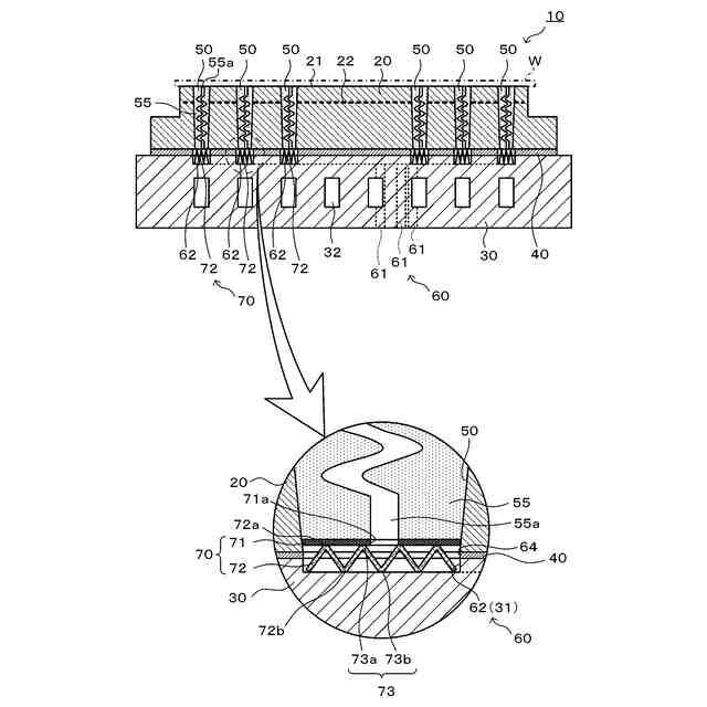
【解決手段】ウエハ載置台10は、上面にウエハ載置面21を有し、電極22を内蔵するセラミックプレート20と、セラミックプレート20の下面に接合された導電性プレート30と、セラミックプレート20を貫通するセラミックプレート貫通部50と、セラミックプレート貫通部50に設けられ内部をガスが通過可能な緻密質プラグ55と、少なくとも導電性プレート30の内部に設けられ、セラミックプレート貫通部50に連通するガス導入通路60と、ガス導入通路60内に設けられ、緻密質プラグ55の下面と接触し、導電性プレート30と電気的に導通し、緻密質プラグ55とガス導入通路60との間のガスの通過を許容する導電性ガス通過部70と、を備える。導電性ガス通過部70は、緻密質プラグ55を弾性力で上方に押圧する板バネ72を有する。
【選択図】図2
特許請求の範囲
【請求項1】
上面にウエハ載置面を有し、電極を内蔵するセラミックプレートと、
前記セラミックプレートの下面に接合された導電性プレートと、
前記セラミックプレートを貫通するセラミックプレート貫通部と、
前記セラミックプレート貫通部に設けられ内部をガスが通過可能な絶縁性ガス通過プラグと、
少なくとも前記導電性プレートの内部に設けられ、前記セラミックプレート貫通部に連通するガス導入通路と、
前記ガス導入通路内に設けられ、前記絶縁性ガス通過プラグの下面と接触し、前記導電性プレートと電気的に導通し、前記絶縁性ガス通過プラグと前記ガス導入通路との間のガスの通過を許容する導電性ガス通過部と、
を備え、
前記導電性ガス通過部は、前記絶縁性ガス通過プラグを弾性力で上方に押圧する板バネを有する、
ウエハ載置台。
続きを表示(約 1,100 文字)
【請求項2】
請求項1に記載のウエハ載置台であって、
前記板バネは、前記絶縁性ガス通過プラグに上方から押圧されることで上下方向に垂直な横方向に伸びた状態で配設されている、
ウエハ載置台。
【請求項3】
請求項2に記載のウエハ載置台であって、
前記板バネは、上下方向に沿って折り返された複数の折り返し部を有する、
ウエハ載置台。
【請求項4】
請求項3に記載のウエハ載置台であって、
前記複数の折り返し部は、上から下に向かって折り返された第1折り返し部と、下から上に向かって折り返された第2折り返し部と、を有し、
前記第1折り返し部は、水平方向に沿って延びており且つ上面が前記板バネの上面を構成する第1板状部を有し、
前記第2折り返し部は、水平方向に沿って延びており且つ下面が前記板バネの下面を構成する第2板状部を有する、
ウエハ載置台。
【請求項5】
請求項1~4のいずれか1項に記載のウエハ載置台であって、
前記導電性ガス通過部は、前記絶縁性ガス通過プラグの前記下面を被覆する被覆層を有する、
ウエハ載置台。
【請求項6】
請求項1~4のいずれか1項に記載のウエハ載置台であって、
前記絶縁性ガス通過プラグは、ガス内部流路を有する緻密体であるか、または、多孔質体である、
ウエハ載置台。
【請求項7】
請求項1~4のいずれか1項に記載のウエハ載置台であって、
前記絶縁性ガス通過プラグは、ガス内部流路を有する緻密体であり、
前記ガス内部流路の下端の開口は、平面視で、前記ガス導入通路内での前記板バネの上面の位置ずれによる移動範囲の外に位置している、
ウエハ載置台。
【請求項8】
請求項1~4のいずれか1項に記載のウエハ載置台であって、
前記板バネは、ガスの通過を許容する孔を有する、
ウエハ載置台。
【請求項9】
請求項5に記載のウエハ載置台であって、
前記セラミックプレートの前記下面のうち前記ガス導入通路に露出する部分を被覆する導電体層、
を備え、
前記板バネは、前記導電体層に接触している、
ウエハ載置台。
【請求項10】
請求項5に記載のウエハ載置台であって、
前記セラミックプレートの前記下面のうち前記ガス導入通路内に露出する部分を被覆する導電体層と、
前記導電性プレートと前記導電体層とにそれぞれ接触している導電性の導通部材と、
を備えたウエハ載置台。
(【請求項11】以降は省略されています)
発明の詳細な説明
【技術分野】
【0001】
本発明は、ウエハ載置台に関する。
続きを表示(約 1,700 文字)
【背景技術】
【0002】
従来、上面にウエハ載置面を有するセラミックプレートと、セラミックプレートの下面に接合されガス導入通路を有するベースプレートとを備えたウエハ載置台が知られている。特許文献1では、こうしたウエハ載置台において、セラミックプレートの貫通孔内に配置された絶縁性の第1多孔質部と、ベースプレートのうちセラミックプレート側に設けられた凹部に第1多孔質部と対向するように嵌め込まれた絶縁性の第2多孔質部と、が設けられている。ガス導入路に供給されたガスは、第2多孔質部及び第1多孔質部を通過してウエハ載置面とウエハとの間の空間に流入し、対象物の冷却に用いられる。第1多孔質部及び第2多孔質部が存在することで、ガス導入通路からウエハ載置面までのガスの流量を確保しつつ、ウエハを処理する際のプラズマに起因する放電(アーク放電)の発生を抑制できると記載されている。
【先行技術文献】
【特許文献】
【0003】
特開2020-72262号公報
【発明の概要】
【発明が解決しようとする課題】
【0004】
しかし、特許文献1のように絶縁性の第2多孔質部が存在していても、第1多孔質部のうちベースプレート側の端部周辺において放電が発生する場合があった。
【0005】
本発明はこのような課題を解決するためになされたものであり、絶縁性ガス通過プラグのうち導電性プレート側の端部周辺での放電を抑制することを主目的とする。
【課題を解決するための手段】
【0006】
本発明は、上述した主目的を達成するために以下の手段を採った。
【0007】
[1]本発明のウエハ載置台は、
上面にウエハ載置面を有し、電極を内蔵するセラミックプレートと、
前記セラミックプレートの下面に接合された導電性プレートと、
前記セラミックプレートを貫通するセラミックプレート貫通部と、
前記セラミックプレート貫通部に設けられ内部をガスが通過可能な絶縁性ガス通過プラグと、
少なくとも前記導電性プレートの内部に設けられ、前記セラミックプレート貫通部に連通するガス導入通路と、
前記ガス導入通路内に設けられ、前記絶縁性ガス通過プラグの下面と接触し、前記導電性プレートと電気的に導通し、前記絶縁性ガス通過プラグと前記ガス導入通路との間のガスの通過を許容する導電性ガス通過部と、
を備え、
前記導電性ガス通過部は、前記絶縁性ガス通過プラグを弾性力で上方に押圧する板バネを有する、
ものである。
【0008】
このウエハ載置台では、導電性ガス通過部が、ガス導入通路内に設けられ、絶縁性ガス通過プラグの下面と接触し、導電性プレートと電気的に導通している。これにより、例えば絶縁性ガス通過プラグの下面側に絶縁性の多孔質部材が存在する場合と比較して、絶縁性ガス通過プラグのうち導電性プレート側の端部周辺に電位差が生じにくくなる。したがって、絶縁性ガス通過プラグのうち導電性プレート側の端部周辺での放電を抑制できる。また、板バネは絶縁性ガス通過プラグを弾性力で上方に押圧しているから、導電性ガス通過部のうち絶縁性ガス通過プラグとの接触部分から導電性プレートまでの導通が保たれやすい。
【0009】
[2]上述したウエハ載置台(前記[1]に記載のウエハ載置台)において、前記板バネは、前記絶縁性ガス通過プラグに上方から押圧されることで上下方向に垂直な横方向に伸びた状態で配設されていてもよい。こうすれば、板バネが横方向に伸びて広がることで、絶縁性ガス通過プラグの真下において板バネが存在しない領域を少なくしやすい。これにより、絶縁性ガス通過プラグのうち導電性プレート側の端部周辺での放電をより抑制できる。
【0010】
[3]上述したウエハ載置台(前記[2]に記載のウエハ載置台)において、前記板バネは、上下方向に沿って折り返された複数の折り返し部を有していてもよい。
(【0011】以降は省略されています)
この特許をJ-PlatPat(特許庁公式サイト)で参照する
関連特許
日本碍子株式会社
電気化学セル
2日前
日本碍子株式会社
空調システム
24日前
日本碍子株式会社
ウエハ載置台
25日前
日本碍子株式会社
電気加熱式担体
29日前
日本碍子株式会社
ハニカム構造体
29日前
日本碍子株式会社
ハニカム構造体
29日前
日本碍子株式会社
ハニカム構造体
1か月前
日本碍子株式会社
ハニカムフィルタ
29日前
日本碍子株式会社
メタン製造反応器
29日前
日本碍子株式会社
セラミックサセプター
23日前
日本碍子株式会社
三相型ハニカムヒータ
29日前
日本碍子株式会社
浄水膜構造体の製造方法
11日前
日本碍子株式会社
半導体製造装置用ヒータ
16日前
日本碍子株式会社
センサ素子及びガスセンサ
25日前
日本碍子株式会社
ハニカム構造体及びハニカムヒータ
29日前
日本碍子株式会社
半導体製造装置用部材及びその再生方法
29日前
日本碍子株式会社
半導体製造装置用部材及びその再生方法
29日前
日本碍子株式会社
半導体製造装置用部材及びその再生方法
29日前
日本碍子株式会社
トチの検査方法及びハニカム構造体の製造方法
29日前
日本碍子株式会社
車両用空調システム、及び調湿デバイスの使用方法
9日前
日本碍子株式会社
金属コンポジット焼結板およびリチウムイオン電池
29日前
国立大学法人九州大学
耐水素材料及び耐水素構造部品
16日前
日本碍子株式会社
ハニカム構造体、電気加熱式担体及び排気ガス浄化装置
29日前
日本碍子株式会社
複合基板
25日前
日本碍子株式会社
ハニカム構造体、成形原料組成物及び多孔質体の製造方法
29日前
株式会社リコー
ノード、データ共有方法、及びプログラム
29日前
日本碍子株式会社
リジェネレイティブバーナ、工業炉、焼成品の製造方法及び加熱処理品の製造方法
29日前
APB株式会社
蓄電セル
15日前
東ソー株式会社
絶縁電線
17日前
個人
フレキシブル電気化学素子
29日前
株式会社ユーシン
操作装置
29日前
マクセル株式会社
電源装置
9日前
ローム株式会社
半導体装置
16日前
株式会社東芝
端子台
9日前
ローム株式会社
半導体装置
1か月前
ローム株式会社
半導体装置
1か月前
続きを見る
他の特許を見る