TOP
|
特許
|
意匠
|
商標
特許ウォッチ
Twitter
他の特許を見る
公開番号
2025150929
公報種別
公開特許公報(A)
公開日
2025-10-09
出願番号
2024052093
出願日
2024-03-27
発明の名称
ハニカム構造体
出願人
日本碍子株式会社
代理人
アクシス国際弁理士法人
主分類
C04B
38/00 20060101AFI20251002BHJP(セメント;コンクリート;人造石;セラミックス;耐火物)
要約
【課題】複数のハニカム構造部を接続して用いる場合に、発熱しない領域を小さくできるハニカム構造体を提供する。
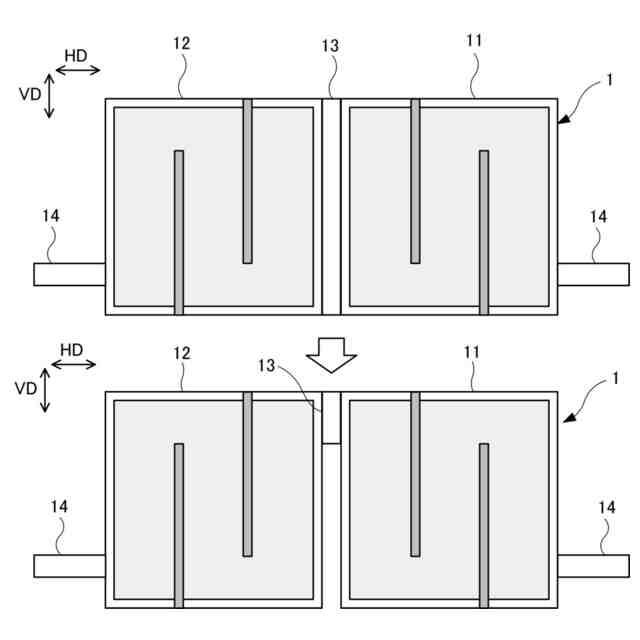
【解決手段】本発明によるハニカム構造体1は、スリット103をそれぞれ有する第1ハニカム構造部11及び第2ハニカム構造部12と、第1ハニカム構造部11及び第2ハニカム構造部12の互いに向かい合う外周壁100を部分的に接続する導電性接続体13とを備え、複数のスリット103は、第1スリット1031と第2スリット1032とを含み、第1ハニカム構造部11及び第2ハニカム構造部12は、互いに向かい合う外周壁100の横方向HDに関する最寄りのスリット103が、第1スリット1031及び第2スリット1032のうちの同じものとなるように配置されており、導電性接続体13は、その同じものの基端側において第1ハニカム構造部11及び第2ハニカム構造部12の外周壁100を縦方向VDに部分的に接続している。
【選択図】図1
特許請求の範囲
【請求項1】
外周壁と、前記外周壁の内側に配設され、一方の端面から他方の端面まで延びる流路を形成する複数のセルを区画形成する隔壁と、互いに離間して配置され、前記外周壁の外縁との間及び互いの間に通電経路を規定するように構成された複数のスリットとをそれぞれ有し、前記外周壁が互いに向かい合うように配置された第1ハニカム構造部及び第2ハニカム構造部と、
前記第1ハニカム構造部及び前記第2ハニカム構造部の互いに向かい合う前記外周壁を部分的に接続する導電性接続体と
を備え、
前記セルの延在方向に直交する前記第1ハニカム構造部及び第2ハニカム構造部の面において互いに直交する方向を縦方向及び横方向としたとき、前記複数のスリットは、前記縦方向に係る一端側を基端とするとともに他端側を先端とする第1スリットと、前記縦方向に係る他端側を基端とするとともに一端側を先端とする第2スリットとを含み、前記通電経路は、電流が、前記第1スリット及び第2スリットに沿って前記縦方向に流れるとともに、前記第1スリット及び第2スリットの前記先端の先で折り返しながら、前記横方向に進む迂回路であり、
前記第1ハニカム構造部及び第2ハニカム構造部は、互いに向かい合う前記外周壁の前記横方向に関する最寄りの前記スリットが、前記第1スリット及び前記第2スリットのうちの同じものとなるように配置されており、
前記導電性接続体は、前記同じものの基端側において前記第1ハニカム構造部及び第2ハニカム構造部の前記外周壁を前記縦方向に部分的に接続している、
ハニカム構造体。
続きを表示(約 820 文字)
【請求項2】
前記複数のスリットは、前記横方向に延びる第3スリットをさらに含み、
前記第1ハニカム構造部の前記迂回路は、前記第3スリットによって隔離された第1迂回路及び第2迂回路を含み、
前記第2ハニカム構造部の前記迂回路は、前記第3スリットによって隔離された第3迂回路及び第4迂回路と、前記第3迂回路と前記第4迂回路とを接続する折返路とを含み、
前記導電性接続体は、
前記第1ハニカム構造部の前記第1迂回路と前記第2ハニカム構造部の前記第3迂回路とを接続する第1接続体と、
前記第2ハニカム構造部の前記第4迂回路と前記第1ハニカム構造部の前記第2迂回路とを接続する第2接続体と
を含む、
請求項1に記載のハニカム構造体。
【請求項3】
前記第1ハニカム構造部及び前記第2ハニカム構造部の互いに向かい合う前記外周壁は、前記横方向に係る前記導電性接続体の側面に接する第1部分と、前記第1部分から前記縦方向に延びる第2部分とを含み、
前記第1ハニカム構造部及び前記第2ハニカム構造部の前記第2部分を接合する絶縁体をさらに備えている、
請求項1又は2に記載のハニカム構造体。
【請求項4】
前記第1ハニカム構造部及び前記第2ハニカム構造部の互いに向かい合う前記外周壁は、前記横方向に係る前記導電性接続体の側面に接する第1部分と、前記第1部分から前記縦方向に延びる第2部分とを含み、
絶縁コートを介して前記第1ハニカム構造部及び前記第2ハニカム構造部の前記第2部分を接続する第2部分接続体と
をさらに備える、
請求項1又は2に記載のハニカム構造体。
【請求項5】
前記第1ハニカム構造部及び第2ハニカム構造部が導電性セラミックスを主成分としている、請求項1又は2に記載のハニカム構造体。
発明の詳細な説明
【技術分野】
【0001】
本発明は、ハニカム構造体に関する。
続きを表示(約 1,900 文字)
【背景技術】
【0002】
下記の特許文献1には「導電性セラミックスを主成分としてヒータ本体を形成し、該ヒータ本体にヒータ貫通孔を設けてなるハニカムヒータにおいて、該ヒータ本体に該ヒータ本体の有効長、有効幅を変化させて抵抗値を変化させる切込溝を設けてなることを特徴とするハニカムヒータ」が記載されている。
【先行技術文献】
【特許文献】
【0003】
特開平7-085952号公報
【発明の概要】
【発明が解決しようとする課題】
【0004】
上記の特許文献1に記載されているようなハニカム構造部(ヒータ本体)を複数準備し、それらの外周壁を接続してより大きなハニカム構造体(ハニカムヒータ)を形成するとき、外周壁同士を直接的に接続した場合、図7に示すように電流が流れずに発熱しない領域が生じることがあり好ましくない。
【0005】
本発明は、上記のような課題を解決するためになされたものであり、その目的の一つは、複数のハニカム構造部を接続して用いる場合に、発熱しない領域を小さくできるハニカム構造体を提供することである。
【課題を解決するための手段】
【0006】
項目1.本発明は、一実施形態において、外周壁と、外周壁の内側に配設され、一方の端面から他方の端面まで延びる流路を形成する複数のセルを区画形成する隔壁と、互いに離間して配置され、外周壁の外縁との間及び互いの間に通電経路を規定するように構成された複数のスリットとをそれぞれ有し、外周壁が互いに向かい合うように配置された第1ハニカム構造部及び第2ハニカム構造部と、第1ハニカム構造部及び第2ハニカム構造部の互いに向かい合う外周壁を部分的に接続する導電性接続体とを備え、セルの延在方向に直交する第1ハニカム構造部及び第2ハニカム構造部の面において互いに直交する方向を縦方向及び横方向としたとき、複数のスリットは、縦方向に係る一端側を基端とするとともに他端側を先端とする第1スリットと、縦方向に係る他端側を基端とするとともに一端側を先端とする第2スリットとを含み、通電経路は、電流が、第1スリット及び第2スリットに沿って縦方向に流れるとともに、第1スリット及び第2スリットの先端の先で折り返しながら、横方向に進む迂回路であり、第1ハニカム構造部及び第2ハニカム構造部は、互いに向かい合う外周壁の横方向に関する最寄りのスリットが、第1スリット及び第2スリットのうちの同じものとなるように配置されており、導電性接続体は、同じものの基端側において第1ハニカム構造部及び第2ハニカム構造部の外周壁を縦方向に部分的に接続している、ハニカム構造体に関する。
【0007】
項目2.本発明は、複数のスリットは、横方向に延びる第3スリットをさらに含み、第1ハニカム構造部の迂回路は、第3スリットによって隔離された第1迂回路及び第2迂回路を含み、第2ハニカム構造部の迂回路は、第3スリットによって隔離された第3迂回路及び第4迂回路と、第3迂回路と第4迂回路とを接続する折返路とを含み、導電性接続体は、第1ハニカム構造部の第1迂回路と第2ハニカム構造部の第3迂回路とを接続する第1接続体と、第2ハニカム構造部の第4迂回路と第1ハニカム構造部の第2迂回路とを接続する第2接続体とを含む、項目1に記載のハニカム構造体に関していてよい。
【0008】
項目3.本発明は、第1ハニカム構造部及び第2ハニカム構造部の互いに向かい合う外周壁は、横方向に係る導電性接続体の側面に接する第1部分と、第1部分から縦方向に延びる第2部分とを含み、第1ハニカム構造部及び第2ハニカム構造部の第2部分を接合する絶縁体をさらに備えている、項目1又は2に記載のハニカム構造体に関していてよい。
【0009】
項目4.本発明は、第1ハニカム構造部及び第2ハニカム構造部の互いに向かい合う外周壁は、横方向に係る導電性接続体の側面に接する第1部分と、第1部分から縦方向に延びる第2部分とを含み、絶縁コートを介して第1ハニカム構造部及び第2ハニカム構造部の第2部分を接続する第2部分接続体とをさらに備える、項目1から3までのいずれか1項に記載のハニカム構造体に関していてよい。
【0010】
項目5.本発明は、第1ハニカム構造部及び第2ハニカム構造部が導電性セラミックスを主成分としている、項目1から4までのいずれか1項に記載のハニカム構造体に関していてよい。
【発明の効果】
(【0011】以降は省略されています)
この特許をJ-PlatPat(特許庁公式サイト)で参照する
関連特許
日本碍子株式会社
把持方法
1か月前
日本碍子株式会社
熱交換器
29日前
日本碍子株式会社
ウエハ載置台
22日前
日本碍子株式会社
亜鉛二次電池
28日前
日本碍子株式会社
空調システム
21日前
日本碍子株式会社
電気加熱式担体
26日前
日本碍子株式会社
ハニカム構造体
26日前
日本碍子株式会社
ハニカム構造体
27日前
日本碍子株式会社
電気加熱式担体
27日前
日本碍子株式会社
ハニカム構造体
26日前
日本碍子株式会社
ハニカム構造体
1か月前
日本碍子株式会社
ハニカムフィルタ
26日前
日本碍子株式会社
メタン製造反応器
26日前
日本碍子株式会社
三相型ハニカムヒータ
26日前
日本碍子株式会社
ウォーキングビーム炉
28日前
日本碍子株式会社
セラミックサセプター
20日前
日本碍子株式会社
半導体製造装置用ヒータ
13日前
日本碍子株式会社
浄水膜構造体の製造方法
8日前
日本碍子株式会社
センサ素子及びガスセンサ
22日前
日本碍子株式会社
セラミックス部材の製造方法
28日前
日本碍子株式会社
ロボットハンドおよびロボット
1か月前
日本碍子株式会社
セラミックス試料の酸分解方法
27日前
日本碍子株式会社
浄水膜構造体および浄水膜組立体
27日前
日本碍子株式会社
ハニカム構造体及びハニカムヒータ
26日前
日本碍子株式会社
放射性廃棄物の処理方法及び保管装置
27日前
日本碍子株式会社
半導体製造装置用部材及びその再生方法
26日前
日本碍子株式会社
半導体製造装置用部材及びその再生方法
26日前
日本碍子株式会社
半導体製造装置用部材及びその再生方法
26日前
日本碍子株式会社
トチの検査方法及びハニカム構造体の製造方法
26日前
日本碍子株式会社
金属コンポジット焼結板およびリチウムイオン電池
26日前
日本碍子株式会社
車両用空調システム、及び調湿デバイスの使用方法
6日前
日本碍子株式会社
センサ素子、ガスセンサ、および素子本体の製造方法
29日前
日本碍子株式会社
ハニカム構造体、電気加熱式担体及び排気ガス浄化装置
26日前
国立大学法人九州大学
耐水素材料及び耐水素構造部品
13日前
日本碍子株式会社
ハニカム構造体、成形原料組成物及び多孔質体の製造方法
26日前
日本碍子株式会社
複合基板
22日前
続きを見る
他の特許を見る