TOP
|
特許
|
意匠
|
商標
特許ウォッチ
Twitter
他の特許を見る
公開番号
2025169445
公報種別
公開特許公報(A)
公開日
2025-11-12
出願番号
2025142138,2024556905
出願日
2025-08-28,2022-11-09
発明の名称
電力需給管理システム、電力需給管理方法、電力需給管理プログラムおよび記録媒体
出願人
日本碍子株式会社
代理人
個人
,
個人
,
個人
,
個人
主分類
H02J
3/32 20060101AFI20251105BHJP(電力の発電,変換,配電)
要約
【課題】再生可能エネルギー発電を効率的に利用する電力需給管理システムを提供する。
【解決手段】電力需給管理システム10aは、第1発電設備(発電所)、再生可能エネルギー発電する第2発電設備(再生可能エネルギー発電設備)、出力抑制の代替を行う代替機構(蓄電池)及びサーバー21aを備える。サーバーは、第2発電設備への出力抑制時間帯の情報及び出力抑制量の情報を取得する出力抑制情報取得部41、代替機構による出力抑制の代替可能時間帯の情報及び出力抑制可能電力量の情報を含む出力抑制代替可能情報を取得する出力抑制代替可能情報取得部42、出力抑制情報及び出力抑制代替可能情報に基づいて、出力抑制量の全量が代替機構による出力抑制の代替が可能であるか否かを判断する判断部43並びに判断部による判断結果に応じて、代替機構による第2発電設備から出力する電力の出力抑制の代替状況を制御する出力抑制代替状況制御部44を備える。
【選択図】図2
特許請求の範囲
【請求項1】
送配電エリア内に安定して電力を供給可能な第1発電設備と、再生可能エネルギーを利用して発電し、前記送配電エリア内に電力を供給可能な第2発電設備と、前記第2発電設備により発電された電力の出力抑制の代替を行う代替機構と、前記第2発電設備および前記代替機構による電力の需給を制御するサーバーと、を備え、前記送配電エリア内の電力の需給を管理する電力需給管理システムであって、
前記サーバーは、
前記第2発電設備への出力抑制時間帯の情報および出力抑制量の情報を含む前記第2発電設備への出力抑制情報を取得する出力抑制情報取得部と、
前記代替機構による電力の出力抑制の代替が可能な時間帯の情報および出力抑制の代替可能な電力量の情報を含む出力抑制の代替可能情報を取得する出力抑制代替可能情報取得部と、
前記出力抑制情報取得部により取得された前記出力抑制情報および前記出力抑制代替可能情報取得部により取得された前記出力抑制の代替可能情報に基づいて、前記出力抑制量の全量が前記代替機構による出力抑制の代替が可能であるか否かを判断する判断部と、
前記判断部による判断結果に応じて、前記代替機構による前記第2発電設備から出力された電力の出力抑制の代替状況を制御する出力抑制代替状況制御部と、を備え、
前記出力抑制代替状況制御部は、前記判断部により前記出力抑制量の全量が前記代替機構による出力抑制の代替が可能であると判断されなければ、前記送配電エリア外に配置される代替機構を利用して、前記第2発電設備から出力された電力の出力抑制の代替状況を制御する、電力需給管理システム。
続きを表示(約 2,700 文字)
【請求項2】
前記代替機構は、複数設けられており、
前記出力抑制代替状況制御部は、前記判断部により前記出力抑制量の全量が前記代替機構による出力抑制の代替が可能であると判断されれば、複数の前記代替機構のうちのいずれかを選択して出力抑制の代替をするよう制御する、請求項1に記載の電力需給管理システム。
【請求項3】
前記代替機構は、蓄電池、燃料電池、自然冷媒ヒートポンプ給湯器および、生産設備を含む電気設備の稼働時間調整のうちの少なくともいずれか1つを含む、請求項1または請求項2に記載の電力需給管理システム。
【請求項4】
前記出力抑制代替可能情報取得部は、前記代替機構が蓄電池または燃料電池であれば、運用パターン、充電率、温度、劣化度および応動実績のうちの少なくともいずれか1つを用いて出力抑制の代替が可能な電力量を導出する、請求項3に記載の電力需給管理システム。
【請求項5】
前記出力抑制情報取得部は、外部から発信された前記出力抑制情報を前記サーバーが受信することにより前記出力抑制情報を取得する、請求項1に記載の電力需給管理システム。
【請求項6】
送配電エリア内に安定して電力を供給可能な第1発電設備と、再生可能エネルギーを利用して発電し、前記送配電エリア内に電力を供給可能な第2発電設備と、前記第2発電設備により発電された電力の出力抑制の代替を行う代替機構と、前記第2発電設備および前記代替機構による電力の需給を制御するサーバーと、を備え、前記送配電エリア内の電力の需給を管理する電力需給管理システムに用いられる電力需給管理方法であって、
前記第2発電設備への出力抑制時間帯の情報および出力抑制量の情報を含む前記第2発電設備への出力抑制情報を取得する工程と、
前記代替機構による電力の出力抑制の代替が可能な時間帯の情報および出力抑制の代替が可能な電力量の情報を含む出力抑制代替可能情報を取得する工程と、
取得された前記出力抑制情報および取得された前記出力抑制代替可能情報に基づいて、前記出力抑制量の全量が前記代替機構による出力抑制の代替が可能であるか否かを判断する工程と、
判断結果に応じて、前記代替機構による前記第2発電設備から出力された電力の出力抑制の代替状況を制御する工程と、を備え、
前記電力の出力抑制の代替状況を制御する工程は、前記出力抑制の代替が可能であるか否かを判断する工程により前記出力抑制量の全量が前記代替機構による出力抑制の代替が可能であると判断されなければ、前記送配電エリア外に配置される代替機構を利用して、前記第2発電設備から出力された電力の出力抑制の代替状況を制御する、電力需給管理方法。
【請求項7】
送配電エリア内に安定して電力を供給可能な第1発電設備と、再生可能エネルギーを利用して発電し、前記送配電エリア内に電力を供給可能な第2発電設備と、前記第2発電設備により発電された電力の出力抑制の代替を行う代替機構と、前記第2発電設備および前記代替機構による電力の需給を制御するサーバーと、を備え、前記送配電エリア内の電力の需給を管理する電力需給管理システム用プログラムであって、
前記サーバーを、
前記第2発電設備への出力抑制時間帯の情報および出力抑制量の情報を含む前記第2発電設備への出力抑制情報を取得する出力抑制情報取得部、
前記代替機構による電力の出力抑制の代替が可能な時間帯の情報および出力抑制の代替が可能な電力量の情報を含む出力抑制代替可能情報を取得する出力抑制代替可能情報取得部、
前記出力抑制情報取得部により取得された前記出力抑制情報および前記出力抑制代替可能情報取得部により取得された前記出力抑制代替可能情報に基づいて、前記出力抑制量の全量が前記代替機構による出力抑制の代替が可能であるか否かを判断する判断部、および
前記判断部による判断結果に応じて、前記代替機構による前記第2発電設備から出力された電力の出力抑制の代替状況を制御する出力抑制代替状況制御部、として機能させるための電力需給管理システム用プログラムであり、
前記出力抑制代替状況制御部は、前記判断部により前記出力抑制量の全量が前記代替機構による出力抑制の代替が可能であると判断されなければ、前記送配電エリア外に配置される代替機構を利用して、前記第2発電設備から出力された電力の出力抑制の代替状況を制御する、電力需給管理システム用プログラム。
【請求項8】
送配電エリア内に安定して電力を供給可能な第1発電設備と、再生可能エネルギーを利用して発電し、前記送配電エリア内に電力を供給可能な第2発電設備と、前記第2発電設備により発電された電力の出力抑制の代替を行う代替機構と、前記第2発電設備および前記代替機構による電力の需給を制御するサーバーと、を備え、前記送配電エリア内の電力の需給を管理する電力需給管理システムに用いられ、コンピューター読み取り可能な記録媒体であって、
前記サーバーを、
前記第2発電設備への出力抑制時間帯の情報および出力抑制量の情報を含む前記第2発電設備への出力抑制情報を取得する出力抑制情報取得部、
前記代替機構による電力の出力抑制の代替が可能な時間帯の情報および出力抑制の代替が可能な電力量の情報を含む出力抑制代替可能情報を取得する出力抑制代替可能情報取得部、
前記出力抑制情報取得部により取得された前記出力抑制情報および前記出力抑制代替可能情報取得部により取得された前記出力抑制代替可能情報に基づいて、前記出力抑制量の全量が前記代替機構による出力抑制の代替が可能であるか否かを判断する判断部、および
前記判断部による判断結果に応じて、前記代替機構による前記第2発電設備から出力された電力の出力抑制の代替状況を制御する出力抑制代替状況制御部、として機能させるための電力需給管理システム用プログラムを記録したコンピューター読み取り可能な記録媒体であり、
前記出力抑制代替状況制御部は、前記判断部により前記出力抑制量の全量が前記代替機構による出力抑制の代替が可能であると判断されなければ、前記送配電エリア外に配置される代替機構を利用して、前記第2発電設備から出力された電力の出力抑制の代替状況を制御する、記録媒体。
発明の詳細な説明
【技術分野】
【0001】
本開示は、電力需給管理システム、電力需給管理方法、電力需給管理プログラムおよび記録媒体に関するものである。
続きを表示(約 2,500 文字)
【背景技術】
【0002】
太陽光や風力等の再生可能エネルギーを利用して発電された余剰電力を蓄電池に充電する発電システムが知られている(例えば、特許文献1参照)。また、複数の蓄電池を準備し、いずれの蓄電池に充電させるかを決定するシステムに関する技術が知られている(例えば、特許文献2、特許文献3および特許文献4参照)。
【先行技術文献】
【特許文献】
【0003】
特開2013-172495号公報
特開2021-87330号公報
特開2021-87248号公報
特開2017-70159号公報
【発明の概要】
【発明が解決しようとする課題】
【0004】
火力発電所等の発電所によって発電された電力は、送電事業および配電事業を行う送配電事業者によって家庭や店舗、工場といった需要者に供給される。昨今において、太陽光や風力といった再生可能エネルギーを利用して発電された電力が有効に利用される。再生可能エネルギーを利用した電力については、例えば、季節や時間、天候といった要因に起因して発電量が変化することも多く、発電量の制御が困難である。現在、安定した電力量を供給できる火力発電所等により発電された電力と、再生可能エネルギーを利用した発電による電力とを足し合わせて、需要者への電力の供給がなされている。
【0005】
安定した電力供給を行うに際し、再生可能エネルギーを利用した発電による電力量が想定よりも大きくなり、送配電網の送電可能な上限量を超えそうな場合においては、再生可能エネルギーを利用した発電による電力の出力を抑制する必要がある。このような状況は、再生可能エネルギーを利用した発電が可能な状況にもかかわらず制限をかけることになり、好ましくない。再生可能エネルギーを利用した発電を有効利用しようと画策し、再生可能エネルギーを利用した発電の電力の最大値を考慮した設備を構築しようとすると、増強工事等が必要となり、発電事業者や小売事業者ひいては需要者の負担が大きくなる。送配電事業者の収益性を悪化させることになりかねない。
【0006】
そこで、再生可能エネルギーを利用した発電を効率的に利用することができる電力需給管理システムを提供することを本開示の目的の1つとする。
【課題を解決するための手段】
【0007】
本開示に従った電力需給管理システムは、送配電エリア内に安定して電力を供給可能な第1発電設備と、再生可能エネルギーを利用して発電し、送配電エリア内に電力を供給可能な第2発電設備と、第2発電設備により発電された電力の出力抑制の代替を行う代替機構と、第2発電設備および代替機構による電力の需給を制御するサーバーと、を備え、送配電エリア内の電力の需給を管理する電力需給管理システムである。サーバーは、第2発電設備への出力抑制時間帯の情報および出力抑制量の情報を含む第2発電設備への出力抑制情報を取得する出力抑制情報取得部と、代替機構による電力の出力抑制の代替が可能な時間帯の情報および出力抑制の代替可能な電力量の情報を含む出力抑制の代替可能情報を取得する出力抑制代替可能情報取得部と、出力抑制情報取得部により取得された出力抑制情報および出力抑制代替可能情報取得部により取得された出力抑制の代替可能情報に基づいて、出力抑制量の全量が代替機構による出力抑制の代替が可能であるか否かを判断する判断部と、判断部による判断結果に応じて、代替機構による第2発電設備から出力された電力の出力抑制の代替状況を制御する出力抑制代替状況制御部と、を備える。
【発明の効果】
【0008】
上記電力需給管理システムによれば、再生可能エネルギーを利用した発電を効率的に利用することができる。
【図面の簡単な説明】
【0009】
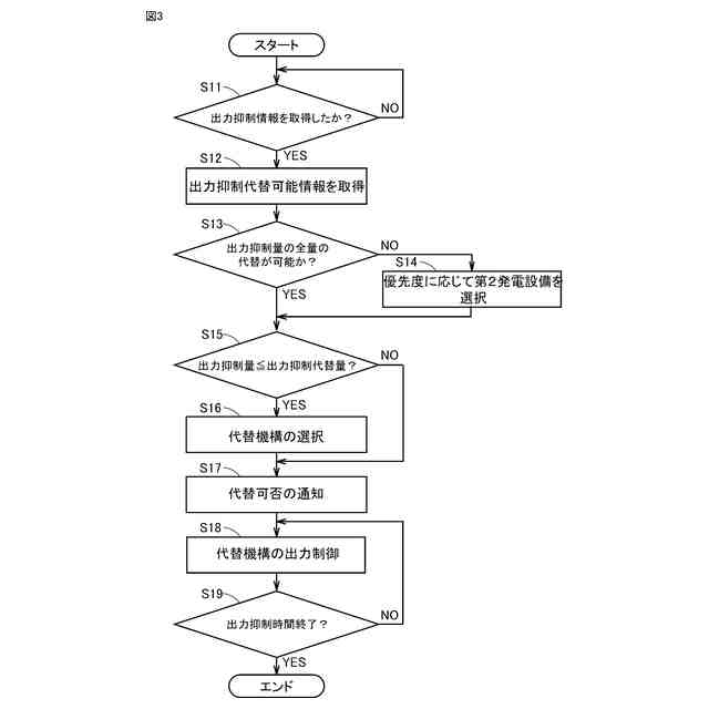
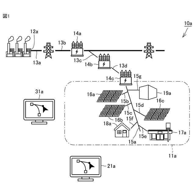
図1は、実施の形態1における電力需給管理システムを模式的に示す図である。
図2は、図1に示す電力需給管理システムの一部の構成を示すブロック図である。
図3は、実施の形態1における電力需給管理システムを用いて送配電エリア内における電力の需給の管理を行う際の処理の流れを示すフローチャートである。
図4は、出力抑制情報が発信された状態を示す図である。
図5は、実施の形態2における電力需給管理システムにおいて、出力抑制情報が発信された状態を示す図である。
【発明を実施するための形態】
【0010】
[本開示の実施形態の説明]
最初に本開示の実施態様を列記して説明する。本開示に係る電力需給管理システムは、電力需給管理システムは、送配電エリア内に安定して電力を供給可能な第1発電設備と、再生可能エネルギーを利用して発電し、送配電エリア内に電力を供給可能な第2発電設備と、第2発電設備により発電された電力の出力抑制の代替を行う代替機構と、第2発電設備および代替機構による電力の需給を制御するサーバーと、を備え、送配電エリア内の電力の需給を管理する電力需給管理システムである。サーバーは、第2発電設備への出力抑制時間帯の情報および出力抑制量の情報を含む第2発電設備への出力抑制情報を取得する出力抑制情報取得部と、代替機構による電力の出力抑制の代替が可能な時間帯の情報および出力抑制の代替可能な電力量の情報を含む出力抑制の代替可能情報を取得する出力抑制代替可能情報取得部と、出力抑制情報取得部により取得された出力抑制情報および出力抑制代替可能情報取得部により取得された出力抑制の代替可能情報に基づいて、出力抑制量の全量が代替機構による出力抑制の代替が可能であるか否かを判断する判断部と、判断部による判断結果に応じて、代替機構による第2発電設備から出力された電力の出力抑制の代替状況を制御する出力抑制代替状況制御部と、を備える。
(【0011】以降は省略されています)
この特許をJ-PlatPat(特許庁公式サイト)で参照する
関連特許
日本碍子株式会社
熱交換器
1か月前
日本碍子株式会社
熱交換器
1か月前
日本碍子株式会社
把持方法
1か月前
日本碍子株式会社
電気化学セル
13日前
日本碍子株式会社
亜鉛二次電池
1か月前
日本碍子株式会社
空調システム
1か月前
日本碍子株式会社
ウエハ載置台
1か月前
日本碍子株式会社
電気加熱式担体
1か月前
日本碍子株式会社
ハニカム構造体
1か月前
日本碍子株式会社
ハニカム構造体
1か月前
日本碍子株式会社
電気加熱式担体
1か月前
日本碍子株式会社
ハニカム構造体
1か月前
日本碍子株式会社
ハニカム構造体
1か月前
日本碍子株式会社
メタン製造反応器
1か月前
日本碍子株式会社
ハニカムフィルタ
1か月前
日本碍子株式会社
アルカリ二次電池
1か月前
日本碍子株式会社
三相型ハニカムヒータ
1か月前
日本碍子株式会社
セラミックサセプター
1か月前
日本碍子株式会社
ウォーキングビーム炉
1か月前
日本碍子株式会社
半導体製造装置用ヒータ
27日前
日本碍子株式会社
浄水膜構造体の製造方法
22日前
日本碍子株式会社
センサ素子及びガスセンサ
1か月前
日本碍子株式会社
センサ素子およびガスセンサ
1か月前
日本碍子株式会社
セラミックス部材の製造方法
1か月前
日本碍子株式会社
ロボットハンドおよびロボット
1か月前
日本碍子株式会社
ロボットハンドおよびロボット
1か月前
日本碍子株式会社
セラミックス試料の酸分解方法
1か月前
日本碍子株式会社
浄水膜構造体および浄水膜組立体
1か月前
日本碍子株式会社
ハニカム構造体及びハニカムヒータ
1か月前
日本碍子株式会社
放射性廃棄物の処理方法及び保管装置
1か月前
日本碍子株式会社
半導体製造装置用部材及びその再生方法
1か月前
日本碍子株式会社
半導体製造装置用部材及びその再生方法
1か月前
日本碍子株式会社
半導体製造装置用部材及びその再生方法
1か月前
日本碍子株式会社
トチの検査方法及びハニカム構造体の製造方法
1か月前
日本碍子株式会社
金属コンポジット焼結板およびリチウムイオン電池
1か月前
日本碍子株式会社
車両用空調システム、及び調湿デバイスの使用方法
20日前
続きを見る
他の特許を見る