TOP
|
特許
|
意匠
|
商標
特許ウォッチ
Twitter
他の特許を見る
公開番号
2025164683
公報種別
公開特許公報(A)
公開日
2025-10-30
出願番号
2025007109
出願日
2025-01-17
発明の名称
車両用空調システム、及び調湿デバイスの使用方法
出願人
日本碍子株式会社
代理人
アクシス国際弁理士法人
主分類
B60H
3/00 20060101AFI20251023BHJP(車両一般)
要約
【課題】水分を効率的に吸着することが可能な車両用空調システムを提供する。
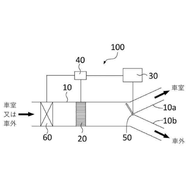
【解決手段】空気が流通可能な空調ダクト10と;外周壁23と、外周壁23の内側に配設され、第1端面24aから第2端面24bまで延びる空気の流路となる複数のセル25を区画形成する隔壁26とを有するハニカム構造体21、及び隔壁26の表面上に設けられた吸湿層27を備え、空調ダクト10内に配置される調湿デバイス20と;調湿デバイス20のセル25を流通する空気の流速を制御可能な制御部30とを備える車両用空調システム100である。制御部30は、調湿デバイス20の吸湿処理において調湿デバイス20に流入する空気の流速を0.23~1.40m/秒に制御することを含む。
【選択図】図1
特許請求の範囲
【請求項1】
空気が流通可能な空調ダクトと、
外周壁と、前記外周壁の内側に配設され、第1端面から第2端面まで延びる前記空気の流路となる複数のセルを区画形成する隔壁とを有するハニカム構造体、及び前記隔壁の表面上に設けられた吸湿層を備え、前記空調ダクト内に配置される調湿デバイスと、
前記調湿デバイスの前記セルを流通する前記空気の流速を制御可能な制御部と
を備え、
前記制御部は、前記調湿デバイスの吸湿処理において前記調湿デバイスに流入する前記空気の流速を0.23~1.40m/秒に制御することを含む、車両用空調システム。
続きを表示(約 1,000 文字)
【請求項2】
前記制御部は、前記調湿デバイスの前記吸湿処理において前記調湿デバイスに流入する前記空気の流速を0.24~1.30m/秒に制御することを含む、請求項1に記載の車両用空調システム。
【請求項3】
前記制御部は、前記調湿デバイスの前記吸湿処理において前記調湿デバイスに流入する前記空気の流速を0.25~1.20m/秒に制御することを含む、請求項1に記載の車両用空調システム。
【請求項4】
前記制御部は、前記調湿デバイスの前記吸湿処理において前記調湿デバイスに流入する前記空気の流速を0.26~1.10m/秒に制御することを含む、請求項1に記載の車両用空調システム。
【請求項5】
前記制御部は、前記調湿デバイスの前記吸湿処理を0.16~6分行うことを含む、請求項1~4のいずれか一項に記載の車両用空調システム。
【請求項6】
前記制御部は、前記調湿デバイスの再生処理において前記調湿デバイスに流入する前記空気の流速を0.06~0.30m/秒に制御することを含む、請求項1~4のいずれか一項に記載の車両用空調システム。
【請求項7】
前記制御部は、前記調湿デバイスの前記再生処理において前記調湿デバイスに流入する前記空気の流速を0.08~0.20m/秒に制御することを含む、請求項6に記載の車両用空調システム。
【請求項8】
前記制御部は、前記調湿デバイスの前記再生処理を0.16~4分行うことを含む、請求項6に記載の車両用空調システム。
【請求項9】
外周壁と、前記外周壁の内側に配設され、第1端面から第2端面まで延びる空気の流路となる複数のセルを区画形成する隔壁とを有するハニカム構造体、及び前記隔壁の表面上に設けられた吸湿層を備え、空調ダクト内に配置される調湿デバイスにおいて、
前記調湿デバイスの吸湿処理時に、前記調湿デバイスに流入する前記空気の流速を0.23~1.40m/秒に制御することを含む、調湿デバイスの使用方法。
【請求項10】
前記調湿デバイスの前記吸湿処理時に、前記調湿デバイスに流入する前記空気の流速を0.24~1.30m/秒に制御することを含む、請求項9に記載の調湿デバイスの使用方法。
(【請求項11】以降は省略されています)
発明の詳細な説明
【技術分野】
【0001】
本発明は、車両用空調システム、及び調湿デバイスの使用方法に関する。
続きを表示(約 1,500 文字)
【背景技術】
【0002】
自動車などの各種車両において、車室環境の向上に対する要求が高まっている。具体的な要求としては、車室内を調湿することが例示される。このような要求に有効な対策として換気が挙げられるが、換気は、冬場のヒーターエネルギーを大きくロスする要因となり、冬場のエネルギー効率の低下を招く。特に電気自動車(BEV:Battery Electric Vehicle)では、そのエネルギーロスにより、航続距離が大幅に減少するという問題がある。
【0003】
上記の問題を解決する方法として、特許文献1には、外周壁と、外周壁の内側に配設され、一方の端面から他方の端面まで延びる流路を形成する複数のセルを区画形成する隔壁とを有し、少なくとも隔壁がPTC(Positive Temperature Coefficient)特性を有する材料で構成されたハニカム構造体、及びハニカム構造体の所定の位置に設けられた一対の電極を備え、水蒸気などを吸着する機能材含有層を隔壁の表面上に有するヒーターエレメントが提案されている。
【先行技術文献】
【特許文献】
【0004】
国際公開第2023/074202号
【発明の概要】
【発明が解決しようとする課題】
【0005】
しかしながら、特許文献1のヒーターエレメントを用いただけでは、水分(水蒸気)を効率的に吸着させることができない。
本発明は、上記のような問題を解決するためになされたものであり、水分を効率的に吸着することが可能な車両用空調システム、及び調湿デバイスの使用方法を提供することを目的とする。
【課題を解決するための手段】
【0006】
本発明者らは、調湿デバイスを備える車両用空調システムについて鋭意研究を行った結果、調湿デバイスに流入する空気の流速を制御することにより、水分の吸着量を向上させ得ることを見出し、本発明を完成するに至った。すなわち、本発明は、以下のように例示される。
【0007】
[1] 空気が流通可能な空調ダクトと、
外周壁と、前記外周壁の内側に配設され、第1端面から第2端面まで延びる前記空気の流路となる複数のセルを区画形成する隔壁とを有するハニカム構造体、及び前記隔壁の表面上に設けられた吸湿層を備え、前記空調ダクト内に配置される調湿デバイスと、
前記調湿デバイスの前記セルを流通する前記空気の流速を制御可能な制御部と
を備え、
前記制御部は、前記調湿デバイスの吸湿処理において前記調湿デバイスに流入する前記空気の流速を0.23~1.40m/秒に制御することを含む、車両用空調システム。
【0008】
[2] 前記制御部は、前記調湿デバイスの前記吸湿処理において前記調湿デバイスに流入する前記空気の流速を0.24~1.30m/秒に制御することを含む、[1]に記載の車両用空調システム。
【0009】
[3] 前記制御部は、前記調湿デバイスの前記吸湿処理において前記調湿デバイスに流入する前記空気の流速を0.25~1.20m/秒に制御することを含む、[1]に記載の車両用空調システム。
【0010】
[4] 前記制御部は、前記調湿デバイスの前記吸湿処理において前記調湿デバイスに流入する前記空気の流速を0.26~1.10m/秒に制御することを含む、[1]に記載の車両用空調システム。
(【0011】以降は省略されています)
この特許をJ-PlatPat(特許庁公式サイト)で参照する
関連特許
日本碍子株式会社
電気化学セル
20日前
日本碍子株式会社
空調システム
1か月前
日本碍子株式会社
セラミックサセプター
1か月前
日本碍子株式会社
浄水膜構造体の製造方法
29日前
日本碍子株式会社
半導体製造装置用ヒータ
1か月前
日本碍子株式会社
車両用空調システム、及び調湿デバイスの使用方法
27日前
国立大学法人九州大学
耐水素材料及び耐水素構造部品
1か月前
日本碍子株式会社
混合ガス分離方法
12日前
学校法人神奈川大学
酸素還元反応触媒、酸素還元用電極、及び電池
今日
日本碍子株式会社
電力需給管理システム、電力需給管理方法、電力需給管理プログラムおよび記録媒体
14日前
個人
タイヤレバー
3か月前
個人
前輪キャスター
3か月前
個人
上部一体型自動車
1か月前
個人
ルーフ付きトライク
3か月前
個人
タイヤ脱落防止構造
3か月前
個人
空間形成装置
27日前
個人
車両通過構造物
4か月前
日本精機株式会社
表示装置
3か月前
日本精機株式会社
照明装置
22日前
日本精機株式会社
表示装置
3か月前
日本精機株式会社
表示装置
3か月前
個人
マスタシリンダ
2か月前
日本精機株式会社
表示装置
3か月前
個人
乗合路線バスの客室装置
4か月前
個人
常設収納型サンバイザー
1か月前
日本精機株式会社
車載表示装置
1か月前
日本精機株式会社
車載表示装置
1か月前
個人
音声ガイド、音声サービス
4か月前
日本精機株式会社
車載表示装置
28日前
株式会社ニフコ
照明装置
3か月前
個人
回転窓ワイパー装置
27日前
個人
円湾曲ホイール及び球体輪
4か月前
日本精機株式会社
車室演出装置
3か月前
株式会社豊田自動織機
産業車両
3か月前
株式会社豊田自動織機
産業車両
22日前
株式会社ニフコ
収納装置
2か月前
続きを見る
他の特許を見る