TOP
|
特許
|
意匠
|
商標
特許ウォッチ
Twitter
他の特許を見る
10個以上の画像は省略されています。
公開番号
2025139243
公報種別
公開特許公報(A)
公開日
2025-09-26
出願番号
2024038071
出願日
2024-03-12
発明の名称
導波素子の製造方法
出願人
日本碍子株式会社
代理人
弁理士法人籾井特許事務所
主分類
G02F
1/39 20060101AFI20250918BHJP(光学)
要約
【課題】優れた外観および強度を有する導波素子を製造し得る導波素子の製造方法を提供すること。
【解決手段】本発明の1つの実施形態による導波素子の製造方法は、非線形光学材料基板の第1面に複数の溝部を互いに間隔を空けて形成して、複数の溝部のうち互いに隣り合う溝部の間に位置する非線形光学材料基板の部分の少なくとも1つをリッジ型導波路として構成する工程と;非線形光学材料基板よりも屈折率が小さい第1低屈折率層であって溝部の深さを超過する厚みを有する第1低屈折率層を、リッジ型導波路を被覆するように非線形光学材料基板の第1面に形成する工程と;第1低屈折率層を非線形光学材料基板と反対側から研磨して、第1低屈折率層における非線形光学材料基板と反対側の表面を平坦面とする工程と;第1低屈折率層の平坦面に第1支持基板を接合する工程と;を含んでいる。
【選択図】図5
特許請求の範囲
【請求項1】
非線形光学材料基板を準備する工程と、
前記非線形光学材料基板における厚み方向の一方側に位置する第1面に、前記厚み方向と交差する方向に延びる複数の溝部を互いに間隔を空けて形成して、複数の前記溝部のうち互いに隣り合う溝部の間に位置する前記非線形光学材料基板の部分の少なくとも1つをリッジ型導波路として構成する工程と、
前記非線形光学材料基板よりも屈折率が小さい第1低屈折率層であって前記溝部の深さを超過する厚みを有する第1低屈折率層を、前記リッジ型導波路を被覆するように前記非線形光学材料基板の前記第1面に形成する工程と、
前記第1低屈折率層を前記非線形光学材料基板と反対側から研磨して、前記第1低屈折率層における前記非線形光学材料基板と反対側の表面を実質的に平坦面とする工程と、
前記第1低屈折率層の前記平坦面に第1接合部を介して第1支持基板を接合する工程と、を含む、導波素子の製造方法。
続きを表示(約 820 文字)
【請求項2】
前記非線形光学材料基板を準備する工程は、
前記非線形光学材料基板における前記第1面と反対側の第2面に、前記非線形光学材料基板よりも屈折率が小さい第2低屈折率層を形成する工程と、
前記第2低屈折率層における前記非線形光学材料基板と反対側の表面に、第2接合部を介して第2支持基板を接合する工程と、
前記非線形光学材料基板を前記第2低屈折率層と反対側から研磨する工程と、を含む、請求項1に記載の導波素子の製造方法。
【請求項3】
前記非線形光学材料基板を準備する工程は、前記第2低屈折率層を形成する工程の前に、前記非線形光学材料基板の前記第2面に周期分極反転部を形成する工程をさらに含む、請求項2に記載の導波素子の製造方法。
【請求項4】
前記第1接合層は、樹脂材料から構成される、請求項1に記載の導波素子の製造方法。
【請求項5】
前記第2接合層は、樹脂材料から構成される、請求項2に記載の導波素子の製造方法。
【請求項6】
前記第1低屈折率層を研磨する工程において、前記厚み方向における前記第1低屈折率層の平坦面と前記リッジ型導波路との間の寸法が、前記溝部の深さに対して1.0以下となるまで前記第1低屈折率層を研磨する、請求項1から5のいずれかに記載の導波素子の製造方法。
【請求項7】
前記溝部の深さは、1.5μm以上3.0μm以下である、請求項6に記載の導波素子の製造方法。
【請求項8】
前記非線形光学材料基板は、ドーパントとして酸化マグネシウムを含むニオブ酸リチウムおよび/またはタンタル酸リチウムから構成されている、請求項1から5のいずれかに記載の導波素子の製造方法。
【請求項9】
前記第1低屈折率層は、二酸化ケイ素を含む、請求項1から5のいずれかに記載の導波素子の製造方法。
発明の詳細な説明
【技術分野】
【0001】
本発明は、導波素子の製造方法に関する。
続きを表示(約 4,400 文字)
【背景技術】
【0002】
非線形光学素子の1つとして、導波素子の開発が進められている。導波素子は、次世代光通信、量子分野等の幅広い分野への応用および展開が期待されている。このような導波素子の一例として、リッジ型光導波路が形成された強誘電性結晶基板と、強誘電性結晶基板の第一の主面に形成されているオーバークラッドと、オーバークラッドを介して上側接着層によって強誘電性結晶基板に接着されている上側基板と、備える、波長変換素子が提案されている(例えば、特許文献1参照)。
このような波長変換素子は、強誘電性結晶基板の第一の主面に互いに平行である一対のリッジ溝を形成して、これらリッジ溝の間の部分をリッジ型光導波路とした後、強誘電性結晶基板の第一の主面にオーバークラッドを成膜し、次いで、オーバークラッド上に接着剤を塗布し、上側基板を接着することによって製造される。
【先行技術文献】
【特許文献】
【0003】
特開2017―227935号公報
【発明の概要】
【発明が解決しようとする課題】
【0004】
しかし、特許文献1に記載の波長変換素子の製造方法では、オーバークラッドが誘電性結晶基板のリッジ溝に落ち込むように成膜され、オーバークラッド上の上側接着層がリッジ溝内に充填される。そのため、オーバークラッドと上側接着剤層との間に気泡が混入する場合がある。この場合、波長変換素子において外観不良が生じるという問題がある。
また、オーバークラッドと上側接着剤層との間に気泡が混入すると、局所的に上側接着剤層とオーバークラッドとが接触しない部分が生じて、それらの層間の密着力が低下する場合があり、かつ、気泡の存在による上側接着剤層の不均一性に起因して、波長変換素子の内部構造に応力がかかる場合ある。その結果、波長変換素子の強度が不十分となり得る。
本発明の主たる目的は、優れた外観および強度を有する導波素子を製造し得る導波素子の製造方法を提供することにある。
【課題を解決するための手段】
【0005】
[1]本発明の1つの実施形態による導波素子の製造方法は、非線形光学材料基板を準備する工程と;該非線形光学材料基板における厚み方向の一方側に位置する第1面に、該厚み方向と交差する方向に延びる複数の溝部を互いに間隔を空けて形成して、複数の該溝部のうち互いに隣り合う溝部の間に位置する該非線形光学材料基板の部分の少なくとも1つをリッジ型導波路として構成する工程と;該非線形光学材料基板よりも屈折率が小さい第1低屈折率層であって該溝部の深さを超過する厚みを有する第1低屈折率層を、該リッジ型導波路を被覆するように該非線形光学材料基板の該第1面に形成する工程と;該第1低屈折率層を該非線形光学材料基板と反対側から研磨して、該第1低屈折率層における該非線形光学材料基板と反対側の表面を平坦面とする工程と;該第1低屈折率層の該平坦面に第1接合層を介して第1支持基板を接合する工程と;を含んでいる。
[2]上記[1]に記載の導波素子の製造方法において、上記非線形光学材料基板を準備する工程は、非線形光学材料基板における第1面と反対側の第2面に、該非線形光学材料基板よりも屈折率が小さい第2低屈折率層を形成する工程と;該第2低屈折率層における該非線形光学材料基板と反対側の表面に第2接合層を介して第2支持基板を接合する工程と;該非線形光学材料基板を該第2低屈折率層と反対側から研磨する工程と;を含んでいてもよい。
[3]上記[2]に記載の導波素子の製造方法において、上記非線形光学材料基板を準備する工程は、上記第2低屈折率層を形成する工程の前に、上記非線形光学材料基板の上記第2面に周期分極反転部を形成する工程をさらに含んでいてもよい。
[4]上記[1]から[3]のいずれかに記載の導波素子の製造方法では、上記第1接合層は、樹脂材料から構成されていてもよい。
[5]上記[2]または[3]に記載の導波素子の製造方法では、上記第2接合層は、樹脂材料から構成されていてもよい。
[6]上記[1]から[5]のいずれかに記載の導波素子の製造方法では、上記第1低屈折率層を研磨する工程において、上記厚み方向における上記第1低屈折率層の上記平坦面と上記リッジ型導波路との間の寸法が、上記溝部の深さに対して1.0以下となるまで上記第1低屈折率層を研磨してもよい。
[7]上記[1]から[6]のいずれかに記載の導波素子の製造方法において、上記溝部の深さは、1.5μm以上3.0μm以下であってもよい。
[8]上記[1]から[7]のいずれかに記載の導波素子の製造方法において、上記非線形光学材料基板は、ドーパントとして酸化マグネシウムを含むニオブ酸リチウムおよび/またはタンタル酸リチウムから構成されていてもよい。
[9]上記[1]から[8]のいずれかに記載の導波素子の製造方法において、上記第1低屈折率層は、二酸化ケイ素を含んでいてもよい。
【発明の効果】
【0006】
本発明の実施形態によれば、優れた外観および強度を有する導波素子を製造し得る。
【図面の簡単な説明】
【0007】
図1は、本発明の実施形態による導波素子の製造方法が含む準備工程を説明するための概略説明図である。
図2は、図1の準備工程に続く加工工程を説明するための概略説明図である。
図3は、図2の加工工程に続く第1低屈折率層形成工程を説明するための概略説明図である。
図4は、図3の第1低屈折率層形成工程に続く第1研磨工程を説明するための概略説明図である。
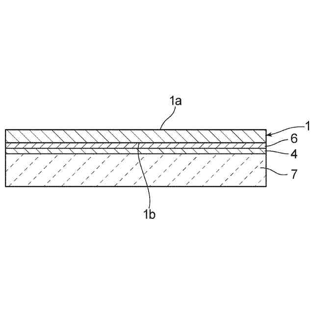
図5は、図4の第1研磨工程に続く第1接合工程を説明するための概略説明図である。
図6は、図1の準備工程が含む第2低屈折率層形成工程を説明するための概略説明図である。
図7は、図6の第2低屈折率層形成工程に続く第2接合工程を説明するための概略説明図である。
図8は、図5の導波素子におけるVIII-VIII´断面の概略斜視図である。
図9は、図8の導波素子が備える周期分極反転部の概略構成図である。
【発明を実施するための形態】
【0008】
以下、本発明の実施形態について説明するが、本発明はこれらの実施形態には限定されない。また、図面は説明をより明確にするため、実施の形態に比べ、各部の幅、厚み、形状等について模式的に表される場合があるが、あくまで一例であって、本発明の解釈を限定するものではない。
【0009】
A.導波素子の製造方法の概略
図1は、本発明の実施形態による導波素子の製造方法が含む準備工程を説明するための概略説明図である。図2は、図1の準備工程に続く加工工程を説明するための概略説明図である。図3は、図2の加工工程に続く第1低屈折率層形成工程を説明するための概略説明図である。図4は、図3の第1低屈折率層形成工程に続く第1研磨工程を説明するための概略説明図である。図5は、図4の第1研磨工程に続く第1接合工程を説明するための概略説明図である。
【0010】
本発明の1つの実施形態による導波素子の製造方法は、準備工程と、加工工程と、第1低屈折率層形成工程と、第1研磨工程と、第1接合工程と、をこの順に含んでいる。
準備工程では、所定の厚みを有する非線形光学材料基板1を準備する。非線形光学材料基板1は、厚み方向の一方側に位置する第1面1aと、第1面1aと反対側の第2面1bと、を有する。
加工工程では、非線形光学材料基板1の第1面1aに複数の溝部13を形成する。複数の溝部13のそれぞれは、非線形光学材料基板1の厚み方向と交差する方向に延びている。
図2に示すように、1つの実施形態において、溝部13は、底面13aと、第1側面13bと、第2側面13cと、を有している。底面13aは、非線形光学材料基板1の厚み方向において、非線形光学材料基板1の第1面1aと第2面1bとの間に位置している。底面13aの幅方向は、代表的には、非線形光学材料基板1の厚み方向および溝部13の延びる方向と交差している。第1側面13bは、底面13aの幅方向の一端と第1面1aとを接続している。第2側面13cは、底面13aの幅方向の他端と第1面1aとを接続している。
別の実施形態では、溝部13は、底面13aと、第1側面13bおよび第2側面13cのいずれか一方のみと、を有していてもよい。言い換えれば、溝部13は、幅方向の一方側が開放される切欠状であってもよい。
複数の溝部13は、互いに間隔を空けて形成される。複数の溝部13のうち互いに隣り合う溝部13の間に位置する非線形光学材料基板1の部分の少なくとも1つをリッジ型導波路11として構成する。
図3に示すように、第1低屈折率層形成工程では、第1低屈折率層5を、リッジ型導波路11を被覆するように非線形光学材料基板1の第1面1aに形成する。第1低屈折率層5の屈折率は、非線形光学材料基板1の屈折率よりも小さい。第1低屈折率層5の厚みTは、溝部13の深さDを超過する。なお、本明細書において、「溝部の深さ」とは、非線形光学材料基板1の厚み方向における、非線形光学材料基板1の第1面1aと溝部13の底面13aとの間の寸法を意味する。
研磨工程では、第1低屈折率層5を非線形光学材料基板1と反対側から研磨する。これによって、図4に示すように、第1低屈折率層5における非線形光学材料基板1と反対側の表面を平坦面5aとする。第1接合工程では、第1低屈折率層5の平坦面5aに第1接合層3を介して第1支持基板2を接合する。
このような方法によれば、非線形光学材料基板1に複数の溝部13を形成してリッジ型導波路11を設けた後に、溝部13の深さDを超過する厚みTを有する第1低屈折率層5を形成し、その後、第1低屈折率層5における非線形光学材料基板1と反対側の表面を研磨により平坦面5aとする。そのため、第1支持基板2を、第1接合層3を介して第1低屈折率層5の平坦面5aに接合するときに、第1低屈折率層5と第1接合層3との間に気泡が混入することを抑制し得る。これによって、優れた外観および強度を有する導波素子100を円滑に製造し得る。
(【0011】以降は省略されています)
この特許をJ-PlatPat(特許庁公式サイト)で参照する
関連特許
日本碍子株式会社
ウエハ載置台
1か月前
日本碍子株式会社
電気化学セル
13日前
日本碍子株式会社
空調システム
1か月前
日本碍子株式会社
電気加熱式担体
1か月前
日本碍子株式会社
ハニカム構造体
1か月前
日本碍子株式会社
ハニカム構造体
1か月前
日本碍子株式会社
電気加熱式担体
1か月前
日本碍子株式会社
ハニカム構造体
1か月前
日本碍子株式会社
メタン製造反応器
1か月前
日本碍子株式会社
ハニカムフィルタ
1か月前
日本碍子株式会社
セラミックサセプター
1か月前
日本碍子株式会社
三相型ハニカムヒータ
1か月前
日本碍子株式会社
半導体製造装置用ヒータ
27日前
日本碍子株式会社
浄水膜構造体の製造方法
22日前
日本碍子株式会社
センサ素子及びガスセンサ
1か月前
日本碍子株式会社
セラミックス部材の製造方法
1か月前
日本碍子株式会社
セラミックス試料の酸分解方法
1か月前
日本碍子株式会社
浄水膜構造体および浄水膜組立体
1か月前
日本碍子株式会社
ハニカム構造体及びハニカムヒータ
1か月前
日本碍子株式会社
放射性廃棄物の処理方法及び保管装置
1か月前
日本碍子株式会社
半導体製造装置用部材及びその再生方法
1か月前
日本碍子株式会社
半導体製造装置用部材及びその再生方法
1か月前
日本碍子株式会社
半導体製造装置用部材及びその再生方法
1か月前
日本碍子株式会社
トチの検査方法及びハニカム構造体の製造方法
1か月前
日本碍子株式会社
金属コンポジット焼結板およびリチウムイオン電池
1か月前
日本碍子株式会社
車両用空調システム、及び調湿デバイスの使用方法
20日前
日本碍子株式会社
ハニカム構造体、電気加熱式担体及び排気ガス浄化装置
1か月前
国立大学法人九州大学
耐水素材料及び耐水素構造部品
27日前
日本碍子株式会社
ハニカム構造体、成形原料組成物及び多孔質体の製造方法
1か月前
日本碍子株式会社
複合基板
1か月前
株式会社リコー
ノード、データ共有方法、及びプログラム
1か月前
日本碍子株式会社
混合ガス分離方法
5日前
日本碍子株式会社
ガスセンサの試験装置、ガスセンサの試験方法、およびガスセンサの製造方法
1か月前
日本碍子株式会社
リジェネレイティブバーナ、工業炉、焼成品の製造方法及び加熱処理品の製造方法
1か月前
日本碍子株式会社
電力需給管理システム、電力需給管理方法、電力需給管理プログラムおよび記録媒体
7日前
カンタツ株式会社
光学系
28日前
続きを見る
他の特許を見る