TOP
|
特許
|
意匠
|
商標
特許ウォッチ
Twitter
他の特許を見る
公開番号
2025150527
公報種別
公開特許公報(A)
公開日
2025-10-09
出願番号
2024051436
出願日
2024-03-27
発明の名称
ガスセンサの試験装置、ガスセンサの試験方法、およびガスセンサの製造方法
出願人
日本碍子株式会社
代理人
弁理士法人アイテック国際特許事務所
主分類
G01N
27/416 20060101AFI20251002BHJP(測定;試験)
要約
【課題】ガスセンサが被測定ガスの動圧によって受ける影響を調べる。
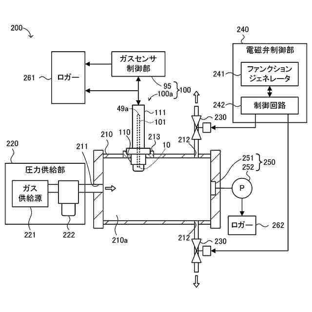
【解決手段】ガスセンサ試験装置200は、被測定ガス中の特定ガス濃度を検出するためのガスセンサ100aの試験装置である。ガスセンサ試験装置200は、チャンバー210と、圧力供給部220と、電磁弁230とを備える。チャンバー210は、内部空間210aと、内部空間210aへのガスの入口部211と、内部空間210aからのガスの出口部212と、内部空間210aのガス中の特定ガス濃度を検出可能な態様でガスセンサ100aを取り付け可能なガスセンサ取付部213と、を有する。圧力供給部220は、入口部211を介して内部空間210aに圧力を供給する。電磁弁230は、出口部212に接続され、内部空間210aのガスの出口部212からの排出経路を開閉する。
【選択図】図1
特許請求の範囲
【請求項1】
被測定ガス中の特定ガス濃度を検出するためのガスセンサの試験装置であって、
内部空間と、前記内部空間へのガスの入口部と、前記内部空間からのガスの出口部と、前記内部空間のガス中の前記特定ガス濃度を検出可能な態様で前記ガスセンサを取り付け可能なガスセンサ取付部と、を有するチャンバーと、
前記入口部を介して前記内部空間に圧力を供給する圧力供給部と、
前記出口部に接続され、前記内部空間のガスの前記出口部からの排出経路を開閉する開閉機構と、
を備えたガスセンサの試験装置。
続きを表示(約 2,000 文字)
【請求項2】
請求項1に記載のガスセンサの試験装置であって、
前記開閉機構を周期的に開閉させる開閉制御部、
を更に備えるガスセンサの試験装置。
【請求項3】
請求項1または2に記載のガスセンサの試験装置であって、
前記チャンバーは、前記出口部を複数備え、
前記開閉機構は、複数の前記出口部の各々に接続され、
前記試験装置は、複数の前記開閉機構のうち2以上を同期して開閉させる開閉制御部を更に備える、
ガスセンサの試験装置。
【請求項4】
請求項1または2に記載のガスセンサの試験装置であって、
前記ガスセンサは、
酸素イオン伝導性の固体電解質体を有し、ガス導入口から前記被測定ガスを導入して流通させる被測定ガス流通部が内部に設けられた素子本体と、
前記被測定ガス流通部に設けられた内側電極と、前記被測定ガスと接触するように前記素子本体の外面に設けられた外側電極と、を有するポンプセルと、
を備え、
前記試験装置は、
前記内側電極と前記外側電極との間に電圧を印可して前記ポンプセルに酸素のポンピングを行わせるガスセンサ制御部と、
前記ポンプセルが酸素のポンピングを行うときに流れるポンプ電流を測定する測定部と、
をさらに備える、
ガスセンサの試験装置。
【請求項5】
被測定ガス中の特定ガス濃度を検出するためのガスセンサの試験装置を用いたガスセンサの試験方法であって、
前記試験装置は、
内部空間と、前記内部空間へのガスの入口部と、前記内部空間からのガスの出口部と、前記内部空間のガス中の前記特定ガス濃度を検出可能な態様で前記ガスセンサを取り付け可能なガスセンサ取付部と、を有するチャンバーと、
前記入口部を介して前記内部空間に圧力を供給する圧力供給部と、
前記出口部に接続され、前記内部空間のガスの前記出口部からの排出経路を開閉する開閉機構と、
を備え、
前記試験方法は、前記圧力供給部から前記内部空間に圧力を供給しつつ前記開閉機構を開いたときまたは繰り返し開閉したときの、前記チャンバーに取り付けられた前記ガスセンサの動作に関する情報を取得する第1工程を含む、
ガスセンサの試験方法。
【請求項6】
請求項5に記載のガスセンサの試験方法であって、
前記第1工程は、前記開閉機構を周期的に開閉させる、
ガスセンサの試験方法。
【請求項7】
請求項5または6に記載のガスセンサの試験方法であって、
前記開閉機構が継続して閉じているときの、前記チャンバーに取り付けられた前記ガスセンサの動作に関する情報を取得する第2工程、
を更に含むガスセンサの試験方法。
【請求項8】
請求項7に記載のガスセンサの試験方法であって、
前記第1工程で取得された前記情報と、前記第2工程で取得された前記情報と、に基づいて前記ガスセンサの耐動圧性能を評価する第3工程、
を更に含むガスセンサの試験方法。
【請求項9】
請求項5または6に記載のガスセンサの試験方法であって、
前記ガスセンサは、
酸素イオン伝導性の固体電解質体を有し、ガス導入口から前記被測定ガスを導入して流通させる被測定ガス流通部が内部に設けられた素子本体と、
前記被測定ガス流通部に設けられた内側電極と、前記被測定ガスと接触するように前記素子本体の外面に設けられた外側電極と、を有するポンプセルと、
を備え、
前記ガスセンサの動作に関する情報は、前記内側電極と前記外側電極との間に印可された電圧により前記ポンプセルが酸素のポンピングを行うときに流れるポンプ電流の値である、
ガスセンサの試験方法。
【請求項10】
請求項8に記載のガスセンサの試験方法であって、
前記ガスセンサは、
酸素イオン伝導性の固体電解質体を有し、ガス導入口から前記被測定ガスを導入して流通させる被測定ガス流通部が内部に設けられた素子本体と、
前記被測定ガス流通部に設けられた内側電極と、前記被測定ガスと接触するように前記素子本体の外面に設けられた外側電極と、を有するポンプセルと、
を備え、
前記第1工程および前記第2工程は、前記ガスセンサの動作に関する情報として、前記内側電極と前記外側電極との間に印可された電圧により前記ポンプセルが酸素のポンピングを行うときに流れるポンプ電流の値を取得し、
前記第3工程は、前記第1工程で取得された前記ポンプ電流と前記第2工程で取得された前記ポンプ電流との相違に基づいて前記耐動圧性能を評価する、
ガスセンサの試験方法。
(【請求項11】以降は省略されています)
発明の詳細な説明
【技術分野】
【0001】
本発明は、ガスセンサの試験装置、ガスセンサの試験方法、およびガスセンサの製造方法に関する。
続きを表示(約 2,000 文字)
【背景技術】
【0002】
従来、自動車の排気ガスなどの被測定ガスにおけるNOxなどの特定ガスの濃度を検出するガスセンサが知られている。例えば、特許文献1には、素子本体と、主ポンプセルと、補助ポンプセルと、測定用ポンプセルと、を有するセンサ素子を備えたガスセンサが記載されている。素子本体は、酸素イオン伝導性の固体電解質層を含み被測定ガスを導入して流通させる被測定ガス流通部が内部に設けられている。主ポンプセルは、被測定ガス流通部のうちの第1内部空所に配設された内側主ポンプ電極と、素子本体の外側の被測定ガスに晒される部分に配設された外側主ポンプ電極と、を有する。補助ポンプセルは、被測定ガス流通部のうちの第1内部空所よりも下流側の第2内部空所に配設された内側補助ポンプ電極と、素子本体の外側の被測定ガスに晒される部分に配設された外側補助ポンプ電極と、を有する。測定用ポンプセルは、被測定ガス流通部のうちの第2内部空所よりも下流側の測定室に配設された内側測定電極と、素子本体の外側の被測定ガスに晒される部分に配設された外側測定電極と、を有する。このセンサ素子を用いてNOxの濃度を検出する場合、まず、主ポンプセルおよび補助ポンプセルによって第1内部空所および第2内部空所で被測定ガスの酸素濃度が調整される。続いて、酸素濃度が調整された後の被測定ガス中のNOxが測定室で還元される。そして、NOxの還元で生じた酸素を測定用ポンプセルが汲み出すときに流れるポンプ電流に基づいて、被測定ガス中のNOxの濃度が検出される。
【先行技術文献】
【特許文献】
【0003】
特開2022-091669号公報
【発明の概要】
【発明が解決しようとする課題】
【0004】
こうしたガスセンサにおいて、被測定ガスの組成が同じであっても被測定ガスの動圧が変化するとガスセンサの動作(例えばポンプセルに流れるポンプ電流の値など)が変化する場合がある。その結果、被測定ガスの動圧の変化が特定ガス濃度の検出精度に影響を与える場合がある。そのため、ガスセンサが被測定ガスの動圧によって受ける影響を調べることが望まれている。
【0005】
本発明はこのような課題を解決するためになされたものであり、ガスセンサが被測定ガスの動圧によって受ける影響を調べることを主目的とする。
【課題を解決するための手段】
【0006】
本発明は、上述した主目的を達成するために以下の手段を採った。
【0007】
[1]本発明のガスセンサの試験装置は、
被測定ガス中の特定ガス濃度を検出するためのガスセンサの試験装置であって、
内部空間と、前記内部空間へのガスの入口部と、前記内部空間からのガスの出口部と、前記内部空間のガス中の前記特定ガス濃度を検出可能な態様で前記ガスセンサを取り付け可能なガスセンサ取付部と、を有するチャンバーと、
前記入口部を介して前記内部空間に圧力を供給する圧力供給部と、
前記出口部に接続され、前記内部空間のガスの前記出口部からの排出経路を開閉する開閉機構と、
を備えたものである。
【0008】
この試験装置では、圧力供給部からチャンバーの内部空間に圧力を供給しつつ開閉機構を開くまたは繰り返し開閉することで、内部空間に動圧を発生させることができる。そのため、このときのチャンバーに取り付けられたガスセンサの動作に関する情報を取得することで、動圧とガスセンサの動作との関係を調べることができる。そのため、このガスセンサの試験装置を用いることで、ガスセンサが被測定ガスの動圧によって受ける影響(例えば特定ガス濃度の検出精度への影響)を調べることができる。
【0009】
[2]上述したガスセンサの試験装置(前記[1]に記載のガスセンサの試験装置)は、前記開閉機構を周期的に開閉させる開閉制御部をさらに備えていてもよい。こうすれば、開閉機構を周期的に開閉させることでチャンバーの内部空間に動圧の周期的な変化すなわち脈動を生じさせることができる。そのため、ガスセンサが被測定ガスの脈動によって受ける影響を調べることができる。
【0010】
[3]上述したガスセンサの試験装置(前記[1]または[2]に記載のガスセンサの試験装置)において、前記チャンバーは、前記出口部を複数備え、前記開閉機構は、複数の前記出口部の各々に接続され、前記試験装置は、複数の前記開閉機構のうち2以上を同期して開閉させる開閉制御部を更に備えていてもよい。こうすれば、1つの開閉機構を開くまたは繰り返し開閉する場合と比較してチャンバーの内部空間に大きな動圧を発生させやすい。
(【0011】以降は省略されています)
この特許をJ-PlatPat(特許庁公式サイト)で参照する
関連特許
日本碍子株式会社
空調システム
3日前
日本碍子株式会社
ウエハ載置台
4日前
日本碍子株式会社
電気加熱式担体
8日前
日本碍子株式会社
ハニカム構造体
8日前
日本碍子株式会社
電気加熱式担体
9日前
日本碍子株式会社
ハニカム構造体
9日前
日本碍子株式会社
ハニカム構造体
8日前
日本碍子株式会社
メタン製造反応器
8日前
日本碍子株式会社
ハニカムフィルタ
8日前
日本碍子株式会社
セラミックサセプター
2日前
日本碍子株式会社
三相型ハニカムヒータ
8日前
日本碍子株式会社
センサ素子及びガスセンサ
4日前
日本碍子株式会社
セラミックス試料の酸分解方法
9日前
日本碍子株式会社
浄水膜構造体および浄水膜組立体
9日前
日本碍子株式会社
ハニカム構造体及びハニカムヒータ
8日前
日本碍子株式会社
放射性廃棄物の処理方法及び保管装置
9日前
日本碍子株式会社
半導体製造装置用部材及びその再生方法
8日前
日本碍子株式会社
半導体製造装置用部材及びその再生方法
8日前
日本碍子株式会社
半導体製造装置用部材及びその再生方法
8日前
日本碍子株式会社
トチの検査方法及びハニカム構造体の製造方法
8日前
日本碍子株式会社
金属コンポジット焼結板およびリチウムイオン電池
8日前
日本碍子株式会社
ハニカム構造体、電気加熱式担体及び排気ガス浄化装置
8日前
日本碍子株式会社
ハニカム構造体、成形原料組成物及び多孔質体の製造方法
8日前
日本碍子株式会社
複合基板
4日前
株式会社リコー
ノード、データ共有方法、及びプログラム
8日前
日本碍子株式会社
ガスセンサの試験装置、ガスセンサの試験方法、およびガスセンサの製造方法
9日前
日本碍子株式会社
リジェネレイティブバーナ、工業炉、焼成品の製造方法及び加熱処理品の製造方法
8日前
個人
アクセサリー型テスター
4日前
個人
高精度同時多点測定装置
3日前
ローム株式会社
半導体装置
2日前
長崎県
形状計測方法
4日前
ローム株式会社
半導体装置
2日前
株式会社デンソー
電流センサ
2日前
トヨタ自動車株式会社
測定システム
1日前
コイト電工株式会社
座席濡れ検知装置
8日前
株式会社トプコン
測定装置
8日前
続きを見る
他の特許を見る