TOP
|
特許
|
意匠
|
商標
特許ウォッチ
Twitter
他の特許を見る
公開番号
2025114350
公報種別
公開特許公報(A)
公開日
2025-08-05
出願番号
2024008996
出願日
2024-01-24
発明の名称
半導体製造装置用部材
出願人
日本碍子株式会社
代理人
アクシス国際弁理士法人
主分類
H01L
21/683 20060101AFI20250729BHJP(基本的電気素子)
要約
【課題】ウエハが摺動してもパーティクルを発生させにくいウエハ載置面を有する半導体製造装置用部材を提供する。
【解決手段】ウエハを載置するための複数の突起を有する上面を備えるセラミックス基板であって、前記複数の突起はそれぞれ上端面を有しており、当該上端面が20μm以下の平均粒径をもつセラミックス粒子で構成され、前記複数の突起の破壊靭性値(KIC)が2MPa・m
1/2
以上である半導体製造装置用部材。
【選択図】図2
特許請求の範囲
【請求項1】
ウエハを載置するための複数の突起を有する上面を備えるセラミックス基板であって、前記複数の突起はそれぞれ上端面を有しており、当該上端面が20μm以下の平均粒径をもつセラミックス粒子で構成され、
前記複数の突起の破壊靭性値(KIC)が2MPa・m
1/2
以上である半導体製造装置用部材。
続きを表示(約 140 文字)
【請求項2】
前記セラミックス粒子がアルミナ及び窒化アルミニウムから選択される一種又は二種を含有する請求項1に記載の半導体製造装置用部材。
【請求項3】
前記複数の突起の上端面の算術平均粗さRaが0.8μm以下である請求項1又は2に記載の半導体製造装置用部材。
発明の詳細な説明
【技術分野】
【0001】
本発明は半導体製造装置用部材に関する。
続きを表示(約 2,200 文字)
【背景技術】
【0002】
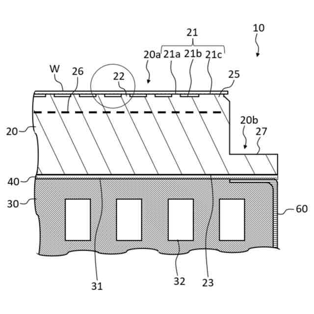
従来、ウエハの保持、温度制御、搬送等のために用いられる半導体製造装置用部材が知られている。この種の半導体製造装置用部材はウエハ載置台、静電チャック、サセプタ等とも称されており、内蔵する電極に静電吸着用電力を印加し、ウエハを静電力によって吸着する機能を有するのが一般的であり、ウエハ載置面と吸着対象物であるウエハの間にガスを流すことでウエハの温度を制御する機能を有するものも知られている。
【0003】
半導体製造装置用部材として、例えば、ウエハを載置可能な上面と、下面とを有し、電極を内蔵するセラミックス基板、及び、セラミックス基板の下面側に位置し、冷媒流路を内蔵するベースプレートを備えるものが知られている。ウエハを載置可能な上面には、ウエハを支える複数の突起が設けられる。
【0004】
特許文献1には、第1のセラミックス粒子で形成されるチャック本体(「セラミックス基板」に相当)の基板対向面(「ウエハを載置可能な上面」に相当)に複数の凸部(「突起」に相当する)が形成されることが記載されている。特許文献1には、凸部の少なくとも先端側層を除いた部分は、粒子の長径が20μm以上2000μm以下の第2のセラミックス粒子で形成され、気孔率が0.1%以上1.0%以下であることが記載されている。更に、特許文献1には、凸部の最先端面の表面粗さは、算術平均粗さRaで0.01μm以下であること、凸部それぞれの先端側層は光を透過する単結晶板又は多結晶板であること、及び、凸部それぞれは、先端側層を含む全体が、粒子の長径が20μm以上2000μm以下の第2のセラミックス粒子で形成され、気孔率が0.1%以上1.0%以下であること等が記載されている。
【0005】
特許文献1には発明の効果について以下のように記載されている。
各凸部の根元側層が、大きなセラミックス粒子で緻密に形成されている。セラミックス粒子が大きいとセラミックス粒子の粒子界面が広く、また、気孔率が小さく緻密であると、セラミックス粒子間の結合が強い。したがって、プラズマを用いてプラズマ処理チャンバ内のドライクリーニングを行ったときに、根元側層を構成するセラミックス粒子が脱落するのを抑制することができるので、静電チャックからのパーティクルの発生を抑制することができる。
基板支持面となる最先端面の表面粗さが、算術平均粗さRaで0.01μm以下であると、基板Wを静電チャックに静電吸着したときに、基板Wから基板支持面に局所的に大きな力が加わり、凸部が破損することを抑制することができる。また、破損により凸部と基板Wとの接触状態が変化し基板Wと静電チャックとの間の熱伝導性が変化することを抑制することができる。
凸部が、最先端面を含め、粒子の長径が20μm以上2000μm以下という比較的大きな第2のセラミックス粒子で形成されていると、セラミックス粒子の粒子界面が広いため、最先端面と基板Wとの接触や、プラズマを用いたプラズマ処理チャンバ内のドライクリーニングによる、最先端面からの脱粒を抑制することができる。
【先行技術文献】
【特許文献】
【0006】
特開2023-31112号公報
【発明の概要】
【発明が解決しようとする課題】
【0007】
ウエハは、突起の上端面と接触しているときに、熱膨張等によって突起の上端面に対して摺動する場合があり、この際に突起の上端面を構成するセラミックス粒子が脱粒するおそれがある。セラミックス粒子が脱粒するとパーティクルとしてウエハに付着し、半導体の品質に影響を及ぼして歩留まりを低下させる可能性がある。特許文献1では、ウエハを支える突起(凸部)の最先端面の表面粗さ、凸部の粒子の長径、及び凸部の気孔率に着目して静電チャックからのパーティクルの発生を抑制することを狙っているが、未だ改善の余地が残されている。
【0008】
上記事情に鑑み、本発明は一実施形態において、ウエハが摺動してもパーティクルを発生させにくいウエハ載置面を有する半導体製造装置用部材を提供することを課題とする。
【課題を解決するための手段】
【0009】
本発明者は上記課題を解決すべく鋭意検討し、以下に例示される本発明を創作した。
【0010】
[態様1]
ウエハを載置するための複数の突起を有する上面を備えるセラミックス基板であって、前記複数の突起はそれぞれ上端面を有しており、当該上端面が20μm以下の平均粒径をもつセラミックス粒子で構成され、
前記複数の突起の破壊靭性値(KIC)が2MPa・m
1/2
以上である半導体製造装置用部材。
[態様2]
前記セラミックス粒子がアルミナ及び窒化アルミニウムから選択される一種又は二種を含有する態様1に記載の半導体製造装置用部材。
[態様3]
前記複数の突起の上端面の算術平均粗さRaが0.8μm以下である態様1又は2に記載の半導体製造装置用部材。
【発明の効果】
(【0011】以降は省略されています)
この特許をJ-PlatPat(特許庁公式サイト)で参照する
関連特許
日本碍子株式会社
蒸発器
1日前
日本碍子株式会社
熱交換器
1か月前
日本碍子株式会社
熱交換器
2か月前
日本碍子株式会社
把持方法
1か月前
日本碍子株式会社
空調システム
1か月前
日本碍子株式会社
回収システム
1日前
日本碍子株式会社
ウエハ載置台
1か月前
日本碍子株式会社
亜鉛二次電池
1か月前
日本碍子株式会社
電気化学セル
23日前
日本碍子株式会社
ハニカム構造体
1か月前
日本碍子株式会社
ハニカム構造体
1か月前
日本碍子株式会社
電気加熱式担体
1か月前
日本碍子株式会社
ハニカム構造体
2か月前
日本碍子株式会社
電気加熱式担体
1か月前
日本碍子株式会社
ハニカム構造体
1か月前
日本碍子株式会社
ハニカム構造体
2か月前
日本碍子株式会社
ハニカム構造体
1か月前
日本碍子株式会社
ハニカムフィルタ
1か月前
日本碍子株式会社
アルカリ二次電池
2か月前
日本碍子株式会社
メタン製造反応器
1か月前
日本碍子株式会社
セラミックヒータ
2日前
日本碍子株式会社
車両用空調システム
1日前
日本碍子株式会社
車両用調湿システム
1日前
日本碍子株式会社
導波素子の製造方法
2か月前
日本碍子株式会社
三相型ハニカムヒータ
1か月前
日本碍子株式会社
ウォーキングビーム炉
1か月前
日本碍子株式会社
セラミックサセプター
1か月前
日本碍子株式会社
浄水膜構造体の製造方法
1か月前
日本碍子株式会社
半導体製造装置用ヒータ
1か月前
日本碍子株式会社
センサ素子及びガスセンサ
1か月前
日本碍子株式会社
セラミックス部材の製造方法
1か月前
日本碍子株式会社
センサ素子およびガスセンサ
1か月前
日本碍子株式会社
ロボットハンドおよびロボット
1か月前
日本碍子株式会社
ロボットハンドおよびロボット
1か月前
日本碍子株式会社
AlN単結晶基板及びデバイス
2か月前
日本碍子株式会社
セラミックス試料の酸分解方法
1か月前
続きを見る
他の特許を見る